Check the diagrams below the remove procedure
REMOVAL PROCEDURE
CAUTION: Refer to Battery Disconnect Caution in Service Precautions.
Disconnect the negative battery cable.
Disable the supplemental inflatable restraints (SIR) system. Refer to Disabling the SIR System in Air Bags and Seat Belts.
Remove the steering column shrouds. Refer to Steering Column Trim Cover Replacement - On Vehicle.

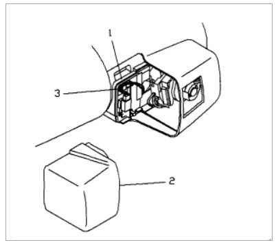
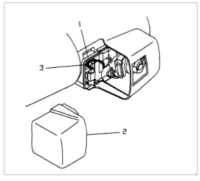
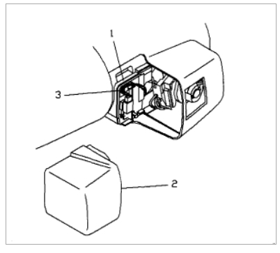
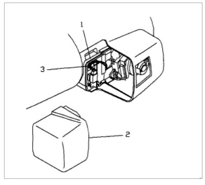
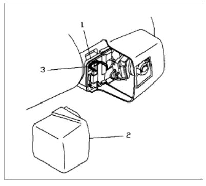
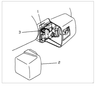
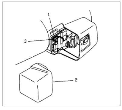
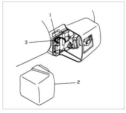
Turn the ignition lock cylinder (1) to the RUN position.

Push the locking button (2) on the rear of the housing assembly (1).
Remove the ignition lock cylinder by pulling outward from the steering column.

Disconnect the electrical connector (3) from the ignition lock cylinder (1).
Also read the guide below, it will help you get this done
https://www.2carpros.com/articles/ignition-switch-wont-turn-stuck
Check out the diagrams (Below). Please let us know if you need anything else to get the problem fixed.
Images (Click to make bigger)
Thursday, September 16th, 2010 AT 6:46 AM