Where are the Transmission Solenoid and Control Board located?

Tiny
CHIEFKEITHDD3
  • MEMBER
  • 2005 SATURN L300
  • V6
  • 2WD
  • AUTOMATIC
  • 85,000 MILES
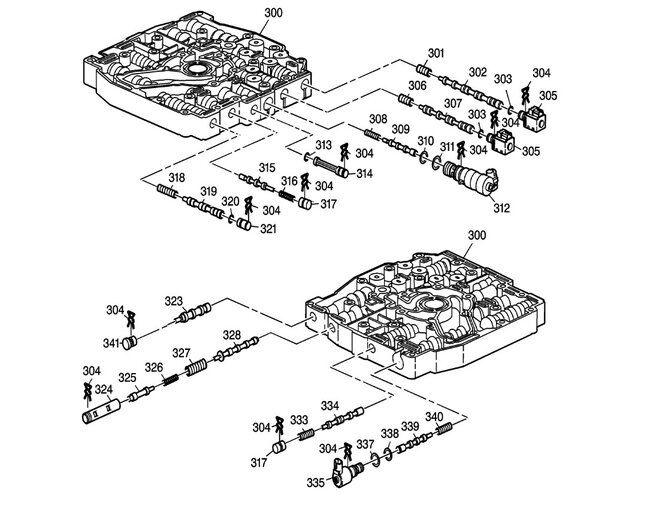
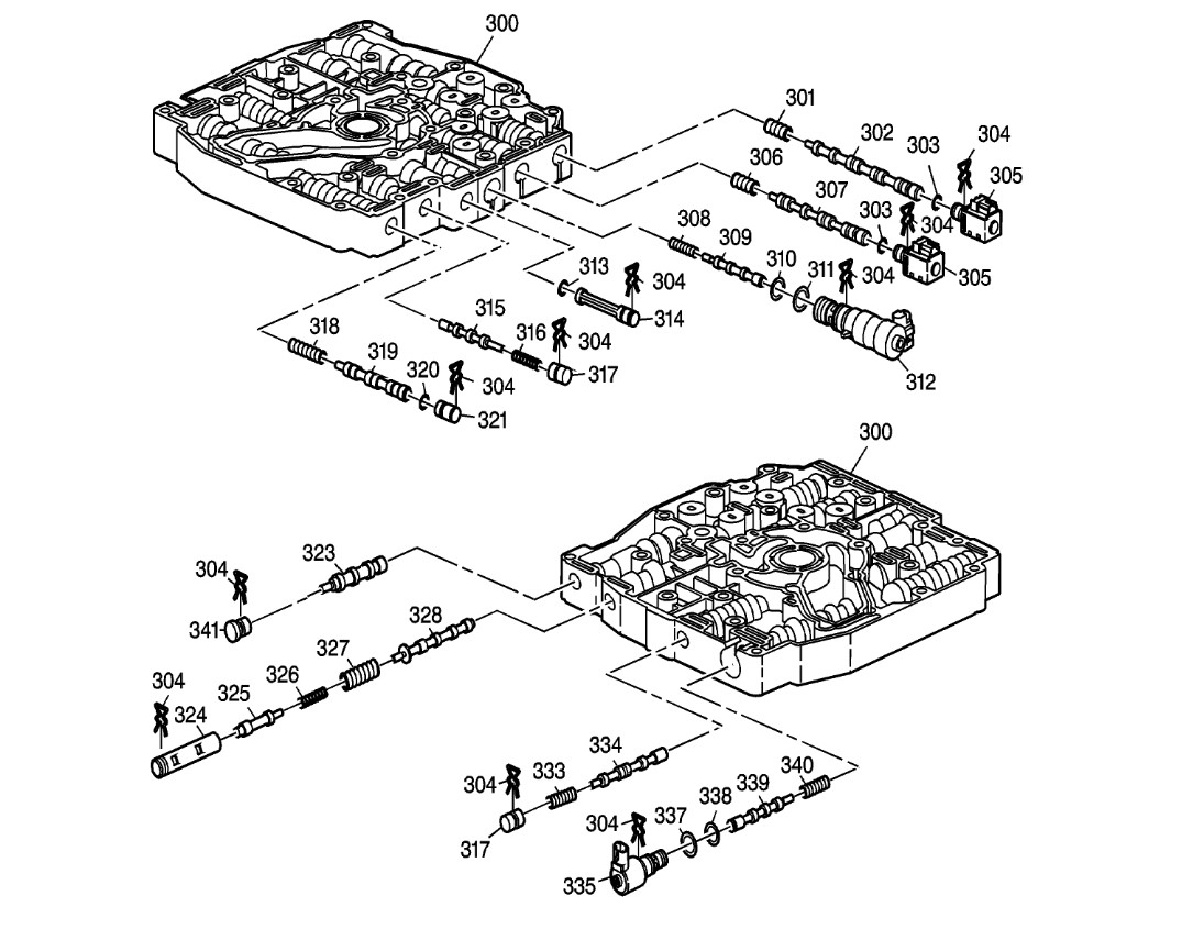
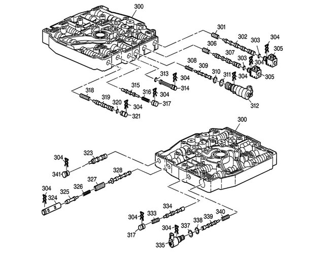
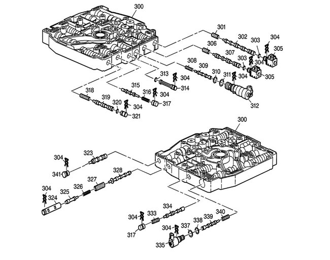
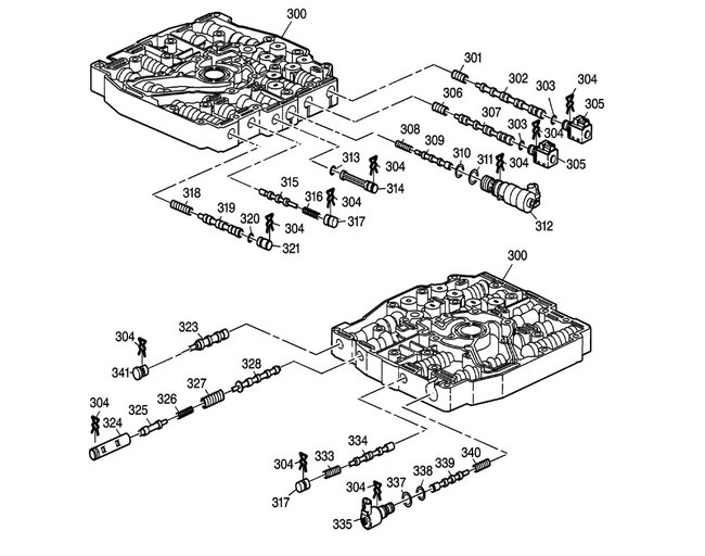
Hey, I’m trying to replace my automatic transmission solenoid. I already found the diagram which I have attached to this question. I know how to replace the solenoids and board; however, I don’t know where exactly they are on the car. I need to know where under the hood/car they are exactly. I haven’t been able to find any source telling me where they are.
Friday, June 20th, 2025 AT 4:11 AM

6 Replies

Tiny
CHIEFKEITHDD3
  • MEMBER
  • 4 POSTS
Here is the diagram.
Was this
answer
helpful?
Yes
No
Friday, June 20th, 2025 AT 4:21 AM
Tiny
STEVE W.
  • MECHANIC
  • 15,671 POSTS
They are inside the transmission attached to the valve body under the access cover. You need to drain the transmission, remove the cover and you will see the solenoids where they mount.
Was this
answer
helpful?
Yes
No
Friday, June 20th, 2025 AT 3:48 PM
Tiny
CHIEFKEITHDD3
  • MEMBER
  • 4 POSTS
Are you sure about that? All the information I have managed to find implies the components in the diagram I sent are next to the engine. I’ve been told the repair requires me to remove a side panel, and I’ve found no mention of having to drain my transmission in order to switch them out.
Was this
answer
helpful?
Yes
No
Saturday, June 21st, 2025 AT 1:24 AM
Tiny
STEVE W.
  • MECHANIC
  • 15,671 POSTS
100 percent sure. The solenoids are mounted to the valve body that is inside the transmission. They move the shuttles in the valve body to change the fluid flow and pressures that make the system operate. That valve body looks like the attached and is under the cover on the transmission. Your car uses a 4T40 transaxle and the valve body is under the side cover. You need to drain the fluid, remove the left side axle and then remove the cover to get to the valve body where the solenoids are. Generally, most information on that vehicle also assumes you have removed the transmission first as there isn't enough room to get the side cover off in most applications that use that transaxle.

This is a tear down of that transmission:
https://www.youtube.com/watch?v=2WzF1q3hZHs

at around the 4-minute mark you will see the side cover come off and the solenoids under it. Notice the hole with the stub shaft on the right side of the image? That shaft is where the left side drive axle inner tri-pot joint goes. You can also see how deep the cover is, and how far it needs to some off to get to the solenoids.

Was this
answer
helpful?
Yes
No
+2
Saturday, June 21st, 2025 AT 3:30 AM
Tiny
CHIEFKEITHDD3
  • MEMBER
  • 4 POSTS
Would I need to fully drain the transmission in order to change this part? Or do I just have to remove the oil pan?
Was this
answer
helpful?
Yes
No
Wednesday, June 25th, 2025 AT 6:16 PM
Tiny
STEVE W.
  • MECHANIC
  • 15,671 POSTS
I pull the pan off and generally plan on changing fluid and filter whenever I do transmission repairs. That gives the best hope for the repairs normally. In this case you want the fluid out of it because of needing to pull the axle to remove the cover.
Was this
answer
helpful?
Yes
No
Thursday, June 26th, 2025 AT 7:54 PM

Please login or register to post a reply.