Saturday, July 26th, 2025 AT 11:59 AM
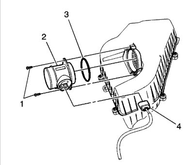
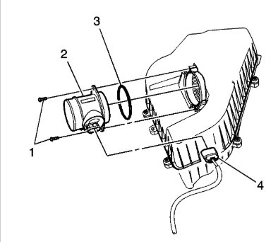
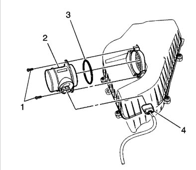
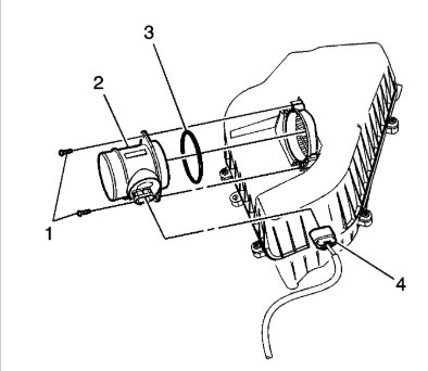
(IAT) sensor 1location, Mass or volume airflow circuit location these are the troubled codes when I ran diagnostic I'm trying to see what I have to replace.


