HOME
ASK A QUESTION
REPAIR GUIDES
BECOME A MEMBER
LOG IN
Login with Facebook
OR
Remember me
NOT A MEMBER?
FORGOT PASSWORD?
CONTACT US
PRIVACY POLICY
TERMS AND CONDITIONS
☰
Home
Lincoln
LS
Fuel System
Fuel Filter
Replace/Remove
2002 Lincoln LS
LEEGEE_02
MEMBER
2002 LINCOLN LS
2002 Lincoln LS V8 114, 00 miles
Can you please tell me. Where is my fuel filter located?
Friday, January 8th, 2010 AT 12:45 AM
1 Reply
RASMATAZ
MECHANIC
75,992 POSTS
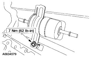
The fuel filter is located in the left front wheel well.
Was this
answer
helpful?
Yes
No
+1
Friday, January 8th, 2010 AT 3:14 AM
Please
login
or
register
to post a reply.
Related Fuel System Fuel Filter Replace/Remove Content
2000 Lincoln Ls Fuel Filter
How Do You Change Fuel Filter
Asked by
bigrick20
·
1 ANSWER
2000
LINCOLN LS
Car******** And Hesitating When Driving
About A Year Ago I Had To Get A New Fuel Pump And A Secondary Fuel Pump. It Is A 2002 Lincoln Ls. My Mileage Dropped Little By Little Every...
Asked by
leesa
·
1 ANSWER
2002
LINCOLN LS
2000 Lincoln Ls Fuel Pump
How Do You Get The Fuel Lines Off Of The Fuel Sending Unit, The Ones On The Outside Of The Tank?
Asked by
g8rh8r
·
1 ANSWER
2000
LINCOLN LS
2005 Lincoln Ls Car Problems
I Have A 2005 Lincoln Ls I Wanted To Know Why When I Turn The A/c On The Car Starts To Stall And Feel Like It Wants To Shut Off. Also When I...
Asked by
redden3
·
1 ANSWER
2005
LINCOLN LS
Ask a Car Question. It's Free!
Replace Fuel Filter Chevrolet S-10
Tune up
Fuel Pump Pressure Test