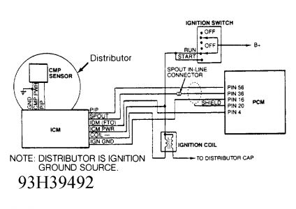
1993 Lincoln Continental 6 cyl Front Wheel Drive Automatic 124K miles
i have just got a 93 lincoln continental. It runs ruff, sometimes it doesn't run at all. Computers fine, new coil. It has intermittnt spark. Fuel pressuers good. Would the ignition pickup have anything to do with the intermittnt spark. And stalls
Sunday, November 9th, 2008 AT 5:25 PM


