Leaking coolant

Tiny
ROD EDLUND
  • MEMBER
  • 2002 GMC SONOMA
  • 4.3L
  • V6
  • 2WD
  • AUTOMATIC
  • 146,000 MILES
Intake gasket replaced 1500km ago by dealer looking for cheaper fix. Is BarsAll Engine Stopleak compatable with aluminum intake and cast iron block
Wednesday, October 2nd, 2019 AT 7:00 PM

1 Reply

Tiny
SCGRANTURISMO
  • MECHANIC
  • 4,897 POSTS
Hello,

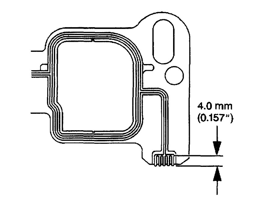
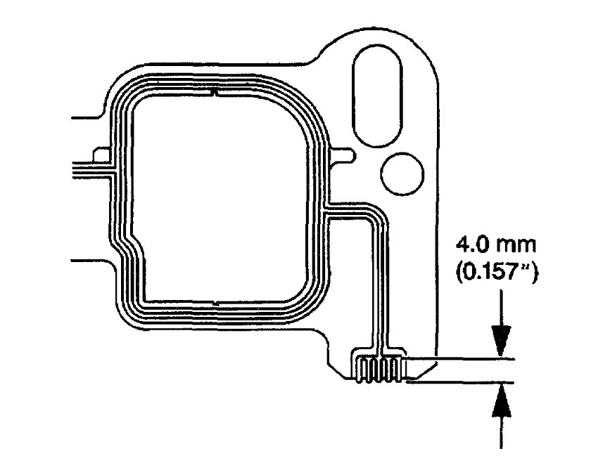
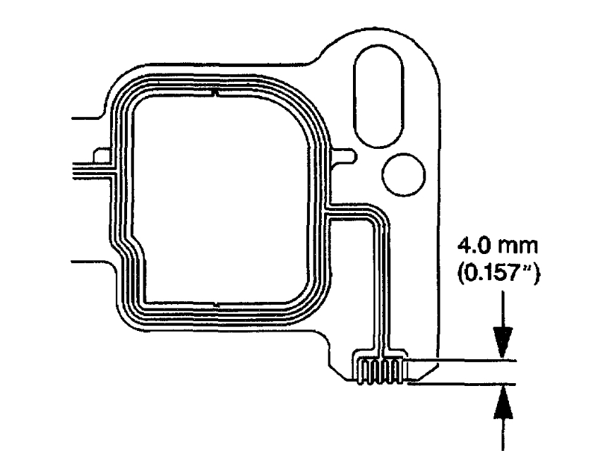
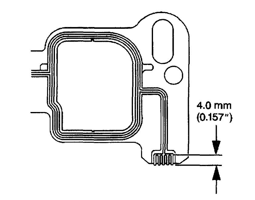
The intake manifold is not part of your vehicle's cooling system, so using BarsAll will not fix the intake manifold gasket at all. Also, if your vehicle's intake manifold gasket was replaced by the dealership 1500 KM. Ago and it is already failing, I would take my vehicle back and have it replaced under warranty. In the diagrams down below I have included a description of your vehicle's cooling system components and operation as well as the step by step instructions for the removal and installation of your vehicle's intake manifold gasket for you. Please go through these guides and let us know how everything turns out.

Thanks,
Alex
2CarPros
Was this
answer
helpful?
Yes
No
Saturday, October 5th, 2019 AT 12:21 AM

Please login or register to post a reply.