Key will not turn

Tiny
JACOB LEGAUX
  • MEMBER
  • 2008 VOLKSWAGEN JETTA
  • 2.5L
  • 5 CYL
  • 2WD
  • AUTOMATIC
  • 127,734 MILES
Key will not turn to start the car. Last night the car did not turn off because the key would not turn to shut off.
Wednesday, October 3rd, 2018 AT 3:15 PM

1 Reply

Tiny
KEN L
  • MASTER CERTIFIED MECHANIC
  • 55,291 POSTS
Hello,

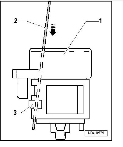
This means the ignition key and lock tumbler needs to be replaced. Get the new unit from the dealer and bring your VIN so then can program it. Here are diagrams so you can change the part out.

Check out the diagrams (below). Let us know what happens and please upload pictures or videos of the problem.

Cheers, Ken
Was this
answer
helpful?
Yes
No
Saturday, October 6th, 2018 AT 3:34 PM

Please login or register to post a reply.