Saturday, July 8th, 2017 AT 3:20 PM
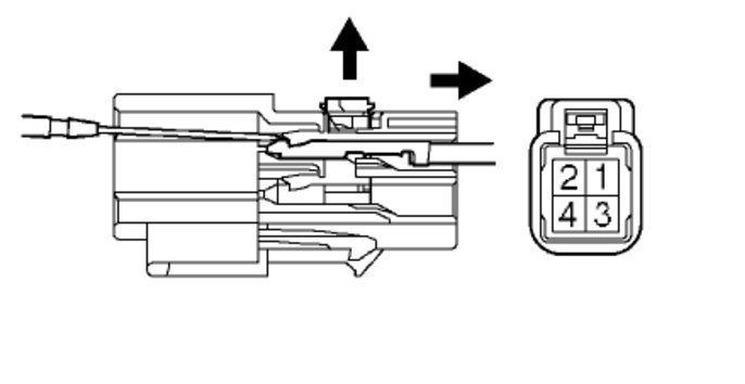
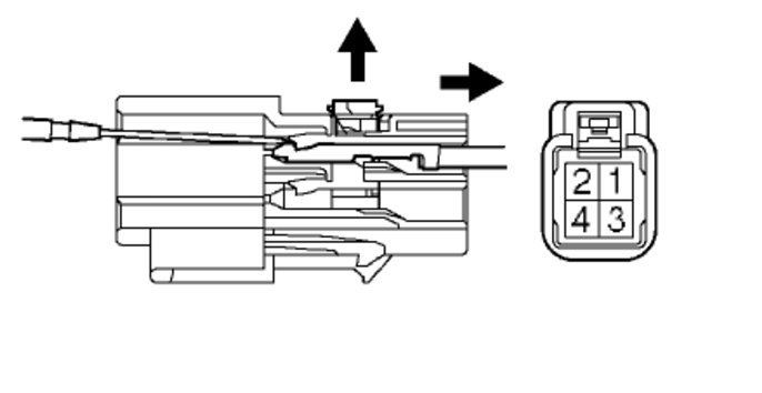
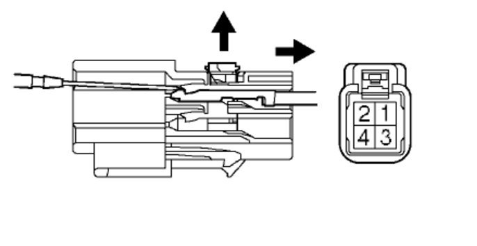
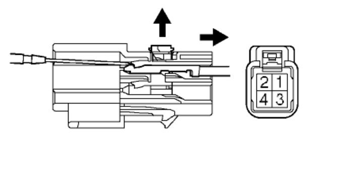
My key is forever stuck in accessory mode. The only way the key will come out is if the battery is completely drained. I do not have he funds to get the key ignition fixed right now. I was wonder where the fuel pump fuse is located so I can unplug it and undo the negative battery side.








