Key stuck in acc

2000 SUZUKI GRAND VITARA
167,000 MILES • 2.0L • V6 • 4WD • AUTOMATIC
Avatar
CHRISTOPHER DURHAM
  • MEMBER
  • 1 POST
Key wont go to lock position to allow me to remove it.
Jan 22, 2019 at 10:34 AM
Repair Safety Notice: This information is for general instructional purposes only. Vehicle repair can be dangerous. Verify all information, follow manufacturer service procedures, use proper tools and safety equipment, and consult a qualified repair shop when needed.
Advertisement
Avatar
STRAILER
  • CAR REPAIR CONTRIBUTOR
  • 54,193 POSTS
Hello,

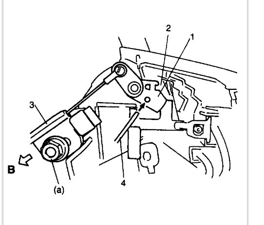
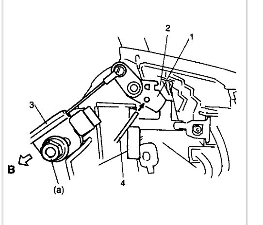
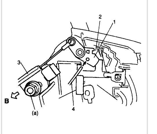
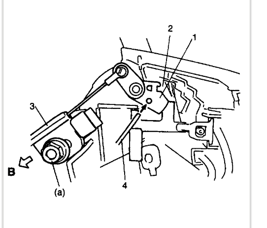
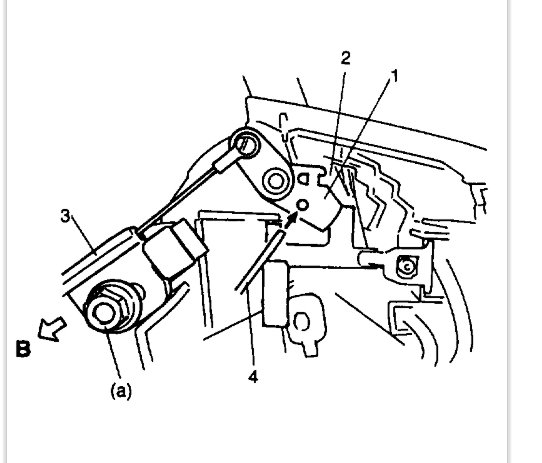
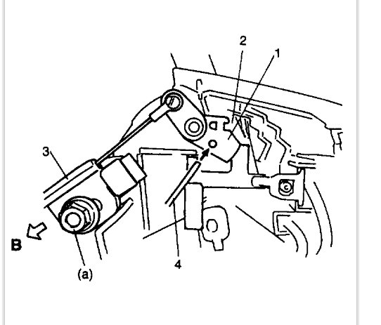
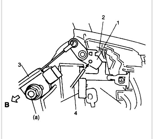
First make sure the gear selector is all the way in park. If okay this can be caused by the shift interlock cable being out of adjustment or broken here are instructions and diagrams to show you what to look for when checking and replacing the cable. Check out the diagrams (Below). Please let us know what you find. We are interested to see what it is.
Jan 23, 2019 at 12:26 PM
Advertisement