Friday, September 13th, 2019 AT 2:58 PM
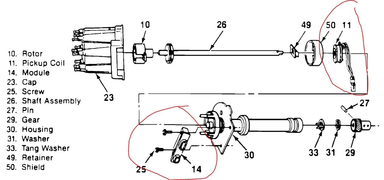
I'm completely lost. I've replaced the coil, wires, plugs, distributor cap and a rotor. New fuel pump and sending unit. New fuel filter. Truck will run and idle good for awhile then it will bog down and then shuts off. Once that happens its extremely hard to restart. After a few hours it will fire right up. While driving it will run pretty well. Until you go to stop then sometimes it will shut off. And again very hard to restart if it will at all. Oil is new. There is no white smoke or milky looking oil to indicate piston rings. I pulled the IAC and it was black. Cleaned it and still nothing. Please help. Thanks




