HOME
ASK A QUESTION
REPAIR GUIDES
BECOME A MEMBER
LOG IN
Login with Facebook
OR
Remember me
NOT A MEMBER?
FORGOT PASSWORD?
CONTACT US
PRIVACY POLICY
TERMS AND CONDITIONS
☰
Home
Chevrolet
S-10
Electrical
Ignition Switch
Not Turning
Ignition switch will not turn on
DILL-11
MEMBER
2003 CHEVROLET S-10
4.3L
V6
2WD
AUTOMATIC
510,000 MILES
Switch stuck will not turn on or back truck in park. No buzzer sound with key in switch.
Tuesday, August 1st, 2017 AT 7:39 PM
1 Reply
KEN L
MASTER CERTIFIED MECHANIC
55,281 POSTS
Hello,
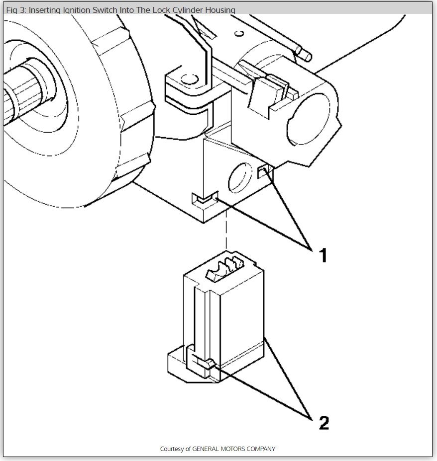
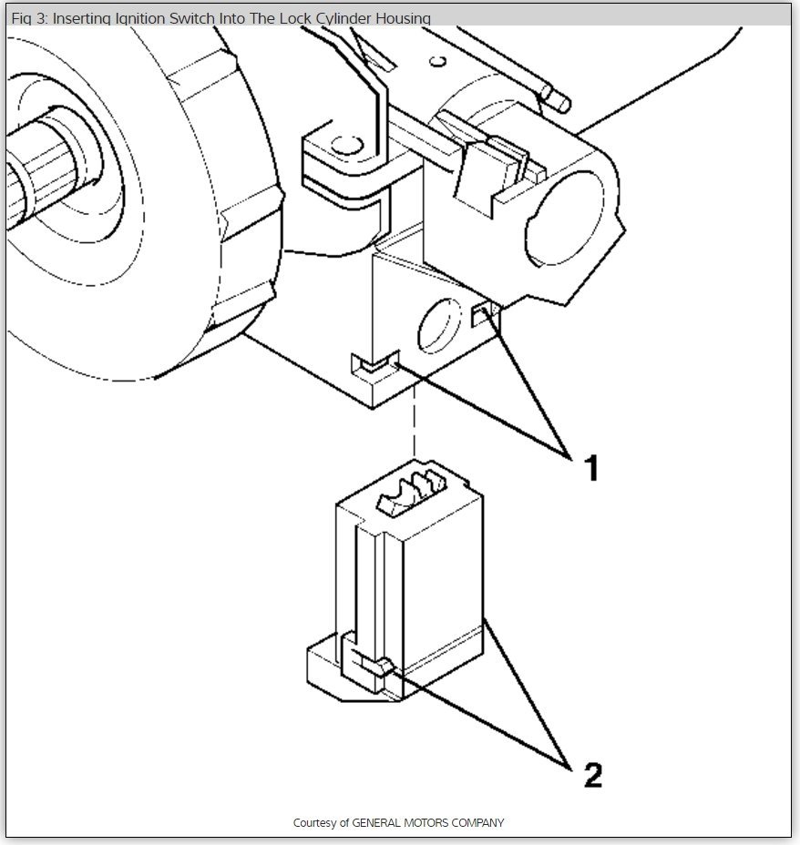
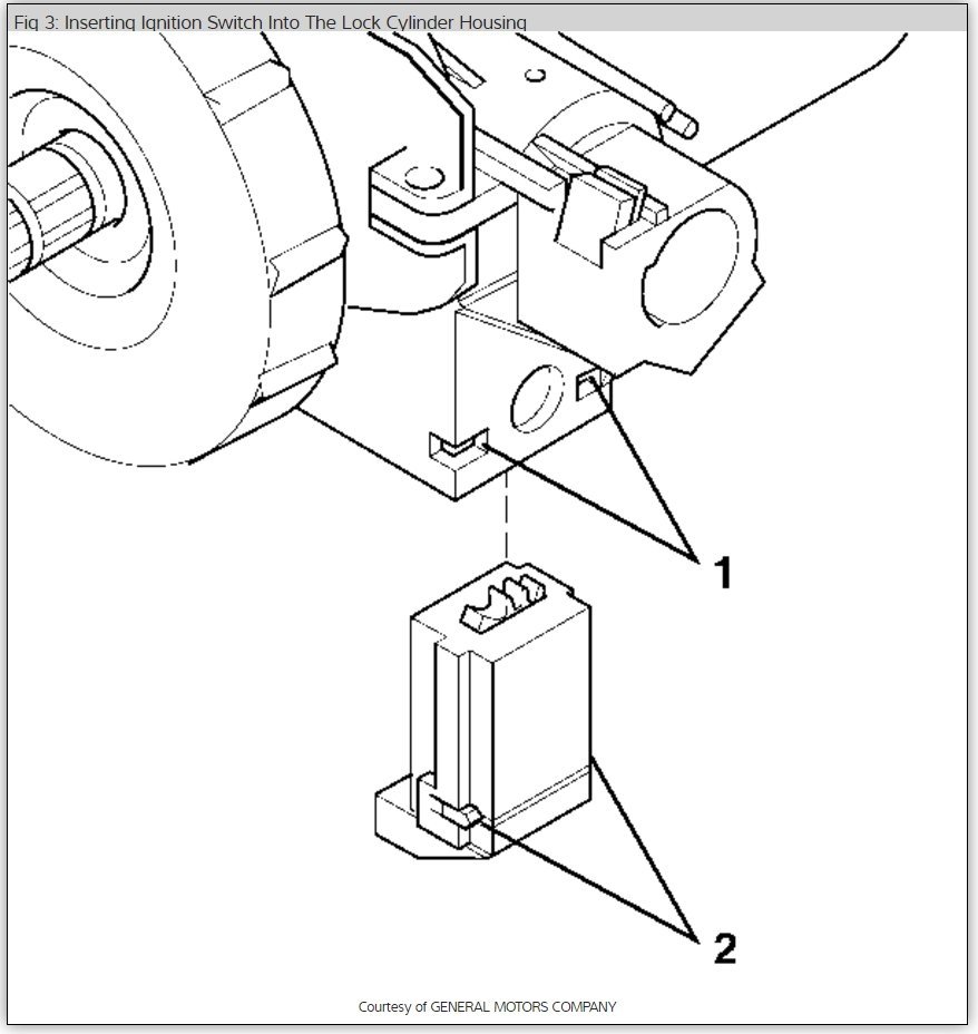
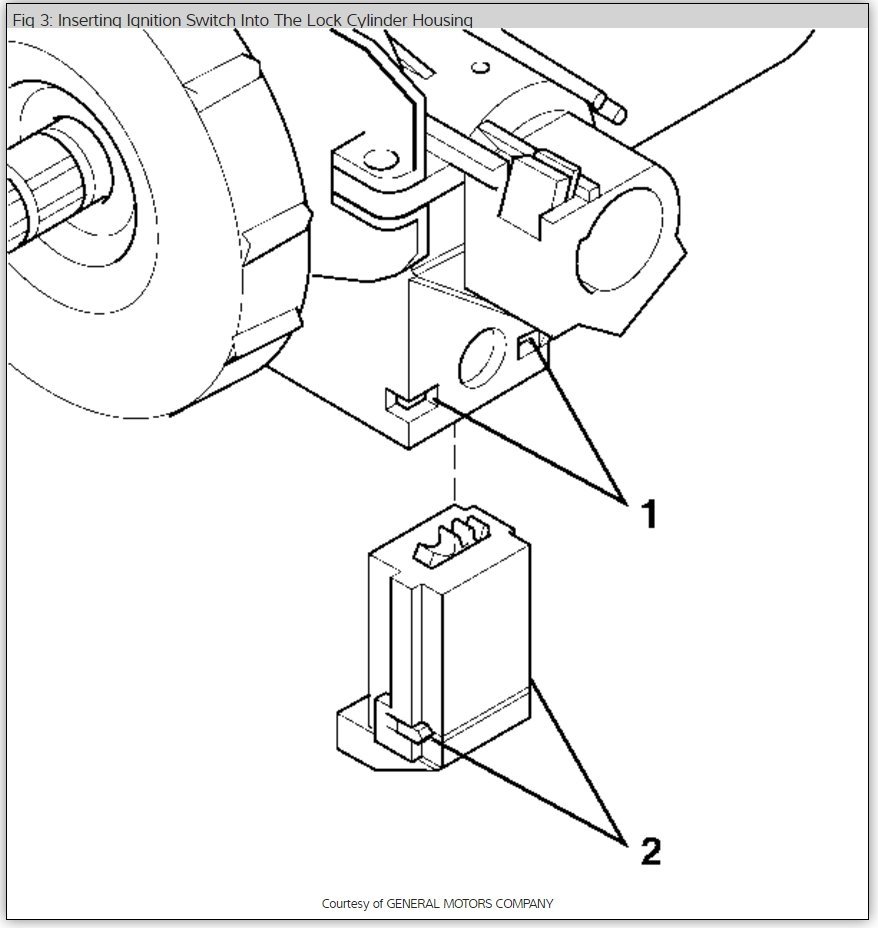
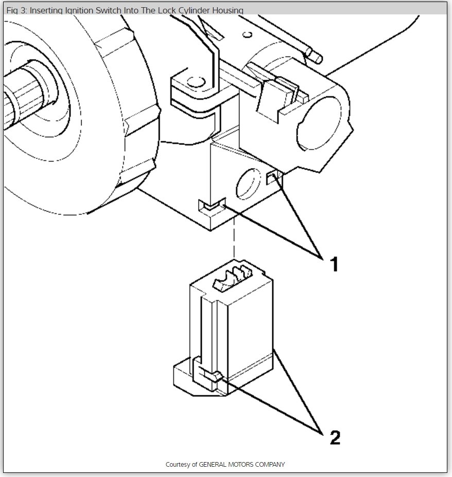
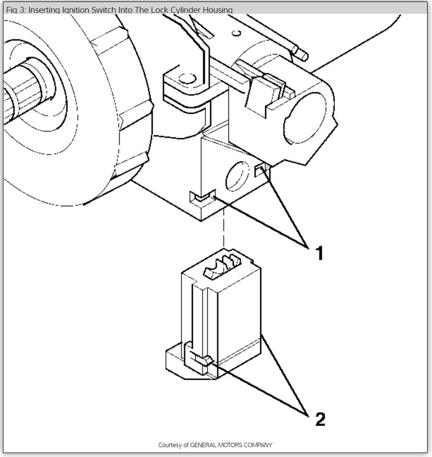
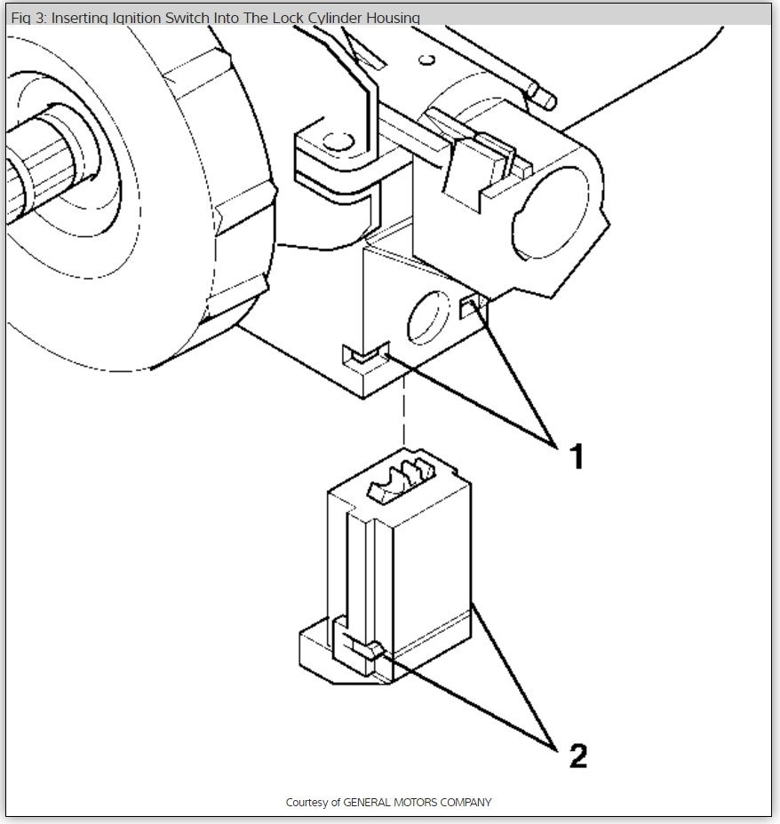
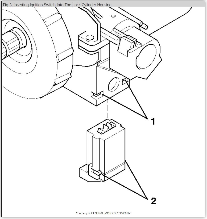
It sounds like the ignition lock has gone bad which is common. Here are some guides to help you get the problem fixed.
You will need to have the key programmed at the dealer.
Please let us know what happens.
Cheers, Ken
Images (Click to make bigger)
Was this
answer
helpful?
Yes
No
Tuesday, May 4th, 2021 AT 1:31 PM
Please
login
or
register
to post a reply.
Related Ignition Switch Not Turning Content
When Turn Key No Sounds At All - Starter Is Not...
My Car Has Started When I Try Over And Over Until Yesterday Now It Wont Start At All. I Replaced The Battery A Couple Of Weeks Ago. Cleaned...
Asked by
Baibeckk
·
1 ANSWER
11 IMAGES
2000
CHEVROLET S-10
1983 Chevrolet S-10 Need Ignition Keys
Where Can I Get A Copy Of My Lost Keys? Dealership?
Asked by
sistersuz
·
1 ANSWER
1983
CHEVROLET S-10
I Need To Run A Wire From The Fuel Pump To The...
Something Chewed Through The Wires So I Need To Run A Wire From The Fuel Pump To The Ignition Switch
Asked by
dexterturner0910
·
3 ANSWERS
1988
CHEVROLET S-10
Turn Key, Hold And Wait.
2001 Chevy S10, 4 Cylinder, Automatic, 2wd With 60,000 Miles. Fires Up Every Morning With No Problem, But When You Take A Short Drive...
Asked by
RolfLisa
·
1 ANSWER
CHEVROLET S-10
1988 Chevy S-10 Ignition Switch
Electrical Problem 1988 Chevy S-10 6 Cyl Two Wheel Drive Automatic How Do I Install A New Ignition Switch? The Old One Is Getting Hard...
Asked by
ErickD
·
3 ANSWERS
1988
CHEVROLET S-10
VIEW MORE
Ask a Car Question. It's Free!