Intermittently the ignition key will not turn all the way back, cannot remove the key

Tiny
GOLDENHAWK
  • MEMBER
  • 2000 BUICK REGAL
  • 3.8L
  • 6 CYL
  • AUTOMATIC
  • 115,000 MILES
At times when I turn the engine off the ignition key will not turn all the way back so I can take the key out.
Monday, July 4th, 2022 AT 12:15 PM

3 Replies

Tiny
KEN L
  • MASTER CERTIFIED MECHANIC
  • 55,361 POSTS
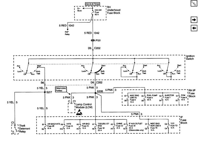
When this happens can you cycle the gear shifter to see if the key comes out? This can be one of two things, either the shift cable is worn out or the ignitions which is worn out if you upload a video with our response I can tell for sure. Here is how to change out the shift cable and the ignition switch int the diagrams below. Check out the diagrams (below). Let us know what happens and please upload pictures or videos of the problem.
Was this
answer
helpful?
Yes
No
Tuesday, July 5th, 2022 AT 11:33 AM
Tiny
GOLDENHAWK
  • MEMBER
  • 2 POSTS
When this happens I have to work the floor shifter back and forth from park to all the way back and back to park again until I am able to turn the ignition switch all the way off then I can take the ignition key out. This doesn't happen all the time. It might go for days and no problems. And some days it might do it every time I turn the car off.
.
Was this
answer
helpful?
Yes
No
+1
Tuesday, July 5th, 2022 AT 7:27 PM
Tiny
KEN L
  • MASTER CERTIFIED MECHANIC
  • 55,361 POSTS
It sure sounds like the shift cable has stretched, that is where I would start.
Was this
answer
helpful?
Yes
No
+1
Wednesday, July 6th, 2022 AT 4:47 PM

Please login or register to post a reply.