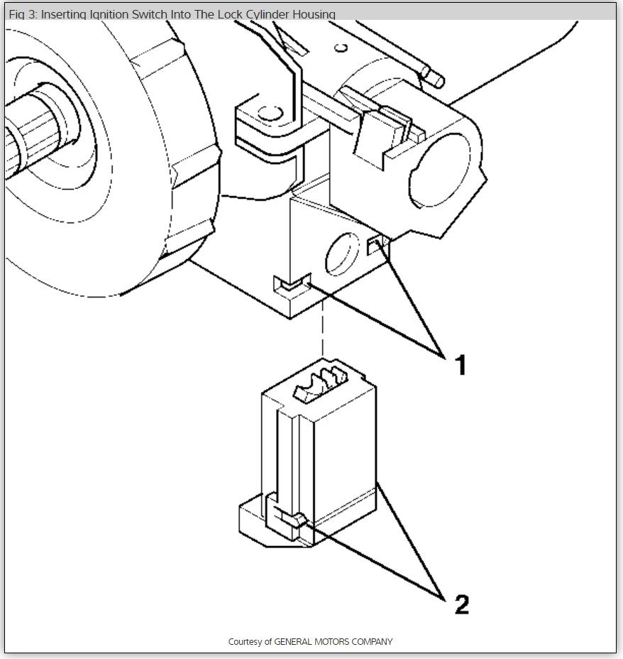
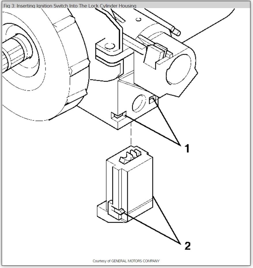
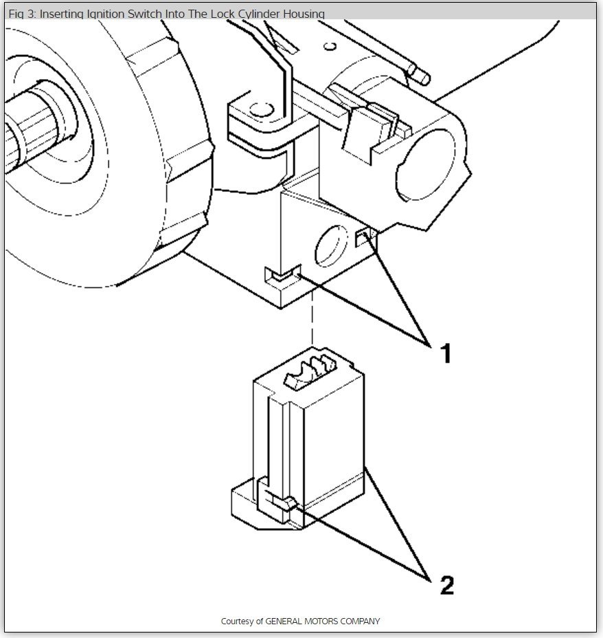
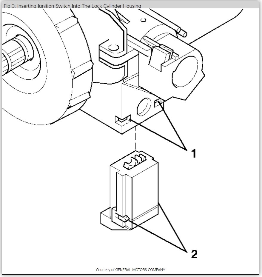
I have gone as far as trying to replace the cylinder switch, but cannot get the switch to release because the key is stuck in inserted position the linchpin underneath will not allow me to release the cylinder from the plastic holder. Therefore I cannot pull it out to install the new cylinder.
What do you recommend?
Saturday, July 8th, 2017 AT 1:53 PM










