Monday, July 24th, 2017 AT 3:24 PM
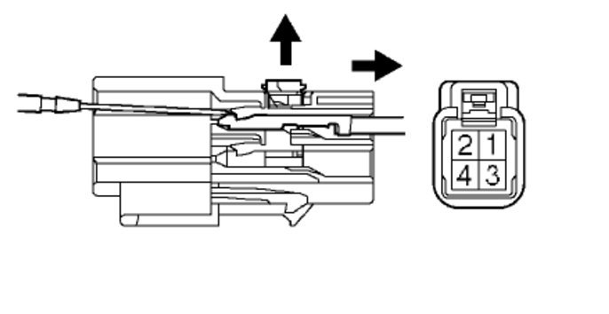
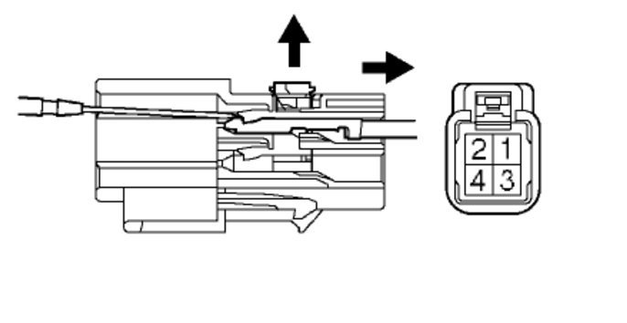
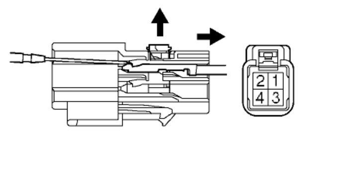
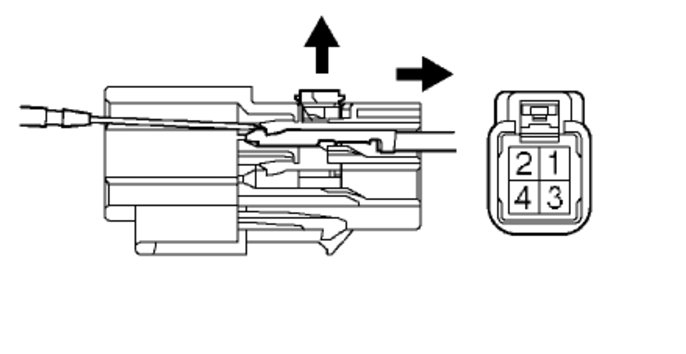
I stopped my car put it into park and turned the key to lock and pulled the key out. As soon as I pulled the key out it started beeping. To turn off the beeping I pressed the lock/unlock buttons numerous times and the beeping stopped. I did notice then that the steering wheel does not lock as before. Then when I tried to restart the engine I can put the key into the ignition but it will not turn; not even a tiny bit. It is acting as if the steering wheel is locked but strangely it is not. I got my spare key out and it still will not turn in the ignition.








