Ignition stripped

Tiny
PATTYRN
  • MEMBER
  • 2006 HUMMER H2
  • V8
  • 4WD
  • AUTOMATIC
  • 70,000 MILES
I have no problem putting the key in or taking it out but it turns just like it is stripped. It does not go through auxiliary, run or start. It does not start the vehicle and when I turn the key back as if to shut it off, the radio still runs and the battery light is on. I think that it is right where the key goes in but am not sure. Any ideas?
Sunday, September 16th, 2018 AT 3:38 PM

1 Reply

Tiny
JACOBANDNICKOLAS
  • MECHANIC
  • 110,192 POSTS
Hi and thanks for using 2CarPros. Com.

It sounds like either the ignition switch or the lock cylinder is bad. You will need to take the components apart to inspect for damage. I have attached directions for both switch replacement and lock cylinder replacement. The first directions start with the switch. The first eight pictures correlate with these directions.

________________________________________

IGNITION SWITCH REPLACEMENT
Ignition Switch Replacement

Tools Required
- J 42759 Ignition Switch Connector Release Tool

Removal Procedure
1. Disconnect the negative battery cable.

2. Caution: Refer to Restraint System Caution in Service Precautions.

Disable the SIR system. Refer to SIR Disabling and Enabling Zone 3.
3. Remove the hush and knee bolster.
4. Remove the steering column trim covers.
5. With the key installed, turn the key to the RUN position.
6. Install an allen wrench into the hole on top of the lock cylinder housing.
7. Push down on the allen wrench to release the tab on the lock cylinder inside the lock cylinder housing.
8. Slide the lock cylinder out of the lock cylinder housing.
9. Disconnect the passlock and key buzzer from the lock cylinder housing.
10. Insert J 42759 into the lock cylinder housing to release the tabs on the ignition switch.
11. Pull the ignition switch out of the lock cylinder housing.
12. Disconnect the connector from the ignition switch.

Installation Procedure
1. Important: The gears between the ignition switch and the lock cylinder housing must be in the correct position. Failure to do so will cause a misalignment of the gears in the ignition switch and the lock cylinder housing, which may result in a NO START or BATTERY DRAIN.

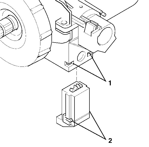
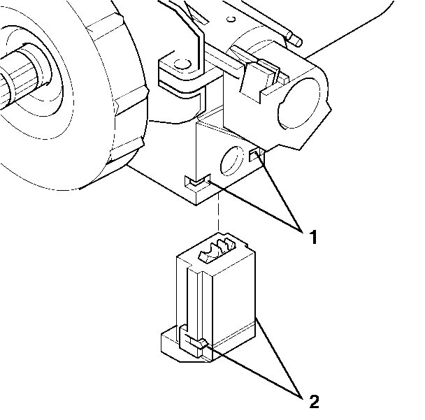
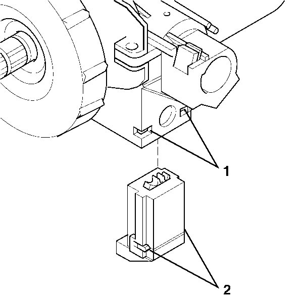
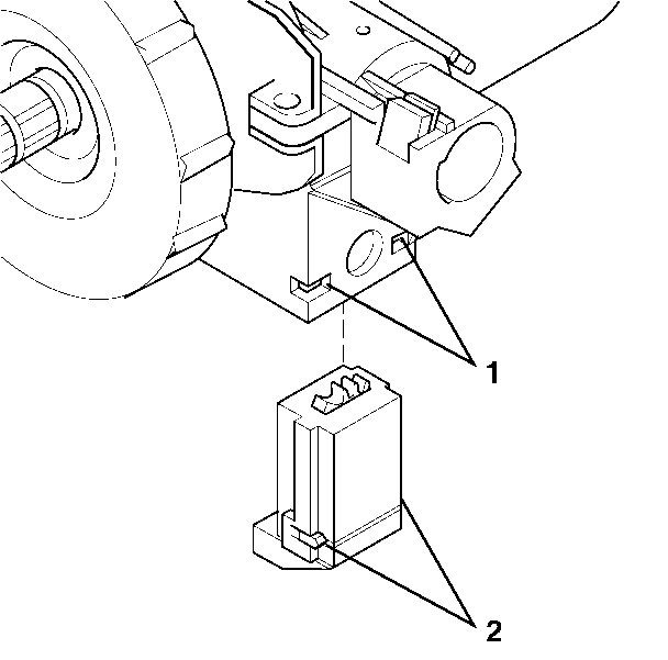
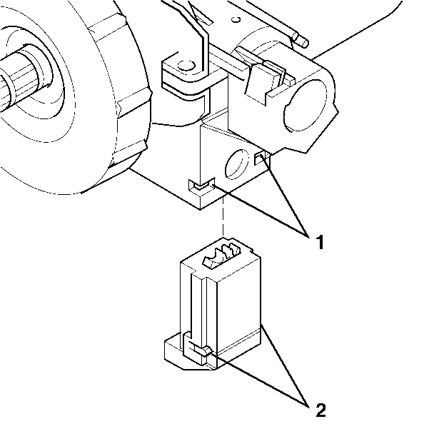
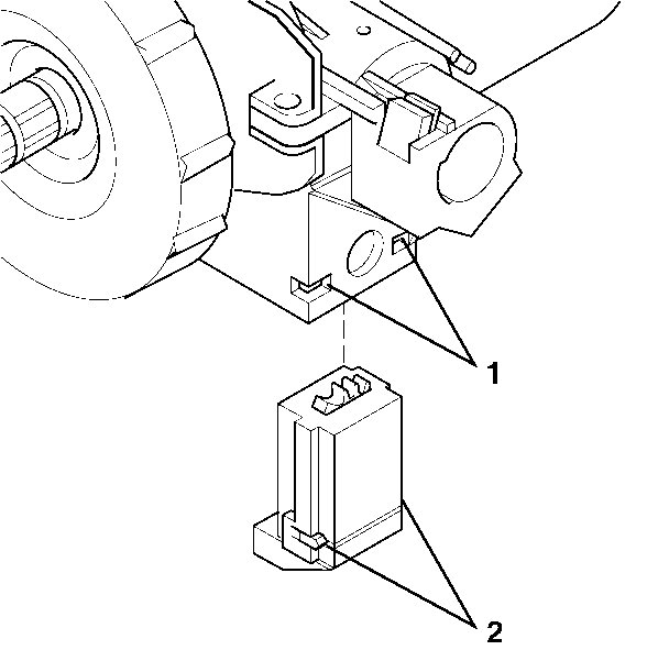
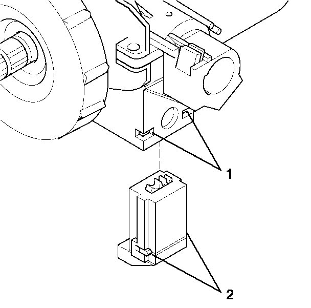
Verify the alignment of the gear (1) in the ignition switch (2). If gear (1) is not in position shown, turn gear in ignition switch (2) until you reach the correct position.
2. Use a screwdriver to rotate the lock cylinder housing gear counterclockwise until it hits a stop.
3. Connect the connector to the ignition switch.
4. Insert the ignition switch into the lock cylinder housing. The tabs (2) on the ignition switch MUST be seated inside the lock cylinder housing (1) for proper installation.
5. Use a screwdriver to rotate the lock cylinder housing gear clockwise to the START position, allowing it to spring return into the RUN position.
6. Align the lock cylinder and install the lock cylinder into the lock cylinder housing.
7. Connect the passlock and key buzzer into the lock housing.
8. Install the steering column trim covers.
9. Install the hush and knee bolster.
10. Enable the SIR system. Refer to SIR Disabling and Enabling Zone 3.
11. Connect the negative battery cable.

___________________________________________________

Here are the directions for the lock assembly. The last two pictures correlate with these directions.

IGNITION LOCK CYLINDER CASE REPLACEMENT
Ignition Lock Cylinder Case Replacement

Removal Procedure

1. Caution: Refer to Restraint System Caution in Service Precautions.

Disable the SIR system. Refer to SIR Disabling and Enabling Zone 3.
2. Remove the ignition switch.
3. Remove the turn signal cancel cam.
4. Remove the park lock cable from the lock cylinder housing.
5. Remove 3 TORX screws.
6. Remove the lock cylinder housing from the steering column.

Installation Procedure
1. Notice: Refer to Fastener Notice in Service Precautions.

Install 3 TORX screws into the lock cylinder housing.
Tighten the TORX screws to 7 Nm (62 inch lbs.).
2. Install the turn signal cancel cam.
3. Install the park lock cable into the lock cylinder housing.
4. Install the ignition switch.
5. Enable the SIR system. Refer to SIR Disabling and Enabling Zone 3.

_____________________________________________

I hope this helps. Let me know if you have other questions. Also, before working anywhere near the air bag, make sure the battery has been disconnected for at least thirty minutes.

Take care,
Joe
Was this
answer
helpful?
Yes
No
+1
Monday, September 17th, 2018 AT 5:51 PM

Please login or register to post a reply.