After Super gluing key to micro-chipped unit key not working properly

Tiny
ERICSCHUMAN
  • MEMBER
  • 2014 VOLKSWAGEN JETTA
  • 100,000 MILES
The key broke off from the micro-chipped key unit. We super glued it together and ever since we did, we have to struggle to get the key turned to the off position. Is this an issue with the key not lining up in the ignition properly due to being super glued, or is this an ignition problem?
Wednesday, July 17th, 2019 AT 4:39 PM

1 Reply

Tiny
JACOBANDNICKOLAS
  • MECHANIC
  • 110,194 POSTS
Welcome to 2CarPros.

I have to be honest, I feel it has to do with the glue. If the lock cylinder worked properly before the key broke, it should still be okay.

I recommend going to a dealer and having them make a new key. If doesn't resolve the issue or the issue existed prior to the key breaking, then you may need a new lock cylinder.

If you find the lock needs replaced, here are the directions for doing it. The attached pictures correlate with the directions.

___________________________________

LOCK CYLINDER
Lock Cylinder

Always follow the instructions regarding disconnecting and connecting the Battery (A). Refer to => [ Battery (A), Disconnecting and Connecting ] See: Battery > Removal and Replacement > Battery (A), Disconnecting and Connecting.

The steering lock could get damaged.

If the steering lock is operated without lock cylinder, it will lock up and then it will have to be replaced.

Steering lock must not be operated without lock cylinder.

Removal

- Disconnect the Battery (A). Refer to => [ Battery (A), Disconnecting and Connecting ] See: Battery > Removal and Replacement > Battery (A), Disconnecting and Connecting.

- Remove the trim from the steering column.

The Anti-Theft Immobilizer Reading Coil (D2) is attached to the lock cylinder and cannot be replaced separately.

To improve clarity, the ignition key is not shown in the following illustrations.

The hole can be located opposite 180° as shown in the illustration. This does not affect removal and installation.

- Insert the ignition key into the lock cylinder and turn the key to the "Run" position.

Lock Cylinder Key Positions

pic 1

1. Position "Off"

2. Position "Run"

3. Position "Start"

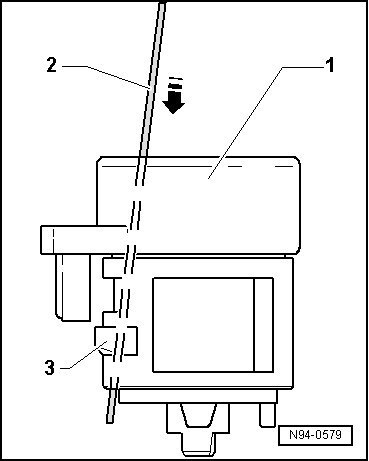
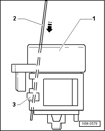
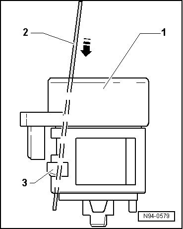
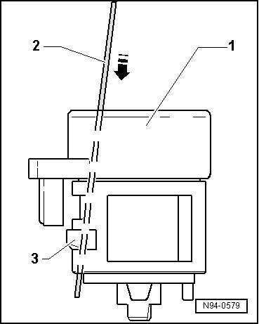
- Insert steel wire (1.2 mm diameter) into hole next to ignition key - arrow -.

Pic 2

- Release the lever - 3 - on the lock cylinder - 1 - with steel wire - 2 - - arrow -.

- Remove the lock cylinder - 1 - from the steering lock housing.

- Disconnect the connector - arrow - from the antitheft immobilizer reader coil.

Pic 3

Installation

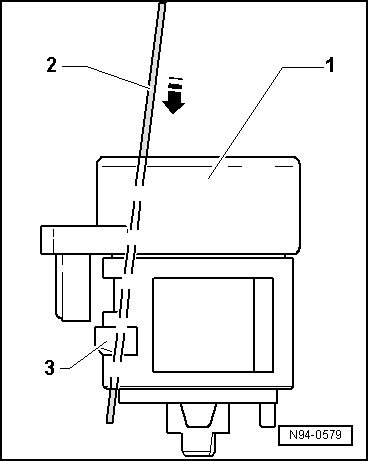
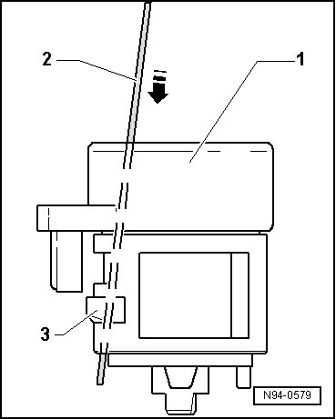
pic 4

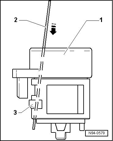
- Insert the ignition key into the lock cylinder - 1 - and turn the key to the "Run" position.

- Unlock the lever - 3 - with steel wire - 2 - - arrow -.

- Insert the lock cylinder - 1 - into the steering lock housing.

The antitheft immobilizer reading coil connection must be inserted into the guide on the steering lock housing.

- Remove the steel wire - 2 - from the lock cylinder - 1 - and then make sure the lock cylinder fit securely in the steering lock housing.

- Connect the connector to the antitheft immobilizer reading coil.

- Connect the Battery. Refer to => [ Battery (A), Disconnecting and Connecting ] See: Battery > Removal and Replacement > Battery (A), Disconnecting and Connecting.

Further installation is done in reverse order of removal.

__________________________

Let me know if this helps or if you have other questions.

Take care,
Joe
Was this
answer
helpful?
Yes
No
Wednesday, July 17th, 2019 AT 7:09 PM

Please login or register to post a reply.