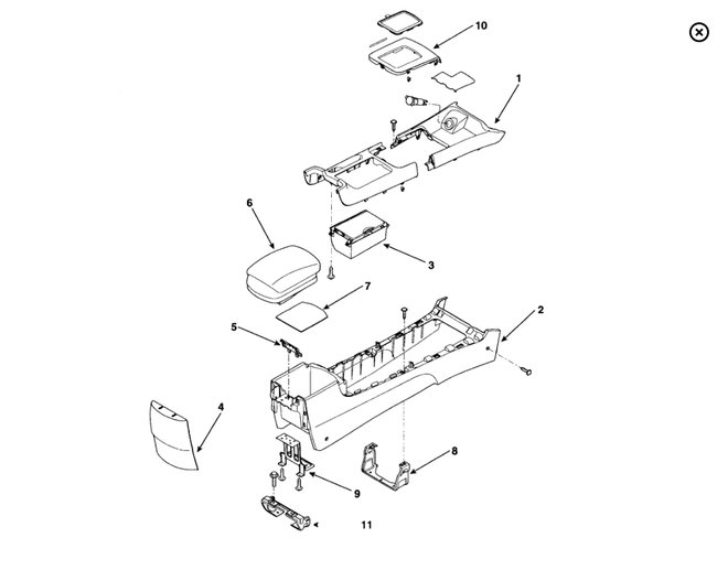
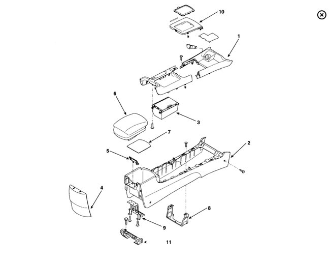
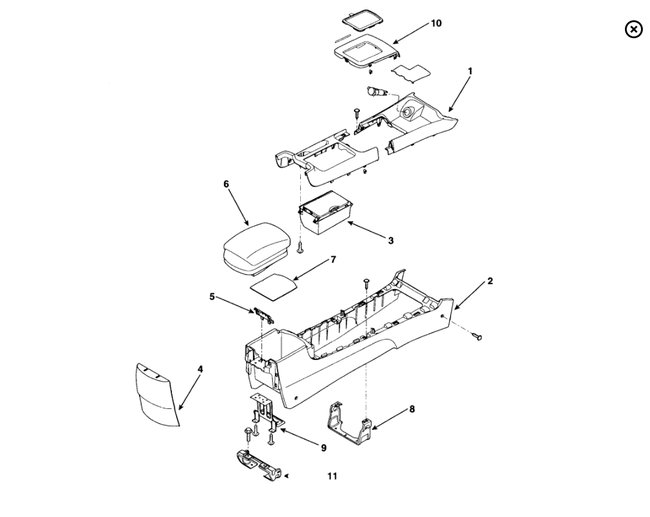
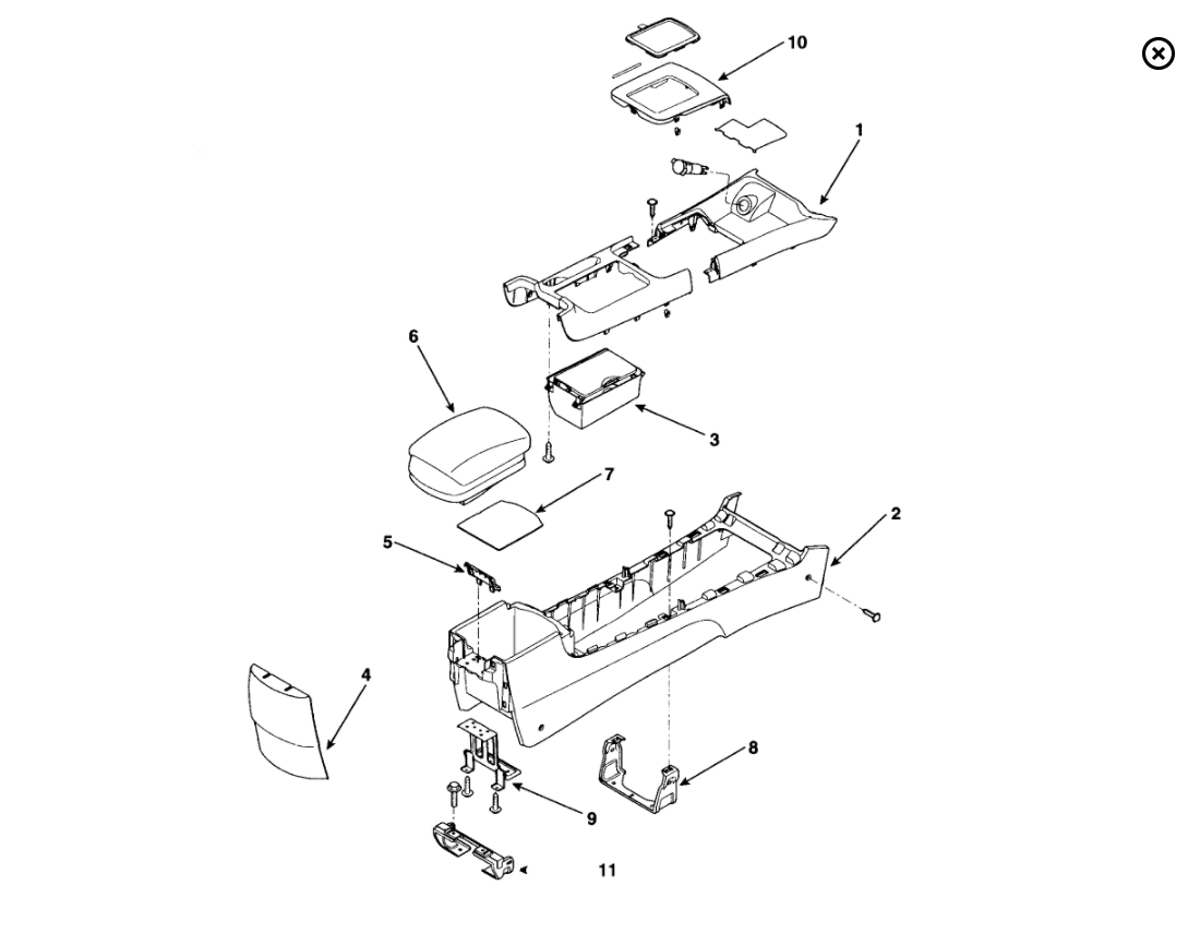
my ashtray in the center will not close I do not use it except for storing quarters for meters and tolls. It used to glide in and out by gently pushing the center of the ashtrayone afternoon I heard something fall in the back of it while I was waiting at a light later told myself to checkout if I could see it come out and get the change. Now it just slides to the rear but it does not engage to the locked position, I noticed a piece of metal at the back and the insert part of the ashtray has a black plastic tit alsoit seems to push against the metal "spring" in the rear near the light how do I remove the whole ashtray to see what fell in side
Saturday, November 29th, 2008 AT 9:31 PM


