HVAC display is dim?

Tiny
BRUCE MADER
  • MEMBER
  • 2007 CHEVROLET AVALANCHE
  • 5.3L
  • V8
  • 4WD
  • AUTOMATIC
  • 190,000 MILES
I bought this vehicle listed above, which has an auto HVAC control. The controls work fine, that is the heat up and down, A/C, fan speed, all of that. The problem is that the display is either so dim I can't see it, or it is blank.

The truck has one more issue that may be related. That is, the backlight on the I/C cluster does not work until the headlamps are on. Any engagement of the headlamps (even fog lamps) and the all the cluster back lights illuminate.
Sunday, December 11th, 2022 AT 6:41 PM

3 Replies

Tiny
JACOBANDNICKOLAS
  • MECHANIC
  • 110,194 POSTS
Hi Bruce,

The backlights on the cluster should be off until the lights are turned on. Does anything happen if you try adjusting the dimmer switch? Does the climate control get brighter when the lights are turned on?

Let me know.

Joe

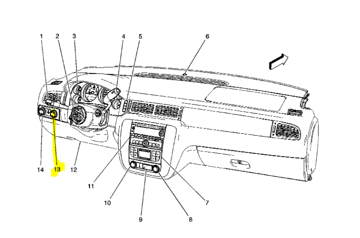
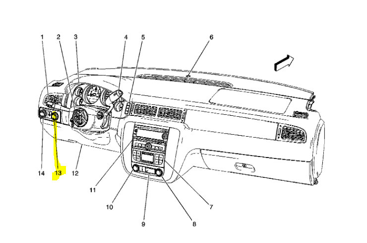
See pic below.
Was this
answer
helpful?
Yes
No
Sunday, December 11th, 2022 AT 8:42 PM
Tiny
BRUCE MADER
  • MEMBER
  • 2 POSTS
Hi Joe,

Perhaps I wasn't clear on my backlight situation. The lights I was referring to are the cluster numbers and pointer lights. You can see in the first picture; this is what it looks like with the lights off. You can hardly see the oil pressure and when you are driving, depending on direction to the sun, you really can' hardly read any of the gauges. When you turn the lights on, they light up (second picture) and they respond perfectly to the dimmer switch. All of the other lights including dome, radio etc. Work and function as they should with the exception of the HVAC controls which don't work regardless of the position of the light switch. I believe in my past experiences, that these lights lit up when the ignition switch was on run, but only responded to the dimmer when the lights were on, At least I think that is how they functioned.

I do have a couple of wire diagrams but not a complete set. It looks to me that the cluster lighting and the HVAC display may have a common communication wire to the BCM, or it may be two separate issues. It isn't clear to me if it is because the diagrams are incomplete and I'm not that great at reading them. Hopefully, this provides a better idea of my problem.

Thanks,
Bruce
Was this
answer
helpful?
Yes
No
Monday, December 12th, 2022 AT 6:12 AM
Tiny
JACOBANDNICKOLAS
  • MECHANIC
  • 110,194 POSTS
Hi Bruce,

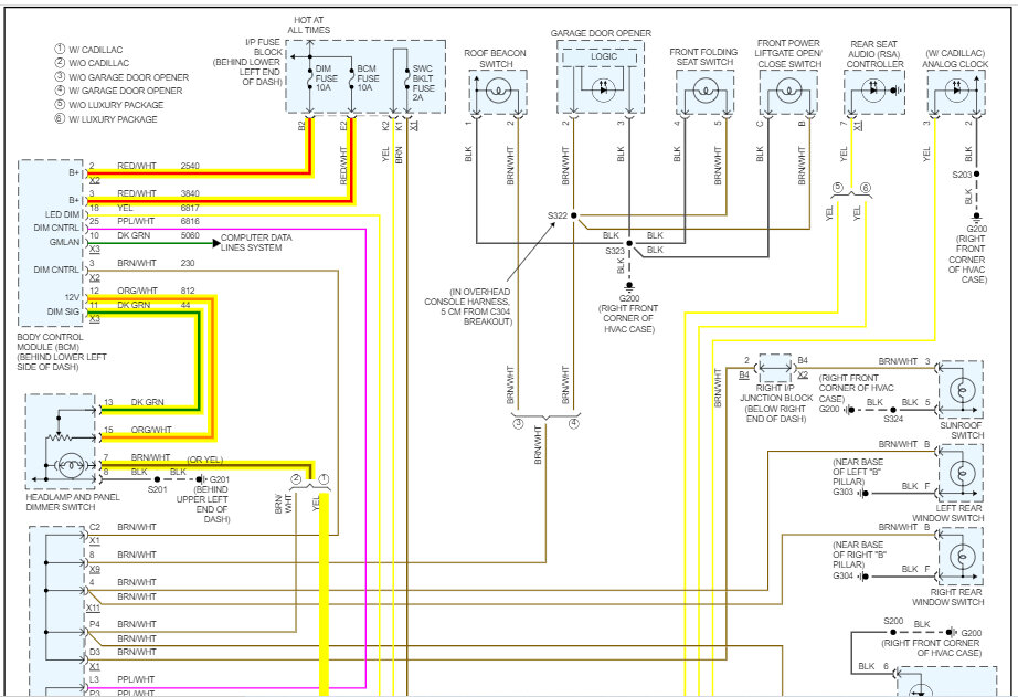
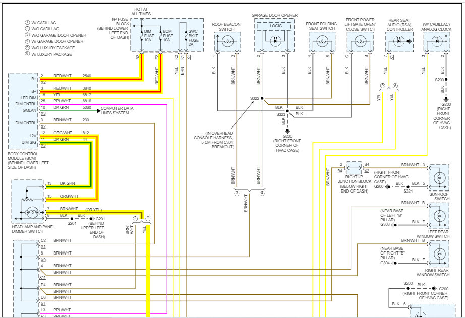
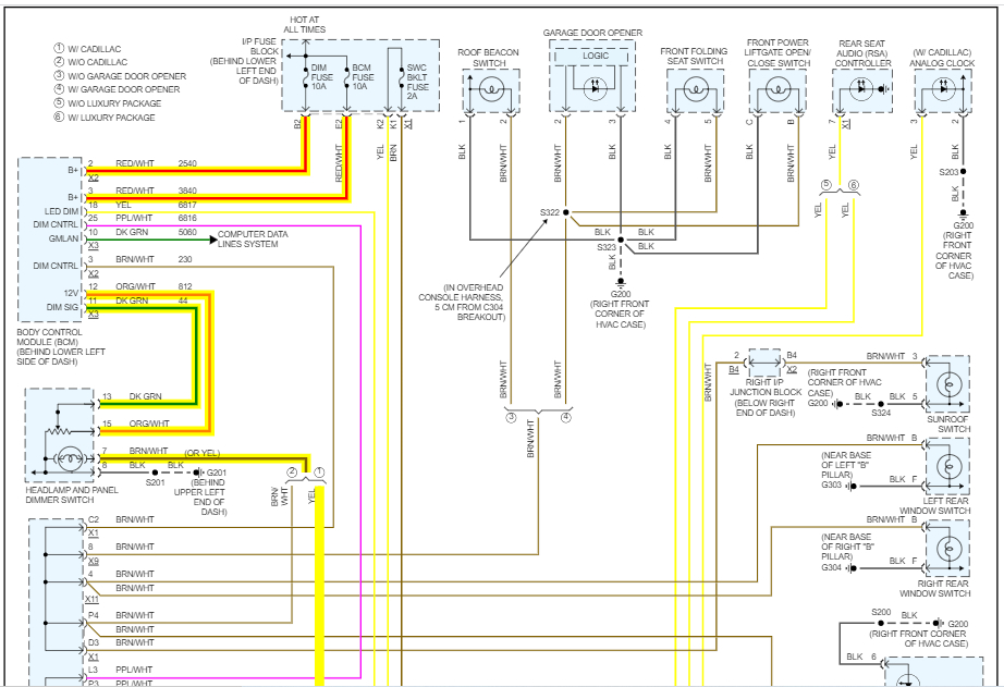
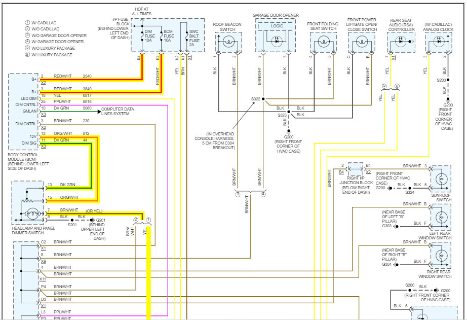
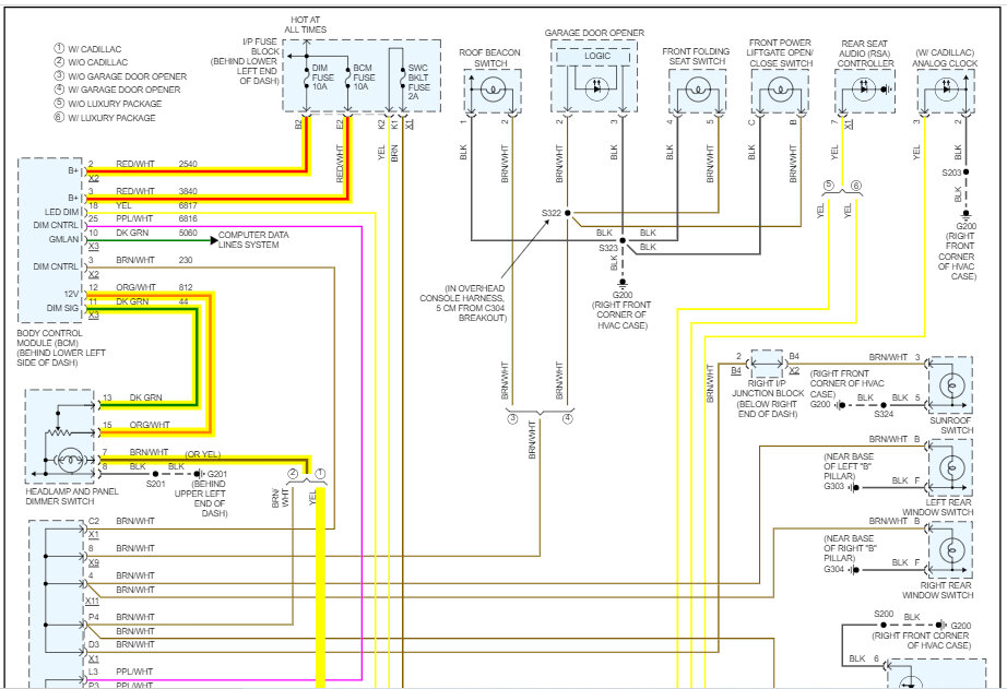
I do see what you mean. I attached the wiring schematics below for your vehicle. There are grounds all over the place as well as splices in the wiring. However, the one ground that is dominant is G200 at the right front corner of the HVAC case.

Just as a very quick test, locate that ground. All wires will be black. With the vehicle running and the lights off, wiggle the wires at the ground to see if the lighting flickers or changes.

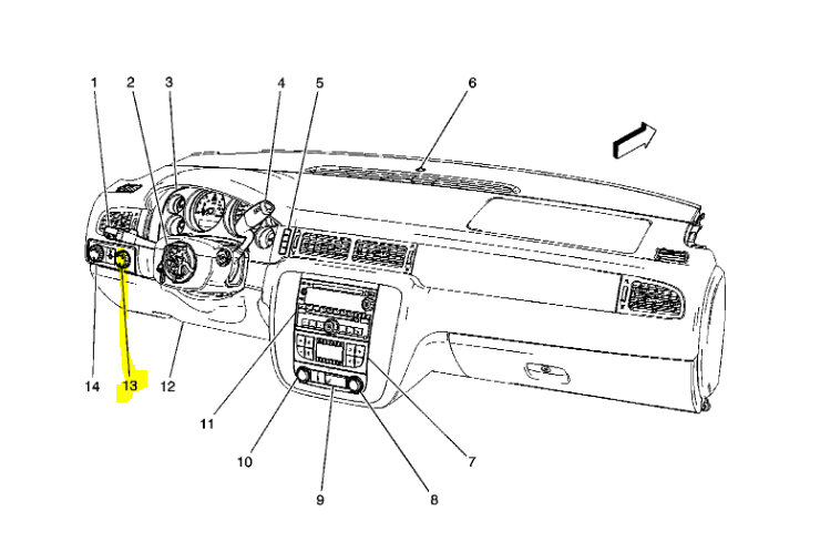
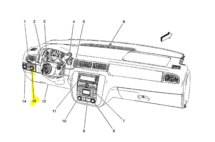
The first two pics are the schematic. I cut it in half to make it readable. I also overlapped them so you can follow from one to the next. The last pic shows the location of G200.

Let me know what you find or if you have other questions.

Take care,

joe

See pics below.
Was this
answer
helpful?
Yes
No
Monday, December 12th, 2022 AT 7:14 PM

Please login or register to post a reply.