How to turn off certain warning signals that are in error

Tiny
PINSTALKER
  • MEMBER
  • 2003 FORD FOCUS
  • 2.0L
  • 4 CYL
  • 2WD
  • AUTOMATIC
  • 126,000 MILES
I swapped out my broken driver's bucket seat for a better one at a junk yard. The new seat was from an earlier model 2001. It fit perfectly but when I hooked up the electrical connection under the seat, the fasten seat belt bell rang even though I had it fastened. Also, the air bag warning light would not go out. I undid the battery for 5-min to see if things would re-set but no luck. I need to shut off both of these warning devices.
Friday, July 17th, 2015 AT 3:57 PM

8 Replies

Tiny
CJ MEDEVAC
  • MECHANIC
  • 11,005 POSTS
I WILL ATTEMPT TO HELP YOU, IF I CAN

MAYBE IT'S AS SIMPLE AS SWAPPING SOME WIRES

I RECKON YOU ALREADY THOUGHT OF JUST SWAPPING ALL OF THE ELECTRICAL FROM ONE SEAT TO THE OTHER (I USUALLY GET A RESPONSE LIKE, "WE THREW THE OTHER ONE AWAY!")

ANYWAY, IN ORDER TO LOOK THIS UP IN FURTHER IN "PRODEMAND", I'M GONNA NEED THE "SPECIFICS" OF BOTH VEHICLES

AUTOMATIC/ STANDARD/ ETC.

AS WELL AS ENGINE SIZES (GOT YOURS ALREADY)

I'M STUCK AT "SUBMODEL" RIGHT NOW ON YOUR VEHICLE, I NEED TO KNOW IF IT'S A "LX/ SE/ SVT/ZTS/ ETC. ETC. OTHERWISE I MIGHT WIND UP LOOKING UP/ COPYING THE WRONG DIAGRAMS

I MAY NEED MORE, SO POST ALL OF IT! (THE VINS FROM BOTH VEHICLES MIGHT MAKE IT REAL EZ, AS IT WOULD FILL IN ALL OF THE BLANKS)

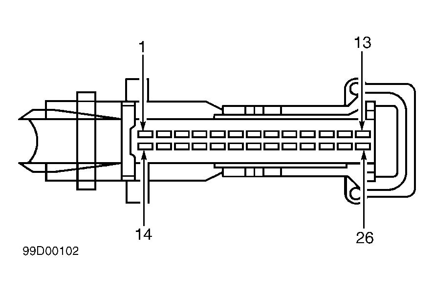
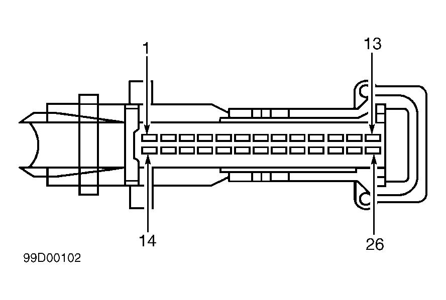
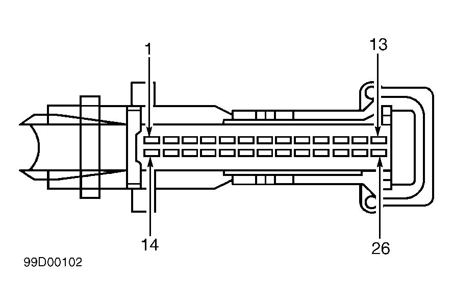
MY APPROACH MIGHT BE TO GET WIRING DIAGRAMS (AT LEAST FOR THE SEAT STUFF) FOR BOTH RIGS AND COMPARE WHERE THE WIRING GOES. THE PRODEMAND DIAGRAMS SHOW THE WIRE COLORS AND LOCATIONS OF THE COMPONENTS THEY GO TO

NO PROMISES, BUT I WILL TRY

THE MEDIC
Was this
answer
helpful?
Yes
No
Friday, July 17th, 2015 AT 8:08 PM
Tiny
PINSTALKER
  • MEMBER
  • 3 POSTS
My Focus is a 2003 ZTW (station wagon). Can't get the VIN number for the other vehicle. It was a 2000 sedan. I did find out how to disable the seat belt alarm. It was in the user manual. What I need now is how to turn off the air bag light. I'm sure the seat somehow remembers it was in an accident and the bag deployed. So that signal was somehow retained. I'm sorry but I don't have any other info on the other vehicle. BTW- I am a retired Army officer (infantry rifle platoon leader in Vietnam) so I do trust a former Ranger.
Was this
answer
helpful?
Yes
No
Saturday, July 18th, 2015 AT 9:33 AM
Tiny
CJ MEDEVAC
  • MECHANIC
  • 11,005 POSTS
THANK YOU SIR, MY DAD WAS OVER THERE TWICE IN THE USAF (RETIRED W/ 20 IN 1974), AND ALSO AS SUPPORT IN THAILAND. THREE AGENT ORANGE RELATED CANCERS FINALLY GO HIM A FEW YEARS AGO. I'VE GOT PICS OF HIM LEAVING IN HIS UNIFORM TO GO SEE THE GREAT AIRBORNE RANGER IN THE SKY. (WON'T POST 'EM) I WILL POST A PIC OF THE NEW U.S AIR FORCE STEALTH BIRD HE IS PILOTING (UN-MANNED IN THE PIC)

IN RANGER BATTALION, I WAS 11B, LATER 11B2V, I GOT STUCK TRAINING/ BABY SITTING OUR "ZERO-2" FOR QUITE SOME TIME FROM E-1 THRU E-3 AS HIS RTO (LOL!), AT E-4, I MOVED INTO BEING THE 1st SGTs RTO (ALL ALONG DOING THE INF STUFF TOO!) AT E-5 I MOVED INTO A SQUAD LEADERS POSITION. IN BATTALION, EVERYONE WAS CREAM OF THE CROP.

SO WITH THE BEST-US AS I COULD DO, WITH THE INFO FOR THE OTHER CAR. LOOKS LIKE THE SEAT'S WIRING ARE THE SAME FOR EITHER "HEATED" OR "POWER". I'M POSTING BOTH TYPES AT THE BOTTOM (EITHER CAR COULD HAVE EITHER TYPE)

NOW THE FUNNEST PART

SOME OF "PRODEMAND" IS "SAVABLE" TO MY COMPUTER (SOME DIAGRAMS)

MUCH OF THE TEXT STUFF CANNOT BE COPIED, HOWEVER WE CAN MAKE SCREENSHOTS. I MADE MANY AND HAD TO CROP OUT MY SCREEN STUFF

DUE TO MAYBE NOT BEING ABLE TO POST THEM IN THIS POST, I'M GONNA ANSWER AGAIN BELOW WITH THE SHOTS

THERE IS AN AIRBAG WARNING I GOT, SO LET'S BE CAREFUL AND GO TO A PRO IF THINGS ARE NOT LOOKING SO HOOAH! IN YOUR GARAGE. DON'T NEED YOU TO GET MESSED UP WITH AN AIRBAG. I GOT MESSED UP WITH ONE IN THE 80s, BUT I WAS ABLE TO DIVORCE HER!

SO GIMME A FEW MINUTES TO POST THE REST, THEY "SHOULD" SORTA BE IN ORDER, AS ONE WILL CONTINUE TO ANOTHER WITH SOME OVERLAP OF SENTENCES.

THE DIAGRAMS WILL NOT BE IN ORDER!

THE MEDIC

(NOT AN ARMY MEDIC, A "JEEP CJ" MEDIC ON HERE!)
Was this
answer
helpful?
Yes
No
Saturday, July 18th, 2015 AT 7:29 PM
Tiny
CJ MEDEVAC
  • MECHANIC
  • 11,005 POSTS
I SUGGEST YOU MIGHT DO THE EZ STUFF IF YOU CAN, TAKE IT TO A PRO IF QUESTIONABLE

THESE SHOTS ARE FROM "PRODEMAND", JUST GIVIN' 'EM CREDIT

THE MEDIC
Was this
answer
helpful?
Yes
No
Saturday, July 18th, 2015 AT 7:37 PM
Tiny
CJ MEDEVAC
  • MECHANIC
  • 11,005 POSTS
THE REST

LEMME KNOW IF THIS STUFF MIGHT HELP?

THE MEDIC
Was this
answer
helpful?
Yes
No
Saturday, July 18th, 2015 AT 7:40 PM
Tiny
CJ MEDEVAC
  • MECHANIC
  • 11,005 POSTS
I THINK I MISSED THIS ONE

THE MEDIC
Was this
answer
helpful?
Yes
No
Saturday, July 18th, 2015 AT 7:43 PM
Tiny
PINSTALKER
  • MEMBER
  • 3 POSTS
Medic- Vietnam cost this country a lot of fine people and many of us who remain are asking "what the hell for"? Now we are buying our underwear from them.

I don't think I want to screw around with the air bag system and wiring harness. Too far beyond my pay grade. I can flip switches and pull fuses and all the simple stuff but I'm not tearing into the electrical system.

Plus the early Focus models didn't have heated or power seats. Also the PCM module that is mentioned to be in the console doesn't apply to a Focus. The console is just a little plastic storage bin.

I'm going to take it to Pep Boys and see if they can reset the air bag system.
Keep the cash for your troubles. Hooah my Ranger friend.

Joe C.
Was this
answer
helpful?
Yes
No
Saturday, July 18th, 2015 AT 9:13 PM
Tiny
CJ MEDEVAC
  • MECHANIC
  • 11,005 POSTS
IF YOU DONATED

IT MUSTA WENT ON INTO "FINANCE", THERE ARE 2 WAYS TO FIND QUESTIONS TO ANSWER HERE, "ON A SPECIAL BOARD" THAT SHOWS ALL OF THE UNANSWERED QUESTIONS AND DONATION ONES (BASICALLY PRIORITY STUFF, AS PER HIGHER).

IT IS APPRECIATED, IT KEEPS THE SITE GOING. I'M SORTA LIKE BEING AN E-3 RTO HERE TOO! I'M JUST NOT HUMPIN' A PRC-77, DON'T GET TO SEE WHAT THE BATTALION COMMANDER IS DOIN'

THE OTHER WAY IS THE WAY YOU SEE THE LIST, IN TIME ORDER, ANSWERED OR NOT. WHEN I GET HOME, I LOOK AT THAT LIST 1ST, AS I REALLY LOVE ANSWERING THE JEEP CJs (EVEN IF SOMEONE ELSE GAVE ONE) I TRY TO BE REALLY THOROUGH AND MAY GIVE OVER A HUNDRED ANSWERS TO A CJ OR CARBURETED VEHICLE. SO BASICALLY I GO TO THAT LIST TO INSURE ONE DIDN'T SLIP BY ME! I TAKE A GOOD MANY PICS MAKE DIAGRAMS.

GOOD LUCK!

RETURN WITH A GOOD NEWS UPDATE TO THIS THREAD

THE MEDIC
Was this
answer
helpful?
Yes
No
Sunday, July 19th, 2015 AT 10:29 AM

Please login or register to post a reply.