How far should blend door actuator travel

Tiny
RDBATES33
  • MEMBER
  • 1999 MERCURY COUGAR
  • 2.5L
  • 6 CYL
  • 2WD
  • AUTOMATIC
  • 79,000 MILES
I've located the blend door actuator in my daughter's car. I marked a spot on the actuator so I could see how far it travels. I turned the temperature dial from it's coldest setting to the hottest setting and watched the actuator turn. It only rotated approximately quarter inch. I reversed the temperature dial and it rotated back a quarter inch. My question is, should the actuator rotate more than a quarter inch?
Saturday, January 4th, 2020 AT 3:17 PM

3 Replies

Tiny
JACOBANDNICKOLAS
  • MECHANIC
  • 110,192 POSTS
If you are referring to the motor gear only turning that far, it should go further. If it only turns a quarter of an inch, it won't open or close the door.

Is it the actuator motor you are referring to?

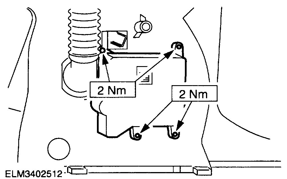
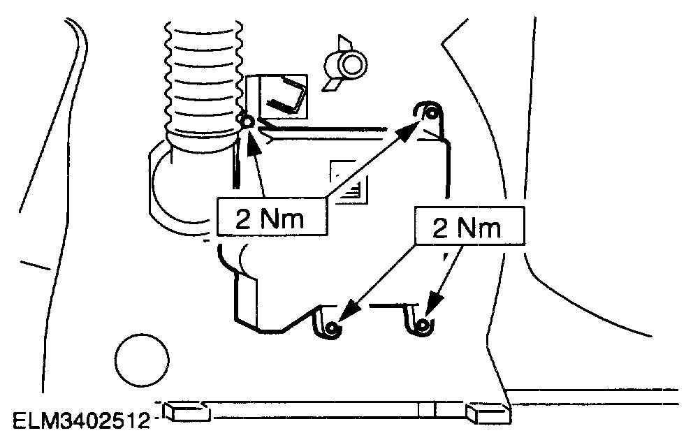
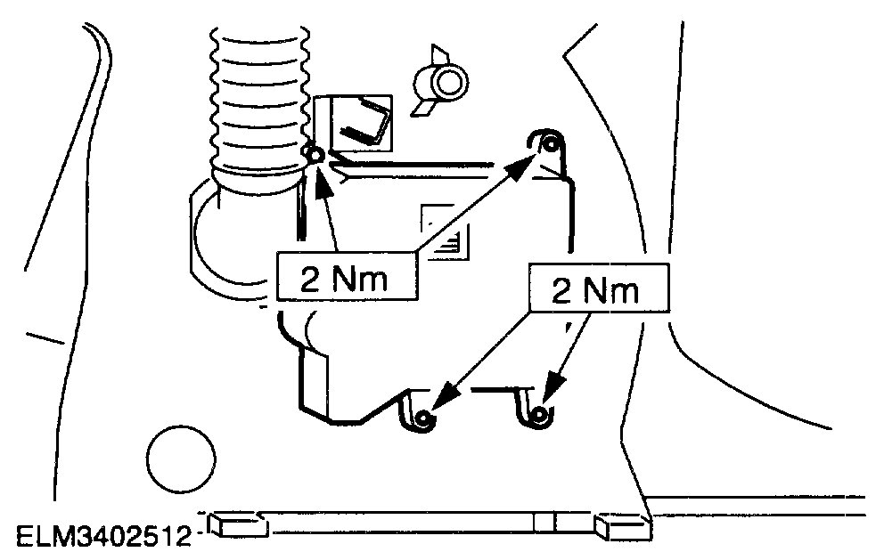
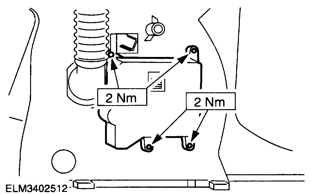
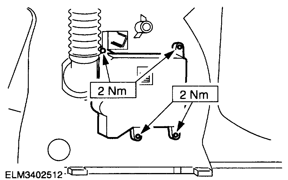
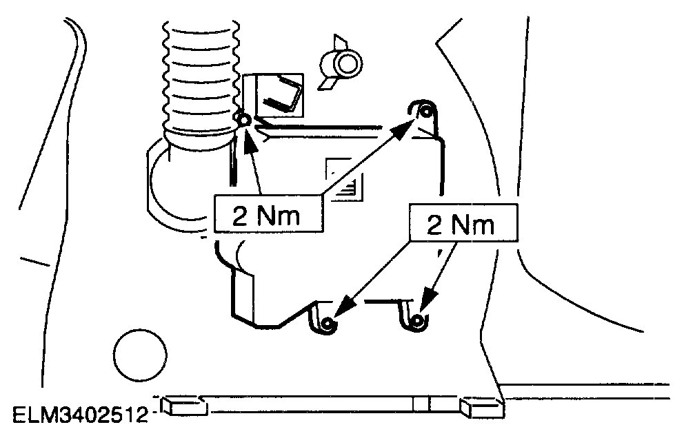
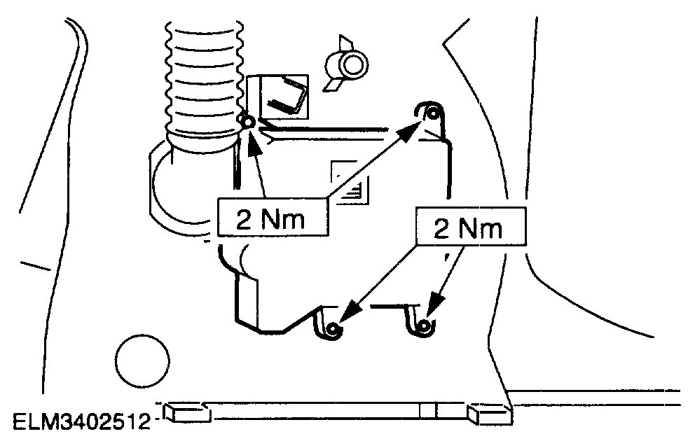
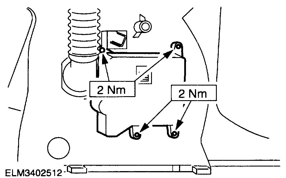
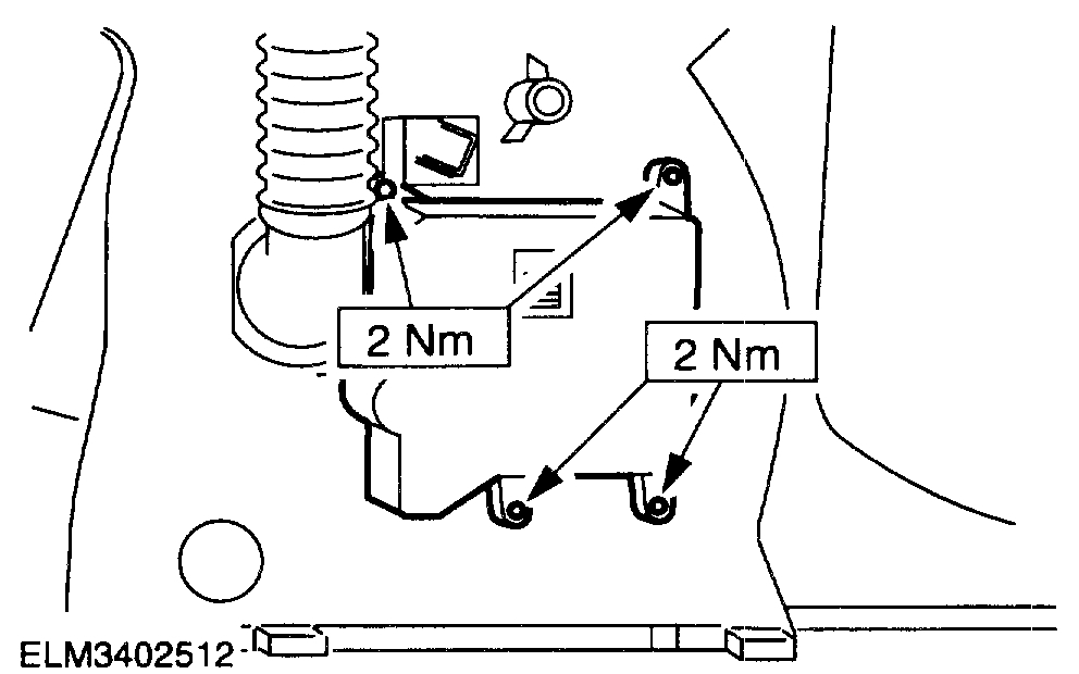
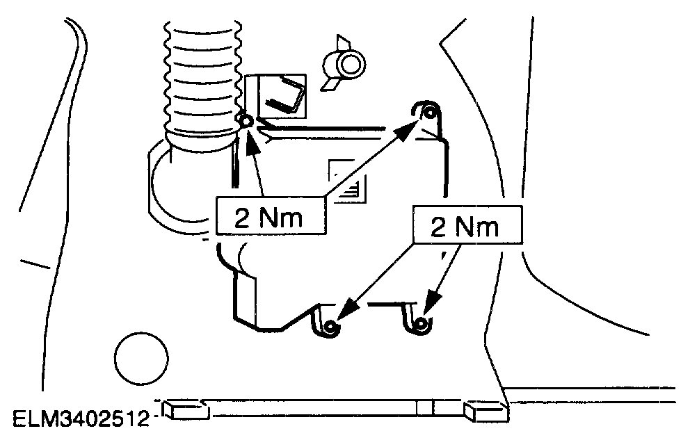
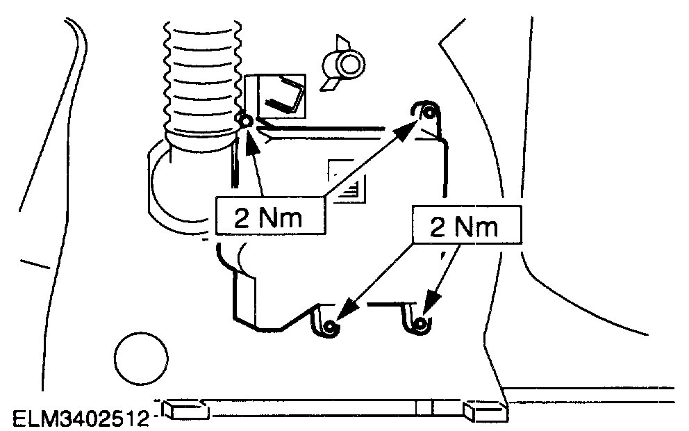
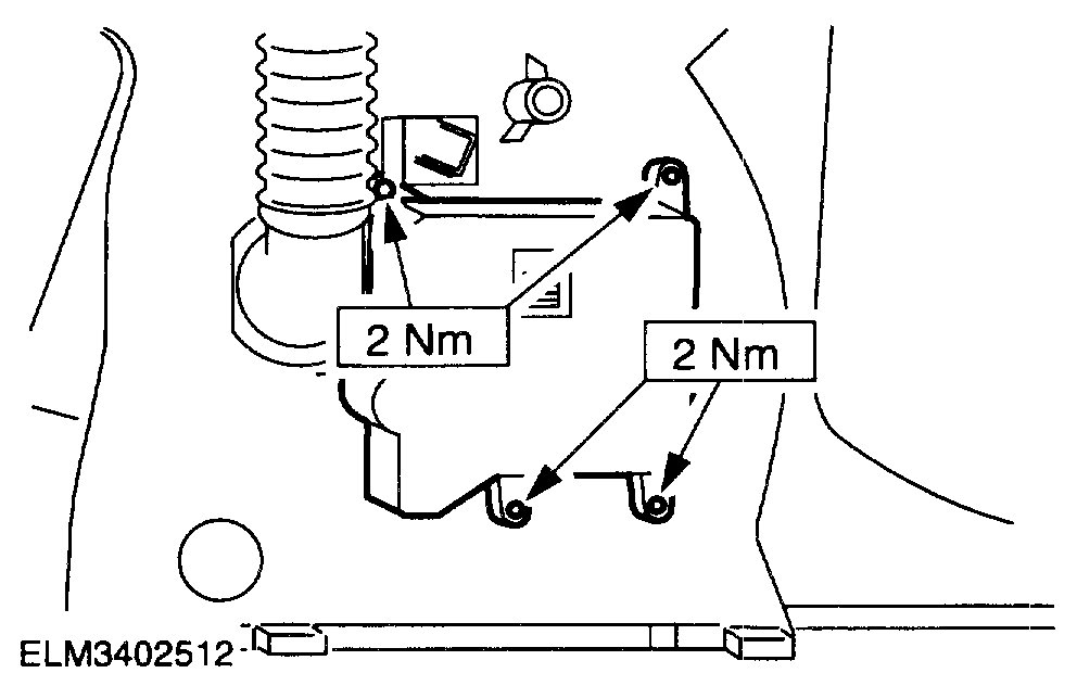
Here are the directions for removal and replacement of the blend door actuator. I'm adding this just to confirm we are referring to the same part. The attached pics correlate with the directions.

__________________________

1999 Mercury Cougar L4-122 2.0L DOHC VIN 3 SFI
Blend Door Motor
Vehicle Heating and Air Conditioning Air Door Actuator / Motor Service and Repair Procedures Blend Door Motor
BLEND DOOR MOTOR
REMOVAL
1. Disconnect the battery ground cable.

Pic 1

2. Remove the glove compartment.

Pic 2

3. Remove the footwell upper trim panel (passenger side).
Remove the pushpins.

Pic 3

4. Disconnect the electrical connector.

Pic 4

5. Remove the actuator.

INSTALLATION

NOTE: When the battery has been disconnected and reconnected, some abnormal drive symptoms may occur while the vehicles relearns its adaptive strategy. The vehicle may need to be driven 16 km (10 miles) or more to relearn the strategy.

Pic 5

1. To install, reverse the removal procedure.

_________________________________

Let me know.

Joe
Was this
answer
helpful?
Yes
No
+1
Saturday, January 4th, 2020 AT 7:59 PM
Tiny
RDBATES33
  • MEMBER
  • 2 POSTS
https://youtu.be/3L6v1JUDCUU

This link is to the video I made showing the actuator movement. Thanks for the feedback. I'll start looking online for a replacement. Just wanted to share the video with you to ensure we're discussing the same part.
Was this
answer
helpful?
Yes
No
Saturday, January 4th, 2020 AT 8:48 PM
Tiny
JACOBANDNICKOLAS
  • MECHANIC
  • 110,192 POSTS
Hi,

We are referring to the same part. However, now that I see it, I feel it is working properly. Can you explain what is happening? Is it a no heat issue? Is the coolant full and the engine running at normal operating temp? If you have the engine warm up with the heater on high, do both heater core hoses get hot?

If both hoses get hot, then we know coolant is flowing through the heater core. At that point, my suspect would be the blend air door actuator.

Let me know.
Joe
Was this
answer
helpful?
Yes
No
Saturday, January 4th, 2020 AT 11:58 PM

Please login or register to post a reply.