Hooking up jumper cables backwards

2005 MITSUBISHI GALANT
100,000 MILES
Avatar
JOEJOE1980
  • MEMBER
  • 1 POST
I hooked up the jumper cables backwards and now the car has very little power flickering lights on the dashboard and will not start.
Sep 13, 2020 at 10:58 AM
Advertisement
Repair Safety Notice: This information is for general instructional purposes only. Vehicle repair can be dangerous. Verify all information, follow manufacturer service procedures, use proper tools and safety equipment, and consult a qualified repair shop when needed.
Avatar
ASEMASTER6371
  • AUTOMOTIVE REPAIR CONTRIBUTOR
  • 52,796 POSTS
Good afternoon,

This is not good.

With luck, you may have just blow fuses for this. In a lot of cases, control modules are damaged from the voltage surge of hooking up the cables backwards.

https://www.2carpros.com/articles/how-to-check-a-car-fuse

You need to replace the battery with a new one to start.

https://www.2carpros.com/articles/how-to-replace-a-car-battery

Then you need to test every fuse in the car and replace any failed fuses with new one.

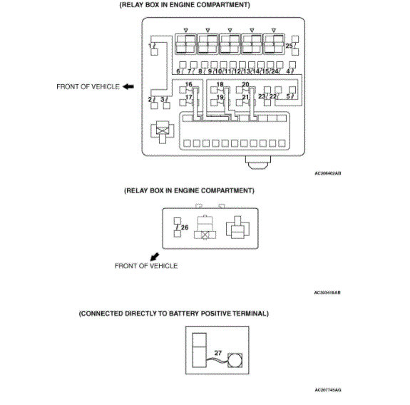
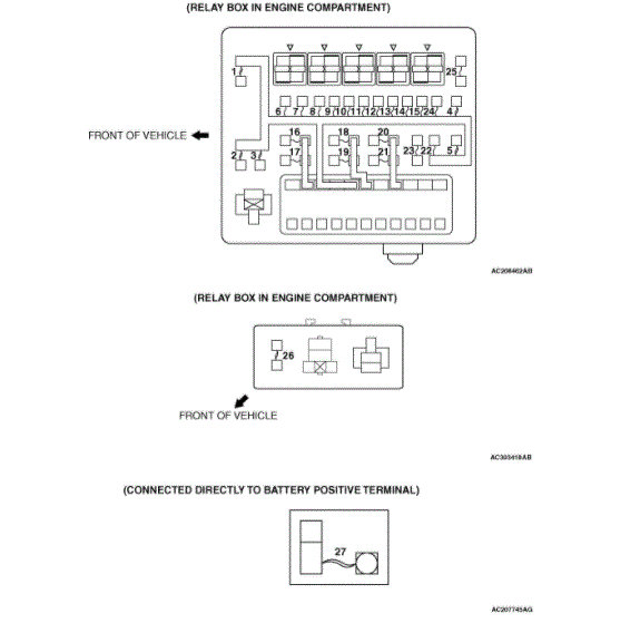
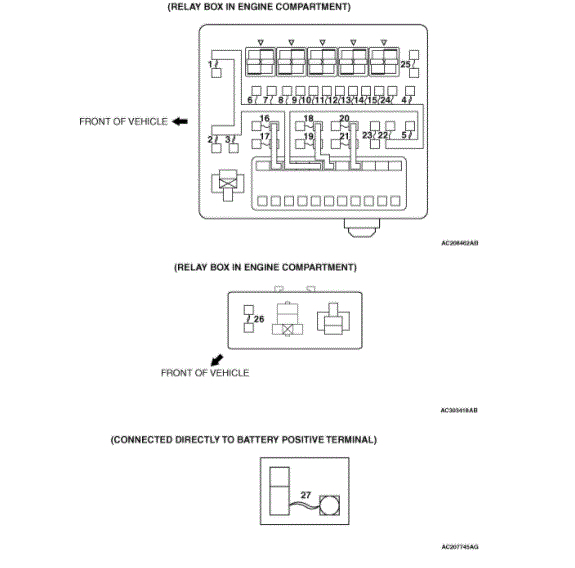
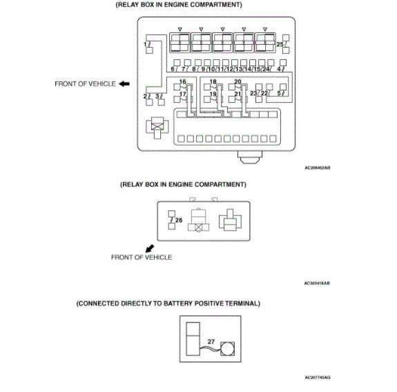
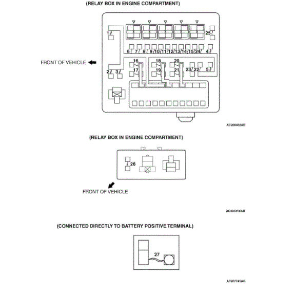
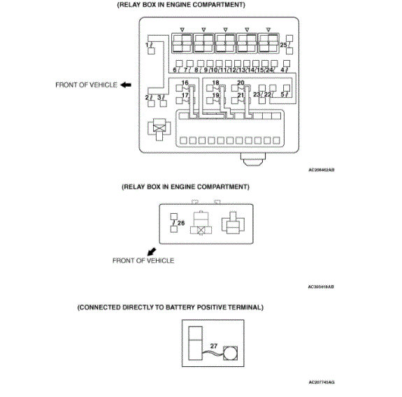
I attached diagrams of the fuse block for you. There is a fuse box under the hood and inside the car.

Roy

Sep 13, 2020 at 1:55 PM