Oil Pan Removal
If the engine is out of the vehicle, go to step 5.
Raise the vehicle on the hoist to full height.
Drain the engine oil.
Remove exhaust pipe A.

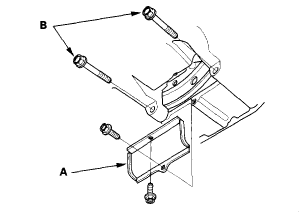
Remove the torque converter cover (A) and the two bolts (B) securing the transmission.
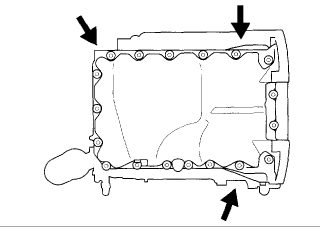
Remove the bolts securing the oil pan.

Using a flat blade screwdriver, separate the oil pan from the block in the places shown.
Remove the oil pan.
Oil Pan Installation
Remove all of the old liquid gasket from the oil pan mating surfaces, bolts, and bolt holes.
Clean and dry the oil pan mating surfaces.

Apply liquid gasket, P/N 08717-0004, 08718-0001, 08718-0002, 08718-0003, or O8718-0009, evenly to the oil pan mating surface of the engine block. NOTE: Do not install components if too much time has passed after applying the liquid gasket (for P/N 08718-0002, no more than 4 minutes, for all others, no more than 5 minutes). Instead, remove the old residue and reapply the liquid gasket.
Install the oil pan on the engine block.

Tighten the bolts in two or three steps. In the final step, tighten all bolts, in sequence, to 12 Nm (1.2 kgf-m, 8.7 ft. lbs.) . NOTE: After assembly, wait at least 30 minutes before filling the engine with oil.

Tighten the two bolts (A) securing the transmission, then install the torque converter cover (B).
If the engine is still in the vehicle, do the following steps.
Install exhaust pipe A using new gaskets and new self-locking nuts.
Install the splash shield.
Refill the engine with oil.
Lower the vehicle on the hoist.
https://www.2carpros.com/kpages/auto_repair_manuals_alldata.htm
Saturday, July 10th, 2010 AT 9:20 PM