Heater/AC fan replacement?

Tiny
THOMAS J JONAS
  • MEMBER
  • 1993 CHEVROLET 2500
  • 5.7L
  • 4WD
  • AUTOMATIC
  • 232,000 MILES
I need to replace the heater/AC blower/fan cover for my truck.
Tuesday, October 24th, 2023 AT 10:44 AM

1 Reply

Tiny
KEN L
  • MASTER CERTIFIED MECHANIC
  • 55,512 POSTS
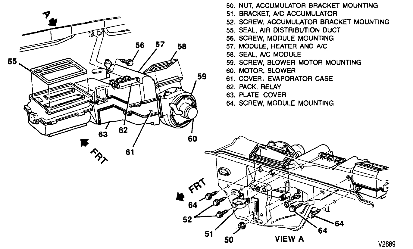
I am not sure what you mean about blower motor cover but here is how to change the blower motor out and the location as well. Check out the images (below). Please let us know if you need anything else to get the problem fixed.
Was this
answer
helpful?
Yes
No
Tuesday, October 24th, 2023 AT 1:18 PM

Please login or register to post a reply.

Related Blower Fan Replace/Remove Content