HOME
ASK A QUESTION
REPAIR GUIDES
BECOME A MEMBER
LOG IN
Login with Facebook
OR
Remember me
NOT A MEMBER?
FORGOT PASSWORD?
CONTACT US
PRIVACY POLICY
TERMS AND CONDITIONS
☰
Home
Chevrolet
Avalanche
Interior
Seat
Heater
Heated seat turns on and off on its own
BEAR53534
MEMBER
2004 CHEVROLET AVALANCHE
5.3L
V8
2WD
AUTOMATIC
60,000 MILES
The heated drivers seat turns on and off on its own. You can turn it off but it will come right back on.
Tuesday, October 23rd, 2018 AT 2:34 PM
3 Replies
ASEMASTER6371
MECHANIC
52,796 POSTS
Good afternoon.
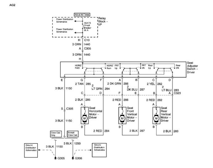
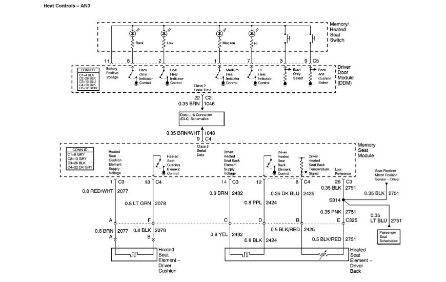
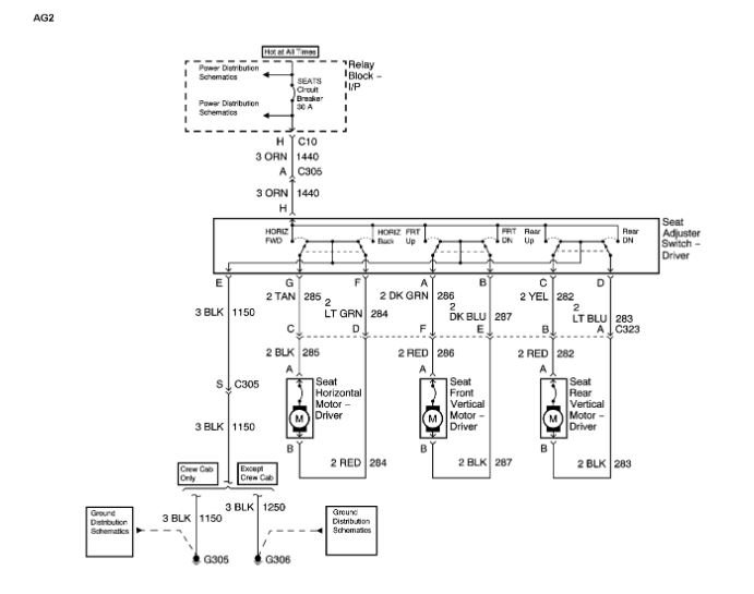
It is possible the switch is bad or the controller. I will attach a diagram of the system for you.
There is a memory module that controls it as well.
I would have someone with a scan tool monitor the system to see if it is working correctly.
Roy
Images (Click to make bigger)
Was this
answer
helpful?
Yes
No
Tuesday, October 23rd, 2018 AT 3:04 PM
BEAR53534
MEMBER
6 POSTS
Thank you, I will try that.
Was this
answer
helpful?
Yes
No
Tuesday, October 23rd, 2018 AT 3:59 PM
ASEMASTER6371
MECHANIC
52,796 POSTS
Sounds like a plan.
Roy
Was this
answer
helpful?
Yes
No
Tuesday, October 23rd, 2018 AT 4:02 PM
Please
login
or
register
to post a reply.
Related Seat Heater Content
2005 Chevy Avalanche Power Seats
Driver's Side Power Seat Will Not Move Up And Down; All Other Functions Of The Power Seat Work; I Can Hear The Motor Humming When Trying To...
Asked by
joecatcool
·
1 ANSWER
2005
CHEVROLET AVALANCHE
2004 Chevy Avalanche Gauges
My Question Is That On My Chevy Avalanche All The Gauges Have Stoped Working. What Can I Do To Fix The Problem.
Asked by
DaDa123
·
1 ANSWER
2004
CHEVROLET AVALANCHE
2004 Chevy Avalanche Air Flow Problem
I Have Air Comming Out Of The Side Vents In The Dash, The Defrost Vents On Top Of The Dash, The Vents Under The Steering Column And The...
Asked by
navypokerfish
·
1 ANSWER
2004
CHEVROLET AVALANCHE
Alternator Noise Through Radio
Alternator Noise Through Radio
Asked by
Anonymous
·
1 ANSWER
4 IMAGES
2004
CHEVROLET AVALANCHE
2003 Chevy Avalanche Oil Presser Gage
The Oil Presser Gage Shows Max Or Sometimes Normal Or Too Low. I Thought Problem Is Gage Itself. But Its Looks Okay When I Turn The Key...
Asked by
Tak
·
1 ANSWER
2003
CHEVROLET AVALANCHE
VIEW MORE
Ask a Car Question. It's Free!
Seat Switch Replacement
Seat Switch Replacement
How to Use a Test Light