Do you replace head bolts when you replace head gaskets

Tiny
LEANNE SMITH
  • MEMBER
  • 1997 FORD F-150
  • 4.6L
  • V8
  • 2WD
  • AUTOMATIC
  • 249,000 MILES
If so what do you use for lube?
Sunday, November 17th, 2019 AT 10:06 AM

1 Reply

Tiny
ASEMASTER6371
  • MECHANIC
  • 52,796 POSTS
Good afternoon,

Yes, replace all the head bolts with new only.

No, there is not lube. That will effect the torques. They get installed and torqued dry.

Roy

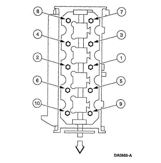
TORQUE SPECIFICATIONS

CAUTION: Cylinder head bolts must be replaced with new bolts. They are tighten-to-yield designed and cannot be reused.

ImageOpen In New TabZoom/Print

Tighten the LH cylinder head bolts in three stages in sequence shown:
Stage 1: 37-43 Nm (27-32 ft lbs.).
Stage 2: Rotate 85-95 degrees.
Stage 3: Rotate 85-95 degrees.

ImageOpen In New TabZoom/Print

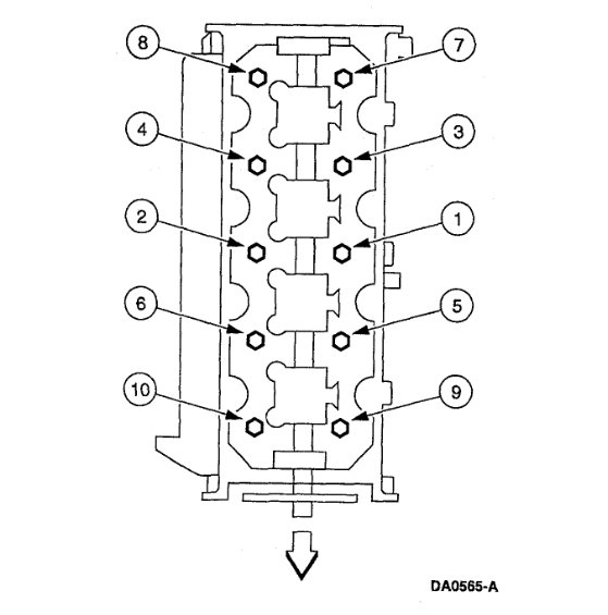
Tighten the RH cylinder head bolts three stages in sequence shown:
Stage 1: 37-43 Nm (27-32 ft lbs.).
Stage 2: Rotate 85-95 degrees.
Stage 3: Rotate 85-95 degrees.
Was this
answer
helpful?
Yes
No
Sunday, November 17th, 2019 AT 10:46 AM

Please login or register to post a reply.