Fuel line leaking

2004 CHEVROLET IMPALA
178,000 MILES • 3.8L • 6 CYL • 2WD • AUTOMATIC
Avatar
JACKIE HENSLEY
  • MEMBER
  • 2 POSTS
The feed line is leaking where you connect to fuel rail. The one closest to back of car.
May 22, 2018 at 5:55 PM
Repair Safety Notice: This information is for general instructional purposes only. Vehicle repair can be dangerous. Verify all information, follow manufacturer service procedures, use proper tools and safety equipment, and consult a qualified repair shop when needed.
Advertisement
Avatar
JACOBANDNICKOLAS
  • CAR REPAIR CONTRIBUTOR
  • 110,190 POSTS
Hi and thanks for using 2CarPros.com. I have attached the directions for removing and replacing the coupler. Once you have it apart, check to make sure the o-ring between the two components is good. Check for cracks, nicks.

Here are the directions. It does require a special tool. The attached pictures correlate with these directions.

QUICK CONNECT FITTING(S) SERVICE (METAL COLLAR)

TOOLS REQUIRED
J 37088-A Fuel Line Disconnect Tool Set

REMOVAL PROCEDURE

CAUTION:

Wear safety glasses when using compressed air, as flying dirt particles may cause eye injury.
Relieve the fuel system pressure before servicing fuel system components in order to reduce the risk of fire and personal injury. After relieving the system pressure, a small amount of fuel may be released when servicing the fuel lines or connections. In order to reduce the chance of personal injury, cover the regulator and the fuel line fittings with a shop towel before disconnecting. This will catch any fuel that may leak out. Place the towel in an approved container when the disconnection is complete.
Place a dry chemical (Class B) fire extinguisher nearby before performing any on-vehicle service procedures. Failure to follow these precautions may result in personal injury.
NOTE: Refer to Cover and Plug Openings Notice in Service Precautions.
IMPORTANT: Always maintain cleanliness when servicing fuel system components.
Relieve the fuel system pressure.
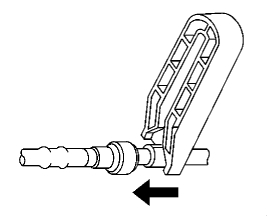
Grasp both sides of the fitting. Twist the female connector 1/4 turn in each direction to loosen any dirt within the fitting.
Blow dirt out of the fitting using compressed air.
Choose the correct tool from J 37088-A for the size of the fitting. Insert the tool into the female connector, then push inward to release the locking tabs.
Pull the connection apart.
NOTE: If necessary, remove rust or burrs from the fuel pipes with an emery cloth. Use a radial motion with the fuel pipe end in order to prevent damage to the O-ring sealing surface. Use a clean shop towel in order to wipe off the male tube ends. Inspect all the connections for dirt and burrs. Clean or replace the components and assemblies as required.
Using a clean shop towel, wipe off the male pipe end.
Inspect both ends of the fitting for dirt and burrs. Clean or replace the components as required.
INSTALLATION PROCEDURE
CAUTION: In order to reduce the risk of fire and personal injury, before connecting fuel pipe fittings, always apply a few drops of clean engine oil to the male pipe ends.
This will ensure proper reconnection and prevent a possible fuel leak.
During normal operation, the O-rings located in the female connector will swell and may prevent proper reconnection if not lubricated .
Apply a few drops of clean engine oil to the male pipe end.
Push both sides of the fitting together to cause the retaining tabs to snap into place.
Once installed, pull on both sides of the fitting to ensure that the connection is secure.
Reconnect the negative battery cable.
Inspect for leaks.
6.1. Turn ON the ignition for 2 seconds .
6.2. Turn OFF the ignition for 10 seconds .
6.3. Turn ON the ignition.
6.4. Inspect for fuel leaks.

I hope this helps.

Take care,
Joe
May 22, 2018 at 8:41 PM
Advertisement
Avatar
JACKIE HENSLEY
  • MEMBER
  • 2 POSTS
I completed the procedure. However, the fitting is loose and there is still fuel leaking out of the fuel rail. Do I have to replace the whole line? Also, my connection is nylon not metal. Does that make any difference?
May 23, 2018 at 5:19 AM
Avatar
JACOBANDNICKOLAS
  • CAR REPAIR CONTRIBUTOR
  • 110,190 POSTS
Hi again. You should be able to purchase a new o-ring as well as the clip that holds it together. However, if you would rather, they make a replacement fitting. I attached a picture of what one looks like for a GM vehicle. It helps eliminate the replacement of the entire fuel line. I believe the Dorman part niumber is 800-080. Confirm that is the correct part for your vehicle, but I believe it is. If you call a local parts store, just tell them you want a replacement fitting made by Dorman and you believe the part number is 800 080. Then have them confirm it is the correct one for your vehicle.

Let me know if this helps.

Joe
May 23, 2018 at 7:10 PM