Thermostat replacement?

Tiny
BLUELIGHTNIN6
  • MECHANIC
  • 16,542 POSTS


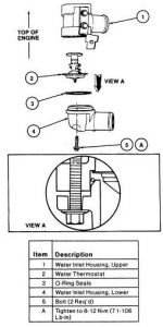
https://www.2carpros.com/forum/automotive_pictures/261618_Noname_70.jpg



Hope this helps..
Thanks for using 2carpros.com!
Was this
answer
helpful?
Yes
No
Wednesday, October 21st, 2020 AT 10:06 AM (Merged)
Tiny
JIMMY_POOSE
  • MEMBER
  • 2 POSTS
Thank you so very much
Was this
answer
helpful?
Yes
No
Wednesday, October 21st, 2020 AT 10:06 AM (Merged)
Tiny
MPTECDIR
  • MEMBER
  • 1 POST
  • 1997 FORD TAURUS
  • 4 CYL
  • FWD
  • AUTOMATIC
  • 125,000 MILES
Engine heats up very slow, never really gets to full temp. Temp climbs when sitting still but drops down as soon as car starts moving. Is this the thermostat? If so, is it located where the upper radiator hose enters the block? Is the thermostat easily accessable without special tools or moving other parts?
Tia, michael
Was this
answer
helpful?
Yes
No
Wednesday, October 21st, 2020 AT 10:07 AM (Merged)
Tiny
SCHRIMPIEMAN
  • MECHANIC
  • 166 POSTS
Yes, chances are you have a stuck open thermostat. I answered a similar question in the Windstar forum section. Windstar / Tarurs share same engines. I copy/paste text from my answer to another member:

The thermostat is located below the throttle body, just above the transaxle bell housing. Follow the top radiator hose from the driver's side of the radiator towards the engine. The hose clamps onto a flange. The flange is attached to the engine via 3 bolts, and within rests the thermostat.

You'll need to remove the air cleaner, intake snorkle, various cables and move some wires around, maybe remove the battery for extra space; but it's not too complicated. Be sure to clean the old gasket material off REALLY WELL, even though it's a real pain in the a** to squeeze your hand into awkward positions, scraping off the old gasket material. Any leaks in that area will be very discouraging indeed. I always clean water-area gasket mating surfaces with a rag wet with brake cleaner, then follow up with the gasket and a bit of Grey Silicone gasket maker. The blue and red gasket maker stuff just doesn't do it. Spend the extra $2 per tube on the grey stuff; it'll be worth it.
How hard is it to replace? That depends on your level of expertise and available tools. Just make sure you have a good ratchet set with a U-Joint / Swivel and metric sockets.
While you're at it, go ahead and replace the upper radiator hose if it has more than 40,000 miles on it. The upper hose takes the most stress because that is where the hottest water comes out from on its way to the radiator. It'll be completely exposed during your thermostat replacement. Undo the connection at the radiator and replace the hose.
Was this
answer
helpful?
Yes
No
Wednesday, October 21st, 2020 AT 10:07 AM (Merged)
Tiny
PARFE89
  • MEMBER
  • 1 POST
  • 1997 FORD TAURUS
1997 Ford Taurus

The bottom bolt on the thermostat housing had it's head broken off and now remains stuck in place. Quite simply, what can I do to get this out?
Was this
answer
helpful?
Yes
No
Wednesday, October 21st, 2020 AT 10:07 AM (Merged)
Tiny
BILLYMAC
  • MECHANIC
  • 2,204 POSTS
Hi
if bolt is sticking out enough to get a stud extractor on it I would go that route.

If it is broken off flush with surface. Take a small bit drill a hole right in the center of the stud. Step it up to a bigger bit.

Now get an extractor and remove stud.
Was this
answer
helpful?
Yes
No
Wednesday, October 21st, 2020 AT 10:07 AM (Merged)
Tiny
DAVID MACK
  • MEMBER
  • 1 POST
  • 1997 FORD TAURUS
  • 6 CYL
  • 2WD
  • AUTOMATIC
  • 123,000 MILES
How do you change the thermostat
Was this
answer
helpful?
Yes
No
Wednesday, October 21st, 2020 AT 10:08 AM (Merged)
Tiny
MERLIN2021
  • MECHANIC
  • 17,250 POSTS
Let the engine cool off, then drain it down about a gallon, there is a draicok on the bottom of the radiator, then follow the upper radiator hose to the engine, there you will find the thermostat at the end of the hose, unbolt the two bolts. Leave the hose attached to the housing. Scrape old gasket from both mating surfaces, install new thermostat, spring towards the engine. Install the gasket, snug the housing bolts! Not to tight and bring the housing down evenly. Refill the coolant and that's it!
On your car, to get to the draincock on the radiator, you must remove the splash shield under the front of the car.
Was this
answer
helpful?
Yes
No
+1
Wednesday, October 21st, 2020 AT 10:08 AM (Merged)
Tiny
CATPEZ007
  • MEMBER
  • 1 POST
  • 1996 FORD TAURUS
  • 6 CYL
  • FWD
  • AUTOMATIC
  • 230 MILES
How to change water thermostat
Was this
answer
helpful?
Yes
No
Wednesday, October 21st, 2020 AT 10:08 AM (Merged)
Tiny
JACOBANDNICKOLAS
  • MECHANIC
  • 110,194 POSTS
Disconnect neg battery terminal. Drain coolant from radiator. Follow the upper radiator to the engine and remove the hose where it attaches to the t-stat housing. Remove the housing paying attention to the direction the thermostat is placed. Replace it and reverse the procedure to reinstall.
Was this
answer
helpful?
Yes
No
Wednesday, October 21st, 2020 AT 10:08 AM (Merged)
Tiny
PEEKXSHO
  • MEMBER
  • 1 POST
  • 1995 FORD TAURUS
  • 2.3L
  • 6 CYL
  • FWD
  • AUTOMATIC
  • 250,000 MILES
I need help locating the thermostat on the engine. A diagram, anything would help. I thought I'd ask before tearing into the wrong side of the engine. I can provide pictures of any angle of the engine, if necessary.
Was this
answer
helpful?
Yes
No
Wednesday, October 21st, 2020 AT 10:08 AM (Merged)
Tiny
HMAC300
  • MECHANIC
  • 48,601 POSTS
First thing it's either a 3.0 or 3.8six cylinder I am sending info for 3.0 we don't have any pics available of that so follow the upper radiator hose back to engine and it should be there. There will be normally two bolts holding it.
Was this
answer
helpful?
Yes
No
-1
Wednesday, October 21st, 2020 AT 10:08 AM (Merged)
Tiny
LINCSTER86
  • MEMBER
  • 1 POST
  • 1992 FORD TAURUS
  • 6 CYL
  • FWD
  • MANUAL
  • 177,908 MILES
Is the thermostat nessarary my mechanic deleted it
Was this
answer
helpful?
Yes
No
Wednesday, October 21st, 2020 AT 10:08 AM (Merged)
Tiny
RASMATAZ
  • MECHANIC
  • 75,992 POSTS
The thermostat controls the engine temperature the computer uses the coolant temperature sensor to adjust fuel demand. Without the thermostat the engine will not reach its operating temperature and the CTS will be misleading the computer
Was this
answer
helpful?
Yes
No
Wednesday, October 21st, 2020 AT 10:08 AM (Merged)

Please login or register to post a reply.