Replacing the Timing Belt?

Tiny
MICHAEL SMALL
  • MEMBER
  • 2000 FORD RANGER
I am looking for a pictorial how-to-guide to show me the steps to do the job. Thanks
Tuesday, July 28th, 2009 AT 11:53 AM

35 Replies

Tiny
ASEMASTER6371
  • MECHANIC
  • 52,796 POSTS
Good evening,

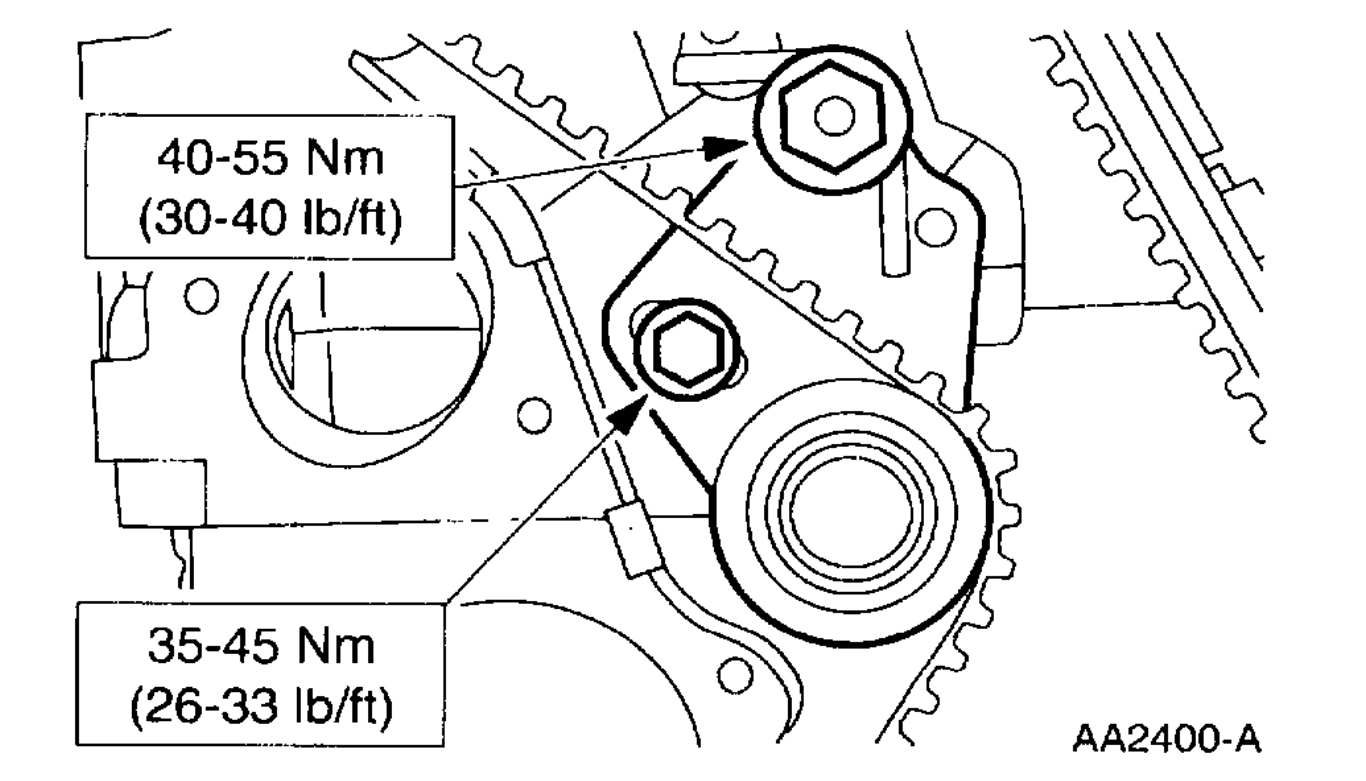
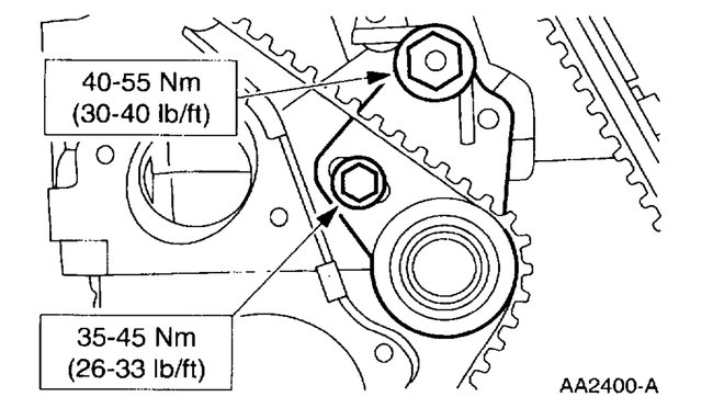
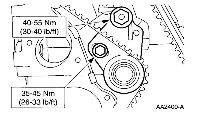
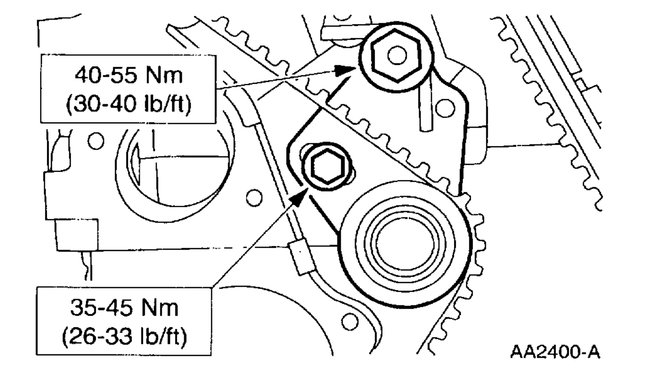
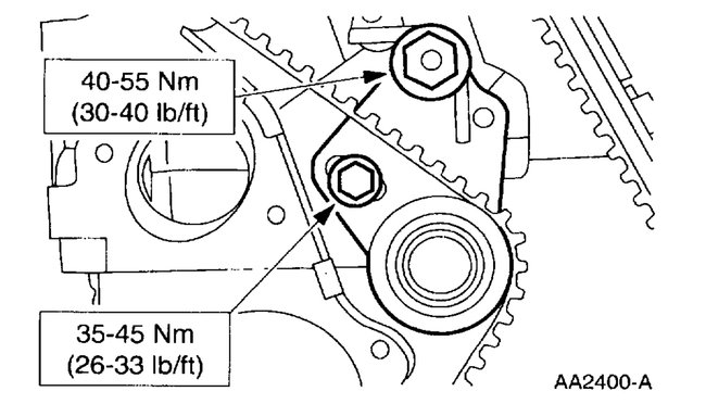
I attached the procedure for you of the replacement of the belt. Let me know if you have any other questions. Check out the diagrams (Below).

Removal
1. Disconnect the battery ground cable.
2. Remove the exhaust side spark plugs.

3. Remove the crankshaft pulley.
Remove the bolt.
Remove the crankshaft pulley.

4. Remove the outer timing belt cover.
5. Rotate the crankshaft until the number 1 piston is at Top Dead Center (TDC).

6. CAUTION: If you attempt to remove the belt without loosening both timing belt tensioner adjusting bolt and spring pivot bolt, damage to Camshaft Belt Tensioner Tool could occur when attempting to relieve belt tension.

7. Loosen the timing belt spring pivot bolt. Do not remove.

8. Loosen the adjusting bolt slowly and release spring tension.
9. Rotate tensioner with adjusting tool, against spring pressure, clockwise to the farthest position.
10. Hold in this position and tighten adjusting bolt to hold tensioner away from the belt.

11. Remove the timing chain/belt.

Installation

1. Make sure the crankshaft is at TDC on piston No. 1, with the crankshaft keyway pointing straight up and the circle on crankshaft sprocket aligned with notch in engine front cover.

2. Align the timing marks.
Align the crankshaft sprocket mark to the front cover notch.
Align the oil pump sprocket diamond to the engine front cover diamond.
Align the camshaft sprocket triangle to the engine front cover triangle.

3. Install the timing chain/belt over the crankshaft sprocket, proceeding counterclockwise over the oil pump sprocket and over the camshaft sprocket.

4. Loosen the bolt allowing the tensioner pulley to press against the timing chain/belt.

5. Note: The timing belt tensioner must not be tightened or belt tension will not be distributed over the entire belt.

Rotate the crankshaft two revolutions clockwise. Bring crank slowly to number one position firing position (keyway on crank facing up). The dot on the crankshaft gear is aligned with the notch on the front cover.
6. Recheck timing mark alignment. Repeat if required.
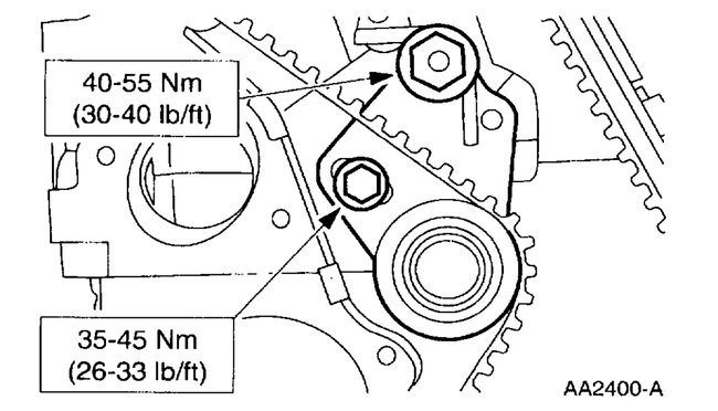
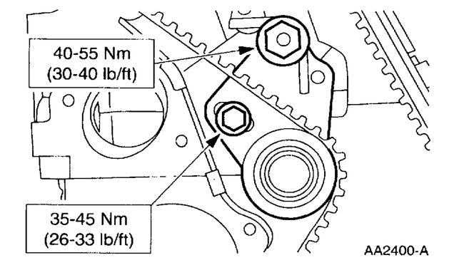
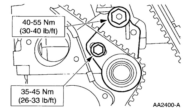
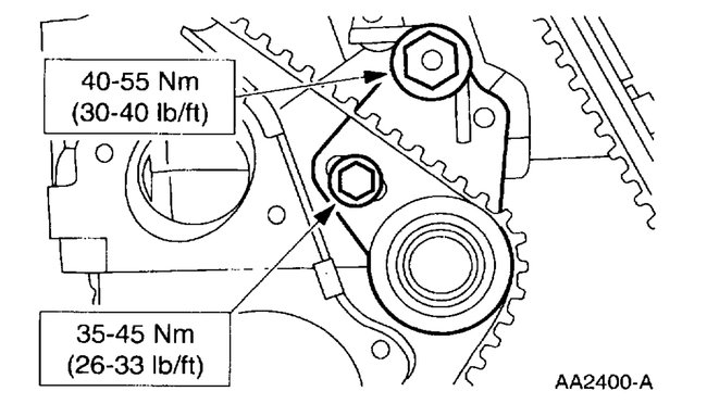
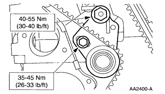
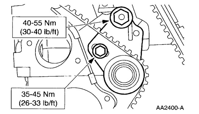
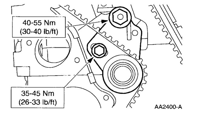
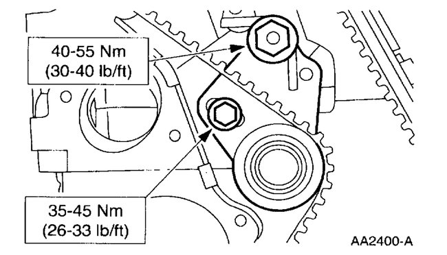
7. Tighten the bolts.

8. Install the crankshaft pulley.

9. Tighten the bolt.

10. Install the outer timing belt cover.
Tighten the bolt.
11. Install the exhaust side spark plugs.

Check out the diagrams (Below). Please let us know what happens.
Was this
answer
helpful?
Yes
No
+3
Thursday, November 12th, 2020 AT 4:19 PM
Tiny
DOZERMIKE
  • MEMBER
  • 1 POST
  • 1999 FORD RANGER
  • 4 CYL
  • 2WD
  • MANUAL
  • 1,994 MILES
Hello! (Thanks very much, in advance)!

Please note: *We're both disabled and really hurting money-wise or we would be happy to make a donation to help keep this website helping people help themselves fix or maintain their main sources of transportation. We're very, very sorry we can't give but have already spent $100 on parts that we couldn't really afford.* :O(

I have a 1999 Ford Ranger Pickup - 5 spd. Standard, with a 2.5L - 4 cyl. Engine. I just had to replace the timing belt & tensioner spring after they both snapped on me on the highway. Then the engine went 'free-wheeling' (spinning but no power). (There was NO evil engine noise like valves going on me - it just died on me after the belt & tensioner spring both snapped). I've tried setting the timing on it twice now and it still won't start. The first time I had to go by timing marks shown on a chart I viewed on the Web. I'm an experienced mechanic, tech school (no certifications, though) but have worked on everything from Gravely lawn tractors, to VWs, Mercedes, old Chevys on up to heavy machinery but this job has me extremely baffled. Charged up the battery, of course. Fixing mechanical things seems to come naturally to me, but I can hear the timing just isn't right and there seems to be no compression. I know I must have overlooked something I should have done or another problem? I tried turning the crank 180 degrees the 2nd time. Maybe, I just have to keep re-setting the timing again & again until all four pistons line up? I need this truck in the worst way or me & my girl just can't make ends meet without it. We're already having a terrible time - her car's down, too. (One thing at a time, but I may need help with her timing belt, too. Hers is a 2005 Mitsubishi Lancer - belt let go at idle. Thank God! It could've wracked her valve train, otherwise). Please help me.

Thank so much for your time!

Mike S.
Uncasville
Was this
answer
helpful?
Yes
No
Monday, December 7th, 2020 AT 8:41 AM (Merged)
Tiny
BMRFIXIT
  • MECHANIC
  • 19,053 POSTS
The inner cover has a triangle for cam and a diamond for the oil pump
And there is a diamond and a triangle stamped into both gears (cam and oil pump) make sure you are using the triangle for the cam and the diamond on the oil pump. Otherwise you have no compression
Was this
answer
helpful?
Yes
No
Monday, December 7th, 2020 AT 8:41 AM (Merged)
Tiny
WRENCHTECH
  • MECHANIC
  • 20,761 POSTS
Make sure you have the timing marks aligned corectly
Was this
answer
helpful?
Yes
No
Monday, December 7th, 2020 AT 8:41 AM (Merged)
Tiny
CLIFFY93
  • MEMBER
  • 2 POSTS
  • 1999 FORD RANGER
Engine Mechanical problem
1999 Ford Ranger Two Wheel Drive Manual

i replaced the timing belt on a 1999 ford ranger. It had snapped previously. I set all the marks correctly, and it still wont start. I had better luck at 180 out. What could cause it not to start?
Was this
answer
helpful?
Yes
No
Monday, December 7th, 2020 AT 8:42 AM (Merged)
Tiny
RASMATAZ
  • MECHANIC
  • 75,992 POSTS
Verify the valve and ignition timing could be off

Are you getting fuel and spark?
Was this
answer
helpful?
Yes
No
Monday, December 7th, 2020 AT 8:42 AM (Merged)
Tiny
CLIFFY93
  • MEMBER
  • 2 POSTS
It is getting fuel and spark. The crank is at TDC cam at TDC and the other pulley is at TDC. When I go to start it. It doesnt fire.
Was this
answer
helpful?
Yes
No
Monday, December 7th, 2020 AT 8:42 AM (Merged)
Tiny
ROOSTER_MAN45
  • MEMBER
  • 11 POSTS
  • 1999 FORD RANGER
  • 4 CYL
  • 4WD
  • MANUAL
  • 165,000 MILES
I've been handed down a ranger with a problem. The timing belt snapped and another guy replaced it, plugs, one coil pack, wires, fuel filter. One thing I did not like was he gutted the converter trying to fix this problem. Ok now comes to me after two other guys looked at it. It's running ruff, no power skips at times.I checked the computer for codes, po1000, and one for circuit on tps, was put in when they took it off. Ok here is what i've checked, I redone the belt thinking maybe off a little, cam is good, crank good, oil pump mark will not line up exactly. Figured to try it there, no difference. Took compression, 200lbs on all cylinder after 7 compression strokes, checked maf, is getting voltage and sending correct signal voltage, same with tps. Checked and made sure coils wired right. Exhaust was leaking at manifold repaired, checked o2 sensors upstream was acting as it should( have scanner with graph) down stream needs replacing(not reacting at times)fuel pressure fine. Basicly I've done everything I can think of with no luck.

I would love to give a donation but I'm trying to recover from a stroke I had in June and just getting back able to use my left hand, I have been out of work since the stroke. Please accept my apology.
Was this
answer
helpful?
Yes
No
Monday, December 7th, 2020 AT 8:42 AM (Merged)
Tiny
HMAC300
  • MECHANIC
  • 48,601 POSTS
I'd look for a vacuum leak or one of the injectors or more screwing up. Also try chaning the fuel filter as that will screw up the injectors and lean it out as well. Also check the crank and cam sensors for resistance as they will go bad and not give a code. Also check the fuel pressure as that may be out of whack as well.
Was this
answer
helpful?
Yes
No
Monday, December 7th, 2020 AT 8:42 AM (Merged)
Tiny
ROOSTER_MAN45
  • MEMBER
  • 11 POSTS
The fuel filter was replaced, and the pressure was also checked and was good. The engine was running great before this happened, oh and I checked the iac motor, all ok, I pulled some of the plugs and they were smutty and black looks like too much fuel but no black smoke.
Was this
answer
helpful?
Yes
No
-1
Monday, December 7th, 2020 AT 8:42 AM (Merged)
Tiny
HMAC300
  • MECHANIC
  • 48,601 POSTS
I still think it's a fuel delivery problem, like an injector screwing up. If you have the "pro type" injector cleaner try that before replaceing injectors or have a ford dealer check your injectors as they can do that. I just find it odd that before the belt broke everything was ok and then now it screws up. Of course the two or three that worked on it before probably aren't telling the whole story as they forget. I still think you ought to check the resistance in the crank and cam sensors as they could be on the high side causing the problem as well.
Was this
answer
helpful?
Yes
No
Monday, December 7th, 2020 AT 8:42 AM (Merged)
Tiny
ROOSTER_MAN45
  • MEMBER
  • 11 POSTS
I purchased a haynes book on this truck thinking it had the resistance listed, but of course all it had was info sensors and how to replace them, they used to have the part of checking them but they cheaped out like everything else.I'm a retired diesel mechanic of 25 yrs. Then all the other stuff happened to me, but oh well does anyone know the resistance ranges on these sensors. Oh and buy the way when I had the exhaust plugs out during the compression test there was fuel coming out of all the cylinders I wasn't checking. Went out today and sprayed around the intake and the injectors and the plenum for leaks, none found, fuel pressure was at 62 lbs at all times. Running or not.
Was this
answer
helpful?
Yes
No
Monday, December 7th, 2020 AT 8:42 AM (Merged)
Tiny
HMAC300
  • MECHANIC
  • 48,601 POSTS
I looked in the repair manual that is available to me and the resistance isn't shown there either. But if you are getting fuel out of a cylinder while testing then i'd have to say the injector is bad as that 's what goes wrong with them they will either lean out or flood the cylinder. Call a seervice dept at a Ford dealer and see if they can check them it says in the tips that they can to see what's wrong with them. In a worst case you could go to an auto parts and check resistance on a new and see what you have on yours. Same with a cam sensor. Other than that I have no idea what to tell you next.
Was this
answer
helpful?
Yes
No
Monday, December 7th, 2020 AT 8:42 AM (Merged)
Tiny
CHARLIE.P
  • MEMBER
  • 1 POST
  • 1999 FORD RANGER
  • 4 CYL
  • 2WD
  • AUTOMATIC
  • 120,000 MILES
I changed the timing belt and now it wont start. Need suggestions.
Was this
answer
helpful?
Yes
No
Monday, December 7th, 2020 AT 8:42 AM (Merged)
Tiny
BMRFIXIT
  • MECHANIC
  • 19,053 POSTS
Recheck the timing marks
make sure u have the correct marks on


https://www.2carpros.com/forum/automotive_pictures/99387_ranger_98_4.jpg

Was this
answer
helpful?
Yes
No
Monday, December 7th, 2020 AT 8:42 AM (Merged)
Tiny
JOSHWISSEHR
  • MEMBER
  • 1 POST
  • 1999 FORD RANGER
  • 4 CYL
  • 2WD
  • MANUAL
  • 101,000 MILES
My timing belt broke. I went threw the process of replacing it, aligning the cam pulley with the arrow, the oil pump pulley with the diamonds, and the crank to TDC. Everything is put back together. It starts, runs, and drives. Tho I know the timing isn't perfect. At low rpm the car bogs slightly and when I get threw to about mid rpm it drives smooth. Should I take it all back apart and turn the crank pulley clockwise or counter clockwise slightly? One thing tho, when my crank pulley and cam pulley were perfect the oil pump pulley (diamond mark) was landing on either side of the exact mark as I advanced or turned the pulley back from notch to notch in the belt. Could this have something to do with the tension of the belt? I released the tensioner when I put the belt on and let it put its own tension on the belt, then tightened the set bolt. Do I need more tension?
Was this
answer
helpful?
Yes
No
Monday, December 7th, 2020 AT 8:42 AM (Merged)
Tiny
KHLOW2008
  • MECHANIC
  • 41,814 POSTS
Hi Joshwissehr,

Thank you for the donation.

To adjust the tension of the belt, the spring for the tensioner is sufficient. However you need to turn the the engine to compression stroke to get the correct tension.

After installation and everything tightened, turn the crankshaft clockwise at least one revolution to let the belt settle. Slowly turn the crankshaft until compression is felt. Loosen the tensioner and retighten when the spring tension moves the bearing.


https://www.2carpros.com/forum/automotive_pictures/192750_TimingBelt99RangerFig01_1.jpg

Was this
answer
helpful?
Yes
No
Monday, December 7th, 2020 AT 8:42 AM (Merged)
Tiny
WAB
  • MEMBER
  • 15 POSTS
  • 1998 FORD RANGER
Engine Mechanical problem
1998 Ford Ranger 4 cyl Two Wheel Drive Manual 78k miles

How long is this timing belt suppose to last on a 2.4L Ranger? The manual that came with the truck new NEVER says to replace it!

Also, if it brakes does it wreck the engine? I had the same type engine in a Pinto (many) years ago, and when the timing belt broke I think it bent the valves?

Bill
Was this
answer
helpful?
Yes
No
Monday, December 7th, 2020 AT 8:44 AM (Merged)
Tiny
98RANGERXLT
  • MECHANIC
  • 301 POSTS
Usually around 60 to 100k miles dependiing on your driving.
Was this
answer
helpful?
Yes
No
+1
Monday, December 7th, 2020 AT 8:44 AM (Merged)
Tiny
WAB
  • MEMBER
  • 15 POSTS
I wonder why the manual does not mention it, it cover EVERYTHING else?

Does anyone know if the valves hit in the 2.5?

Bill
Was this
answer
helpful?
Yes
No
+1
Monday, December 7th, 2020 AT 8:44 AM (Merged)

Please login or register to post a reply.