HOME
ASK A QUESTION
REPAIR GUIDES
BECOME A MEMBER
LOG IN
Login with Facebook
OR
Remember me
NOT A MEMBER?
FORGOT PASSWORD?
CONTACT US
PRIVACY POLICY
TERMS AND CONDITIONS
☰
Home
Ford
Mustang
Interior
Instrument Cluster
Gauges
Speedometer
Not Working
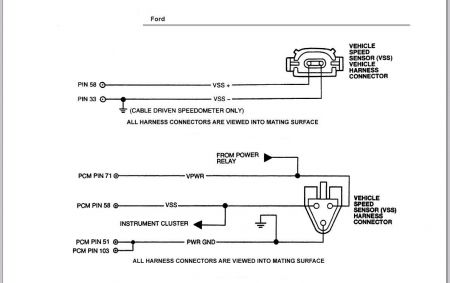
96 Mustang gt 4.6
BURT MCDANIEL
MEMBER
1996 FORD MUSTANG
My speedometer stopped working - how do I fix it - is it a cable or sensor or electronic?
Wednesday, October 10th, 2007 AT 6:03 PM
1 Reply
BMRFIXIT
MECHANIC
19,053 POSTS
Was this
answer
helpful?
Yes
No
-1
Wednesday, October 10th, 2007 AT 9:17 PM
Please
login
or
register
to post a reply.
Related Instrument Cluster Gauge Speedometer Not Working Content
2001 Ford Mustang Speedo Not Working
This Morning I Had To Boost The Battery On The Mustang To Start It. When I Got In And Had Driven A Few Blocks I Checked My Speed And Speedo...
Asked by
dwmac1
·
1 ANSWER
2001
FORD MUSTANG
2005 Ford Mustang Speedometer Doesn't Work When Cold
A Few Weeks Ago I Noticed That My Speedometer Was Off By About 10 Mph When I Was Driving. At First I Presumed It To Be A Battery Problem. It...
Asked by
raukolinae
·
1 ANSWER
2005
FORD MUSTANG
1997 Ford Mustang Speedometer
My Speed Meter Stop Working I Replace The Sensor And Drive Gear My Speed Meter Works Now But When I Drive The Speed Limit Will Be 45mph But...
Asked by
watchyourwords87
·
2 ANSWERS
1997
FORD MUSTANG
1995 Ford Mustang Speedo
Put In New Vss, New Cluster. Speedo Does Not Work All Other Gages In Cluster Work
Asked by
yankey
·
1 ANSWER
1995
FORD MUSTANG
1996 Ford Mustang Oil Pressure Gauge/lifter
My 6 Cyl Engine On My 1996 Ford Mustang. Has A Lifter Knocking Plus My Oil Pressure Gauge Jumps Up And Down All The Time, I Don't Burn Oil...
Asked by
tgriff68
·
1 ANSWER
1996
FORD MUSTANG
VIEW MORE
Ask a Car Question. It's Free!
Instrument Cluster Replacement
How to Use a Test Light
Blend Door Actuator Replacement