Replace the U joints?

Tiny
JULIO1226
  • MEMBER
  • 2003 FORD EXPLORER
  • 6 CYL
  • 4WD
  • AUTOMATIC
  • 35,000 MILES
After accelerating the car to about 30 - 60 mph and I let off the gas pedal so it can cruise and deccelerate. A thumping sound begins inside the car. Outside the car a grinding sound begins same as the thumping inside.

When I push on the 4X4 high button, the thumping stops but the grinding outside changes to a continuous grinding sound.

When I push the 4X4 auto button it returns back to the thumping inside coinciding with the outside grinding/thumping.

I changed the tires and had a wheel alignment thinking they were the cause but they were not.

Hope these symptoms help in your diagnosis.
Friday, January 9th, 2009 AT 1:41 PM

20 Replies

Tiny
ASEMASTER6371
  • MECHANIC
  • 52,796 POSTS
Good morning,

This sounds like the transfer case itself is the issue.

When was the last time you changed the fluid? If it is low or the fluid is old, it will not lube the internal bearings and this is the result.

I posted the procedure for replacing the transfer case below.

Roy

Transfer Case

1. Remove the upper radiator fan shroud.
2. Remove the rear driveshaft.
3. Remove the front driveshaft.

ImageOpen In New TabZoom/Print

4. Remove the four bolts and the skid plate, if equipped.

ImageOpen In New TabZoom/Print

5. Drain the fluid if the transfer case is to be disassembled.

ImageOpen In New TabZoom/Print

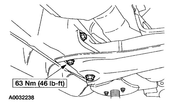
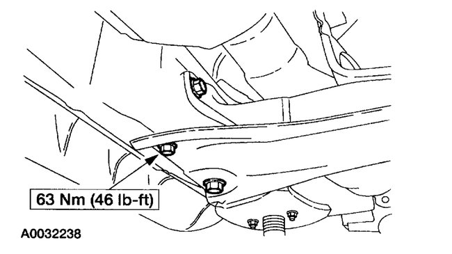
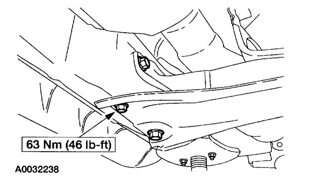
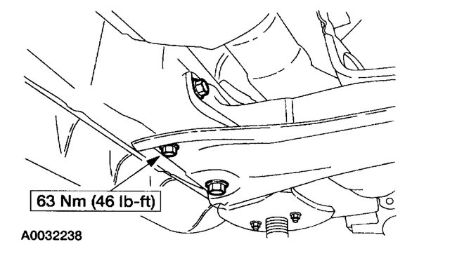
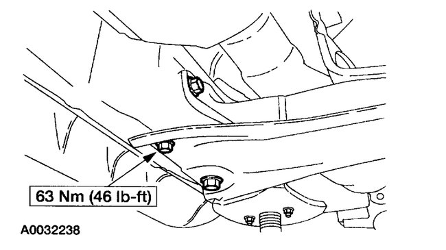
6. Remove the RH and LH heat shield-to-crossmember bolts.

ImageOpen In New TabZoom/Print

imageOpen In New TabZoom/Print

7. Remove the components in the order indicated in the illustration and table.
8. To install, reverse the removal procedure.

Item 3: Crossmember Bolt Removal Note

imageOpen In New TabZoom/Print

1. Remove the eight crossmember-to-frame bolts.

Item 5: Crossmember Removal Note

imageOpen In New TabZoom/Print

1. Position a suitable transmission jack to the transfer case. Securely strap the transfer case to the jack.

Item 9: Transfer Case Removal Note

imageOpen In New TabZoom/Print

1. Position a suitable transmission jack under the transmission.
Was this
answer
helpful?
Yes
No
Friday, November 27th, 2020 AT 4:50 AM
Tiny
TOM H.
  • MEMBER
  • 5 POSTS
  • 2001 FORD EXPLORER
  • 6 CYL
  • 4WD
  • AUTOMATIC
  • 137,000 MILES
I'm trying to drop the driveshaft on my 01 ford explorer so I can change out the U-joints. The problem is I don't know what size socket to use to drop the shaft. All I can tell you is it is like a Inverted Torx - E16 is too small and E18 is too big. Is this a special type of socket? And if so what type of socket is it

Thanks
Was this
answer
helpful?
Yes
No
Friday, November 27th, 2020 AT 4:37 PM (Merged)
Tiny
BMRFIXIT
  • MECHANIC
  • 19,053 POSTS
Try 12 point socket
make sure E BRAKE ON
block tires too
Was this
answer
helpful?
Yes
No
+1
Friday, November 27th, 2020 AT 4:37 PM (Merged)
Tiny
TOM H.
  • MEMBER
  • 5 POSTS
12 point will not work - Already tried that option -

Thanks
Was this
answer
helpful?
Yes
No
Friday, November 27th, 2020 AT 4:37 PM (Merged)
Tiny
BMRFIXIT
  • MECHANIC
  • 19,053 POSTS
Which one are you doing front or rear
Was this
answer
helpful?
Yes
No
Friday, November 27th, 2020 AT 4:37 PM (Merged)
Tiny
TOM H.
  • MEMBER
  • 5 POSTS
Working on the rear
Was this
answer
helpful?
Yes
No
Friday, November 27th, 2020 AT 4:37 PM (Merged)
Tiny
BMRFIXIT
  • MECHANIC
  • 19,053 POSTS
We had no problem using a 12 point swivel
u think some body try before and strip the head on it.

Good luck
Was this
answer
helpful?
Yes
No
Friday, November 27th, 2020 AT 4:37 PM (Merged)
Tiny
TOM H.
  • MEMBER
  • 5 POSTS
Thanks for your help - I finally got the bolts broke free. Now the fun can begin -
Was this
answer
helpful?
Yes
No
Friday, November 27th, 2020 AT 4:37 PM (Merged)
Tiny
BMRFIXIT
  • MECHANIC
  • 19,053 POSTS
Good luck
be careful with the caps
so they do not fall apart on you
fun fun fun !
Was this
answer
helpful?
Yes
No
Friday, November 27th, 2020 AT 4:37 PM (Merged)
Tiny
TOM H.
  • MEMBER
  • 5 POSTS
Oh it's been a blast so far - Waiting on my uncle to get home so I can take the shaft down and have the old joints pressed out -

Shoulda took it to a shop regards -
Was this
answer
helpful?
Yes
No
Friday, November 27th, 2020 AT 4:37 PM (Merged)
Tiny
JUKEITZ
  • MEMBER
  • 1 POST
  • 2000 FORD EXPLORER
  • 6 CYL
  • 4WD
  • AUTOMATIC
  • 85,000 MILES
I have a 2000 Ford Explorer w/ 85,000 miles. A few days ago I was pulling into a friend's drive and while accelerating to get over a pile of snow/slush in the apron, I heard a popping noise. My friend immediately made a comment about "snapping the u-joints". I have only driven the vehicle once and that was back home. I heard the noise again (i believe when I was shifting from F-R) and my question is this: How safe is the vehicle to drive? I don't have the finances to do a repair right now (especially if costly) but need to still use the vehicle to get around. If even limited driving will do more damage, I can use public transportation but if just some small daily trips are ok, I'd like to know. I've tried to give you as much information as I could. Is my vehicle safe to drive (for now)? Thank you. Any and all help is greatly appreciated!
Was this
answer
helpful?
Yes
No
Friday, November 27th, 2020 AT 4:37 PM (Merged)
Tiny
JACOBANDNICKOLAS
  • MECHANIC
  • 110,192 POSTS
First, I can't guarantee the safety of anything without seeing and checking it myself. However, I can tell you that universals do go bad. Usually not the way you described, but I guess it's possible. If you hear a clunk, you may have damaged one. Usually, when a u-joint is bad, you will get a loud clunk when shifting from P to R or R to P. Also, many times when they get really bad, you will experience a vibration while driving. If you don't feel a vibration chances are it isn't too bad. Try this. Secure the vehicle with the park brake so it can't move. WIth the engine off, place the vehicle in neutral, craw under the car, and see if there is excessive play in any of the u-joints. If they feel tight, chances are they are okay and it would be safe to drive. Also, keep in mind that u-joints are not expensive to purchase. Usually you can get them for under 20 dollars.

Are there any other symptoms you can describe?

Let me know.

Joe
Was this
answer
helpful?
Yes
No
Friday, November 27th, 2020 AT 4:37 PM (Merged)
Tiny
EXPLORERSPORT99
  • MEMBER
  • 1 POST
  • 1999 FORD EXPLORER
My ford explorer sport just recently started shaking at 65-70 MPH and has been this way since I was stuck in a large amount of mud. Some of my guy friends said it's probably a U-joint and I was wondering, how much does it cost to get that repaired? Also, what else could it possibly be? And how much can I expect to pay to get it fixed? I'm a poor college kid and I need to know if I can afford it! Any help is greatly appreciated!
Was this
answer
helpful?
Yes
No
Friday, November 27th, 2020 AT 4:37 PM (Merged)
Tiny
LOSONE
  • MECHANIC
  • 1,616 POSTS
If it shakes when the mud is gone, I expect you have a tire with a broken radial belt. Sometimes when you spin in the mud it tends to collapse the tire and causes a belt seperation. Good Luck
Was this
answer
helpful?
Yes
No
Friday, November 27th, 2020 AT 4:37 PM (Merged)
Tiny
BEN NELMS
  • MEMBER
  • 2 POSTS
  • 1998 FORD EXPLORER
  • V8
  • 2WD
  • AUTOMATIC
  • 169,000 MILES
When i'am driving between 55 and 65 miles a hour I feel a jurking motion when I release the acelerator and reaply it. Could this be driveshaf and u-joint problems?
Was this
answer
helpful?
Yes
No
Friday, November 27th, 2020 AT 4:37 PM (Merged)
Tiny
MERLIN2021
  • MECHANIC
  • 17,250 POSTS
Check the fluid in the tranny, make sure it's full check while on level ground, in park engine hot. Also check the color of the fluid, should be red. Has the tranny filter been replaced yet? 169,000?
Was this
answer
helpful?
Yes
No
Friday, November 27th, 2020 AT 4:37 PM (Merged)
Tiny
PATRICIA.SOMERS
  • MEMBER
  • 1 POST
  • 1997 FORD EXPLORER
  • 6 CYL
  • 4WD
  • AUTOMATIC
  • 190,000 MILES
My truck makes a werid noise randomly after getting off the highway and then making any slow very sharp turns almost as if my wheel is jumping when it is turned I heard maybe the u joint where it connects to the transfer case?
Was this
answer
helpful?
Yes
No
Friday, November 27th, 2020 AT 4:38 PM (Merged)
Tiny
BILLYMAC
  • MECHANIC
  • 2,204 POSTS
Hi yes this could be the u joints in the front shaft it could also be the front axle is not unlocking from 4x4
but have the front suspension checked. Because this could also be a ball joint.

Prob u joints but for safety you need to have the balljoints checked. Ty billymac
Was this
answer
helpful?
Yes
No
Friday, November 27th, 2020 AT 4:38 PM (Merged)
Tiny
5GEARHEADS
  • MEMBER
  • 1 POST
  • 1994 FORD EXPLORER
  • 6 CYL
  • 4WD
  • AUTOMATIC
  • 198,000 MILES
Hi
I wanted to know what special tools were needed to change the the front axel u-joints, and upper and lower ball joints, and lf there is best order of opperations.
Was this
answer
helpful?
Yes
No
Friday, November 27th, 2020 AT 4:38 PM (Merged)
Tiny
BMRFIXIT
  • MECHANIC
  • 19,053 POSTS
Removal
1.Raise and support vehicle. Remove wheel assembly. Remove caliper from rotor. Remove locking hub. 2.Remove wheel bearings, lock nuts, hub and rotor. Remove spindle-to-steering knuckle nuts. Tap spindle with plastic hammer to free spindle from steering knuckle.
Remove spindle, spindle seat (if equipped) and splash shield.
3.On right side applications, remove and discard keystone clamp from shaft assembly and stub shaft. Slide rubber boot onto stub shaft. Remove shaft assembly from right axle.
4.Remove left shaft assembly (if required). On all applications, wrap spindle in protective cloth and place second step of spindle in soft-jawed vise.
5. remove oil seal using slide hammer and Seal Remover (TOOL-1175-AC). Remove needle bearing from spindle. Press seal from shaft assembly.

6.Remove the spindle and steering shaft assembly
Disconnect steering linkage from steering knuckle.
7.Remove cotter pin and loosen ball joint nuts. Strike steering knuckle near ball joint to release ball joint. Remove ball joint nuts. Note position of camber adjuster on top of axle
Remove camber adjuster and steering knuckle
8. Remove snap ring from bottom ball joint socket. 9
9. .Assemble "C" Frame (T74P-4635-C) and Receiver Cup (T83T-3050-A for Explorer and Ranger; D80T-3010-A2 for Bronco and F150) on the lower ball joint.
10. Turn forcing screw clockwise until lower ball joint is removed from spindle. Repeat procedure to remove upper ball joint.


https://www.2carpros.com/forum/automotive_pictures/99387_Graphic1_84.jpg



https://www.2carpros.com/forum/automotive_pictures/99387_Graphic2_44.jpg



https://www.2carpros.com/forum/automotive_pictures/99387_Graphic3_19.jpg



https://www.2carpros.com/forum/automotive_pictures/99387_Graphic4_10.jpg

Was this
answer
helpful?
Yes
No
+1
Friday, November 27th, 2020 AT 4:38 PM (Merged)

Please login or register to post a reply.