Flasher relay location

Tiny
CARMICHAEL
  • MEMBER
  • 2013 NISSAN LEAF
  • 57,000 MILES
Where is the flasher relay located on a w013 Nissan Leaf S?
Tuesday, July 2nd, 2019 AT 1:16 AM

7 Replies

Tiny
SCGRANTURISMO
  • MECHANIC
  • 4,897 POSTS
Hello,

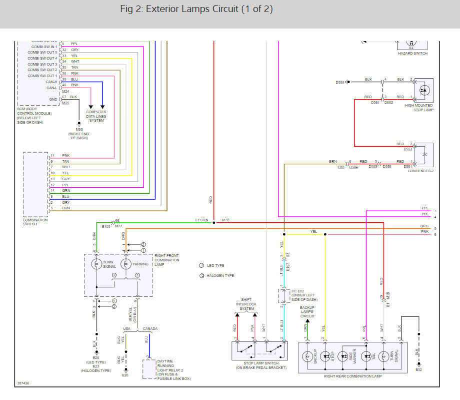
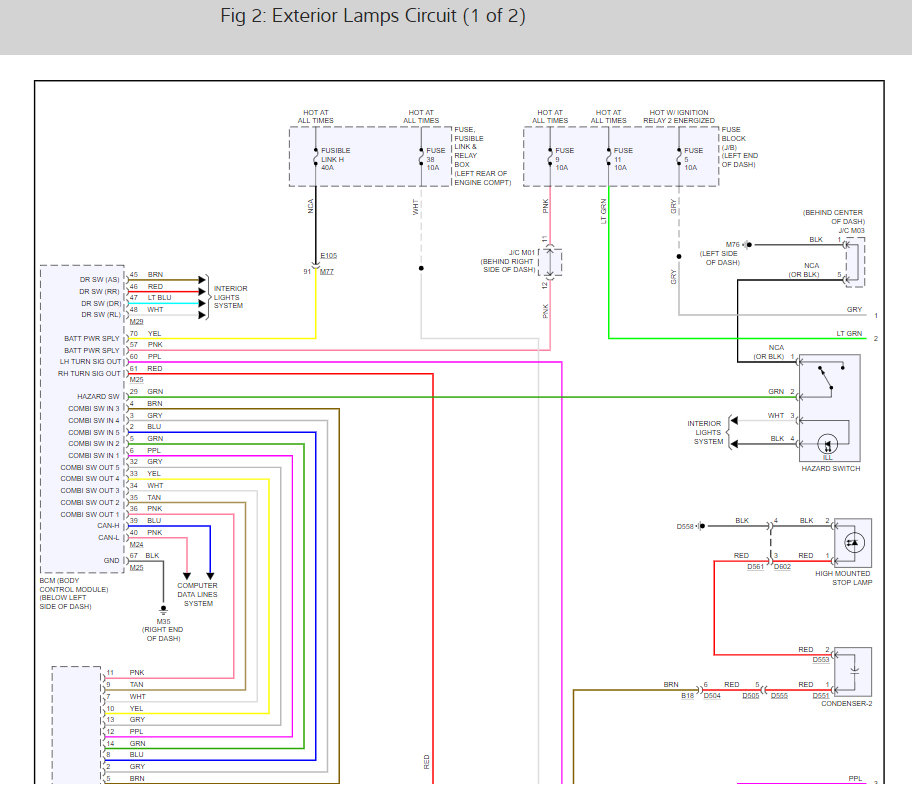
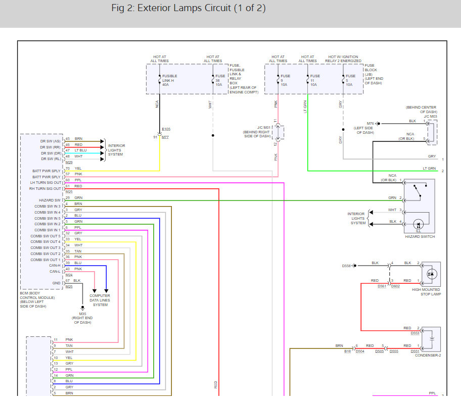
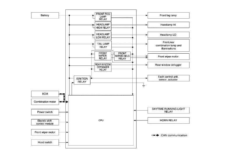
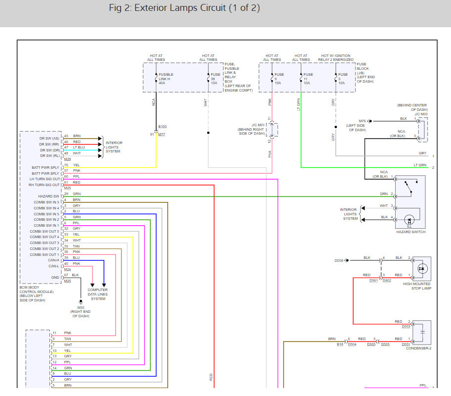
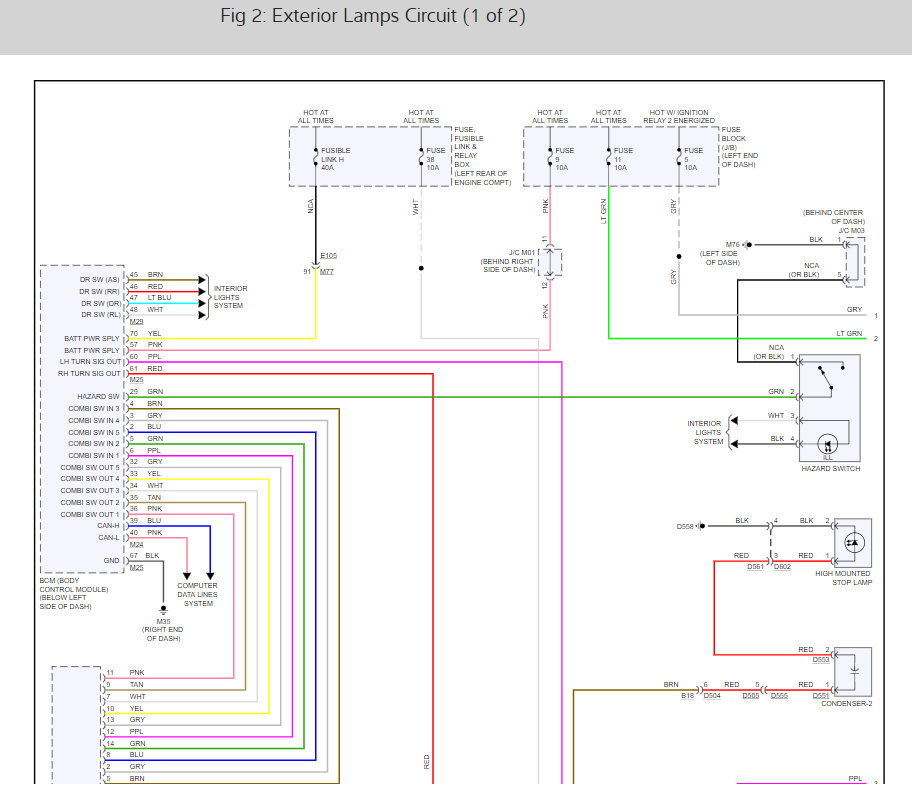
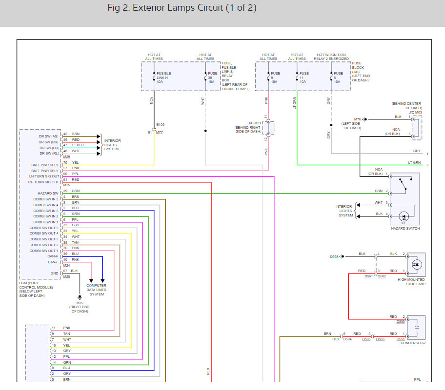
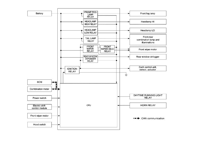
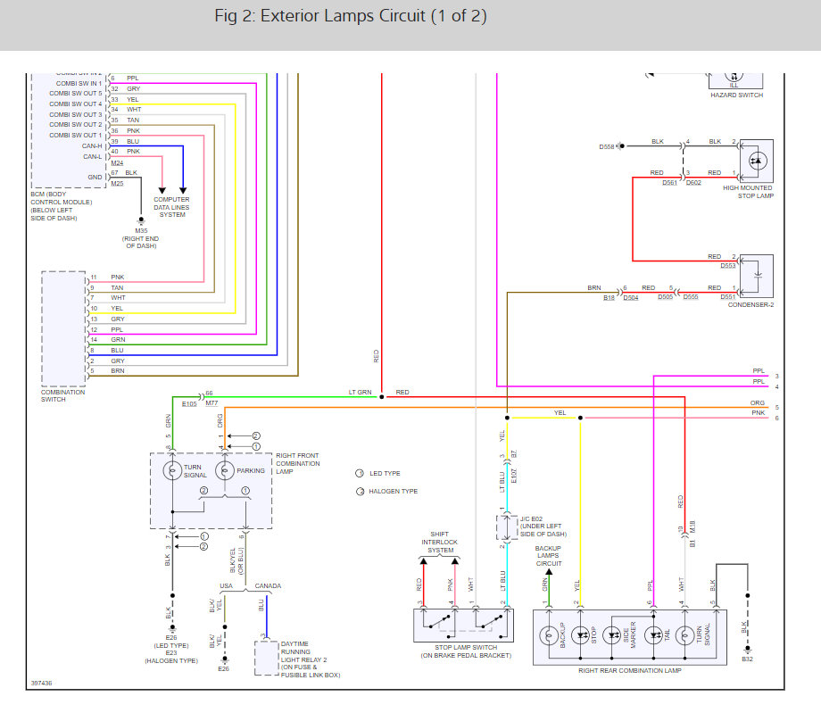
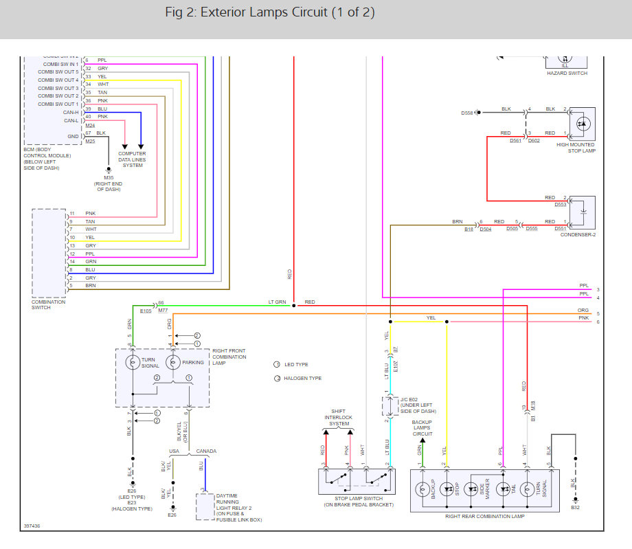
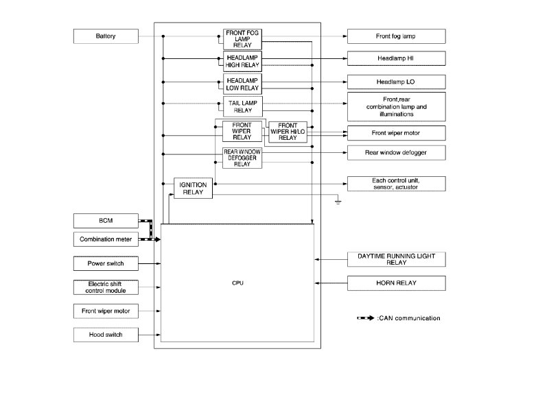
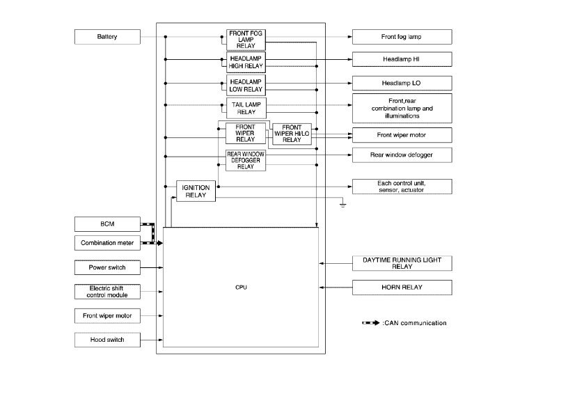
The hazard switch is the relay for your vehicle. I have included in the diagrams down below the operation and a factory diagnostic troubleshooting guide for the hazard switch in your vehicle. Please go through this guide and get back to us with what you are able to find out.

Thanks,
Alex
2CarPros
Was this
answer
helpful?
Yes
No
-1
Tuesday, July 2nd, 2019 AT 5:40 PM
Tiny
CARMICHAEL
  • MEMBER
  • 6 POSTS
Okay. Maybe I asked the wrong question. Where is the relay for the turn signals located?
Was this
answer
helpful?
Yes
No
+1
Wednesday, July 31st, 2019 AT 5:44 PM
Tiny
SCGRANTURISMO
  • MECHANIC
  • 4,897 POSTS
Hello again,

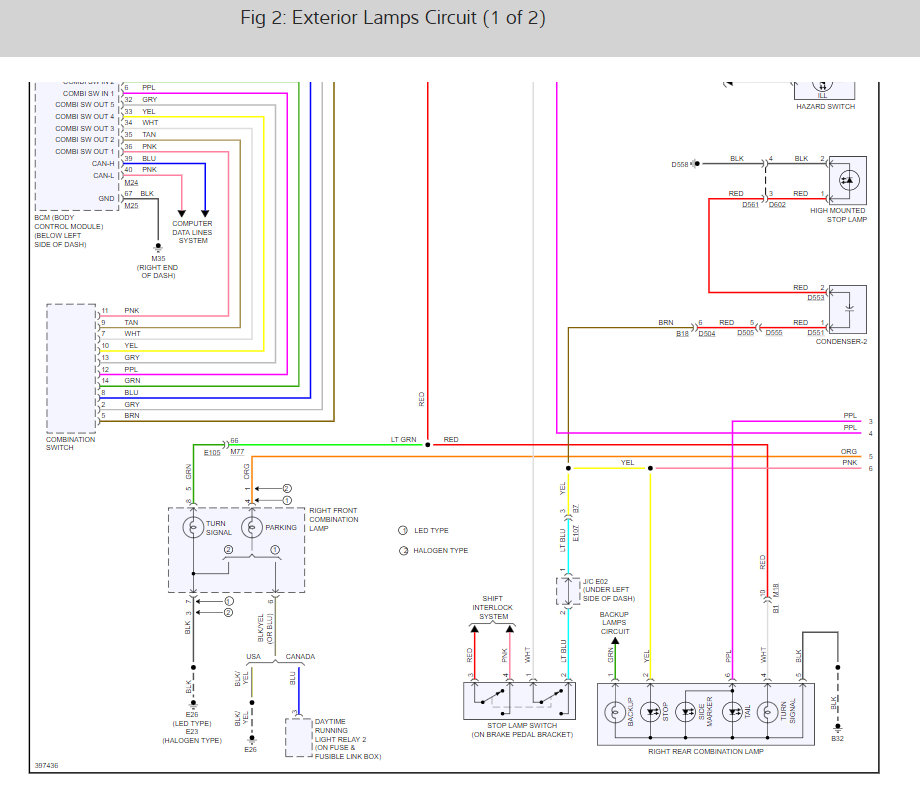
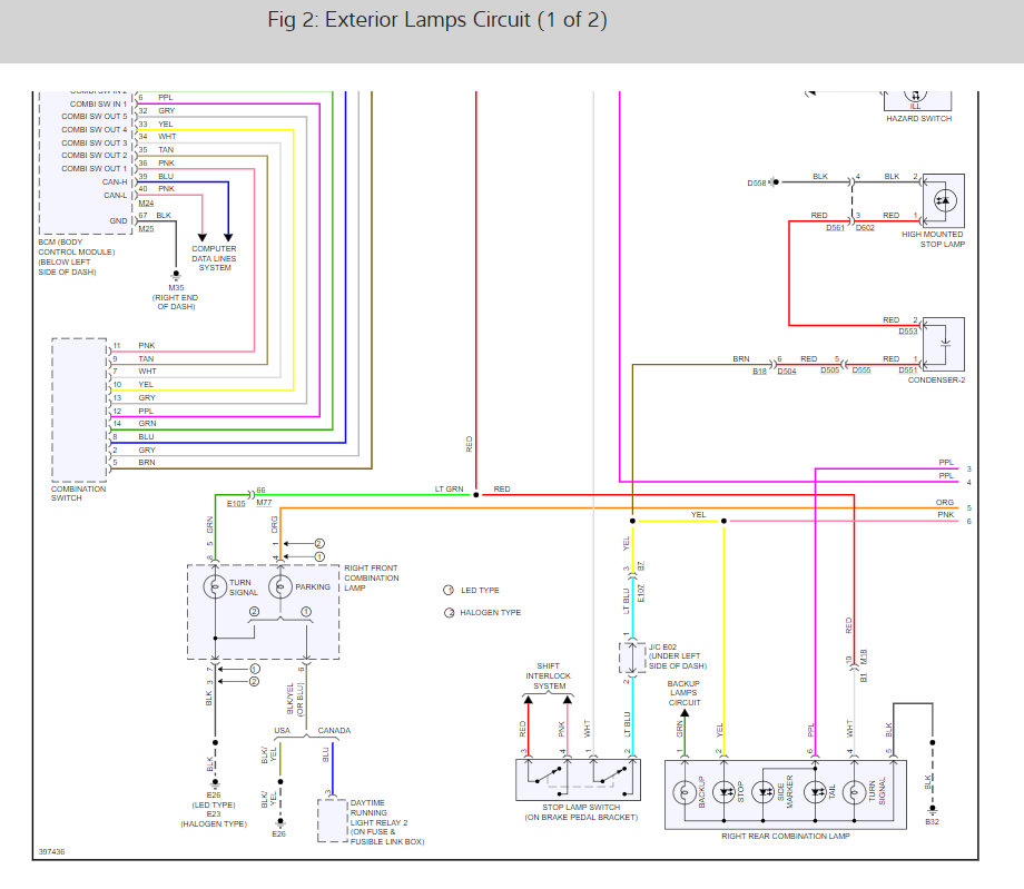
No, you asked the right question, it's the answer that is throwing you off. There is no hazard/turn signal relay. It is done through the hazard switch, combination switch, Integrated Power Distribution Module (IPDM), Body Control Module (BCM) and Computer Area Network(CAN) system. I have included the description of how everything works together in harmony in the diagrams down below. If you get lost, like I did, read it again. It kind of makes you wish they would have stuck with a relay. That's just my opinion. Anyway, there it is. Please keep us informed.

Thanks,
Alex
2CarPros
Was this
answer
helpful?
Yes
No
+1
Thursday, August 1st, 2019 AT 1:42 AM
Tiny
CARMICHAEL
  • MEMBER
  • 6 POSTS
Oh this is horrible news, isn't it?

For anyone, like myself, who replaced their factory turn signal bulbs with LED's is doomed to hyper flashing or forced to use resistors (and using resistors defeats the benefit of the LED's).
Was this
answer
helpful?
Yes
No
Thursday, August 1st, 2019 AT 11:00 AM
Tiny
KEN L
  • MASTER CERTIFIED MECHANIC
  • 55,322 POSTS
Yes, the system is not designed for alternative bulbs, you must return the bulbs to stock for proper operation.
Was this
answer
helpful?
Yes
No
Saturday, August 3rd, 2019 AT 11:41 AM
Tiny
CARMICHAEL
  • MEMBER
  • 6 POSTS
I'm curious to know what would happen if I soldiered an electronic relay between the Existing hazard switch assembly and the LED bulbs. I wasn't able to suss out any potentially detrimental unintended consequences on my own, so I may patch one in without soldier just to give it a try in the next day or so. Of course if you don't see a report of my findings by Tuesday, then you'll know what a miserable failure it was and you'll also know the depth of my shame over the whole undertaking.
Was this
answer
helpful?
Yes
No
+1
Sunday, August 4th, 2019 AT 3:06 AM
Tiny
KEN L
  • MASTER CERTIFIED MECHANIC
  • 55,322 POSTS
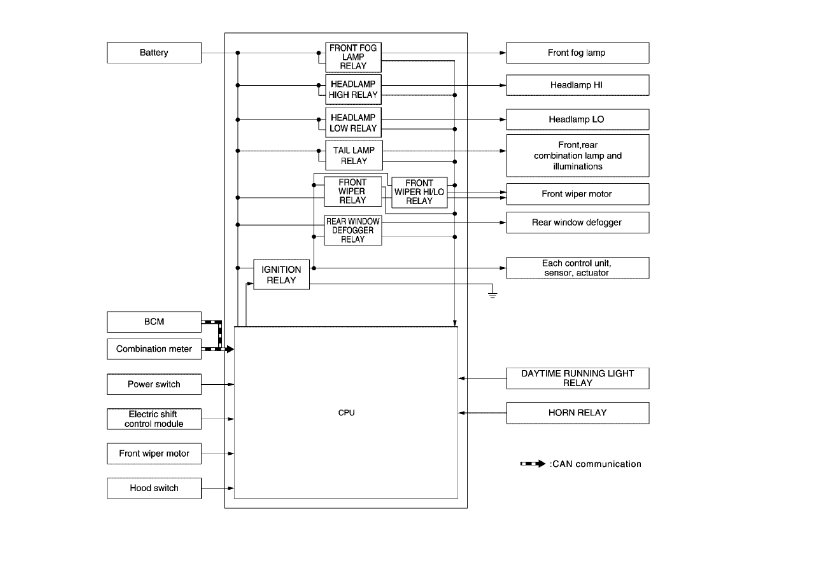
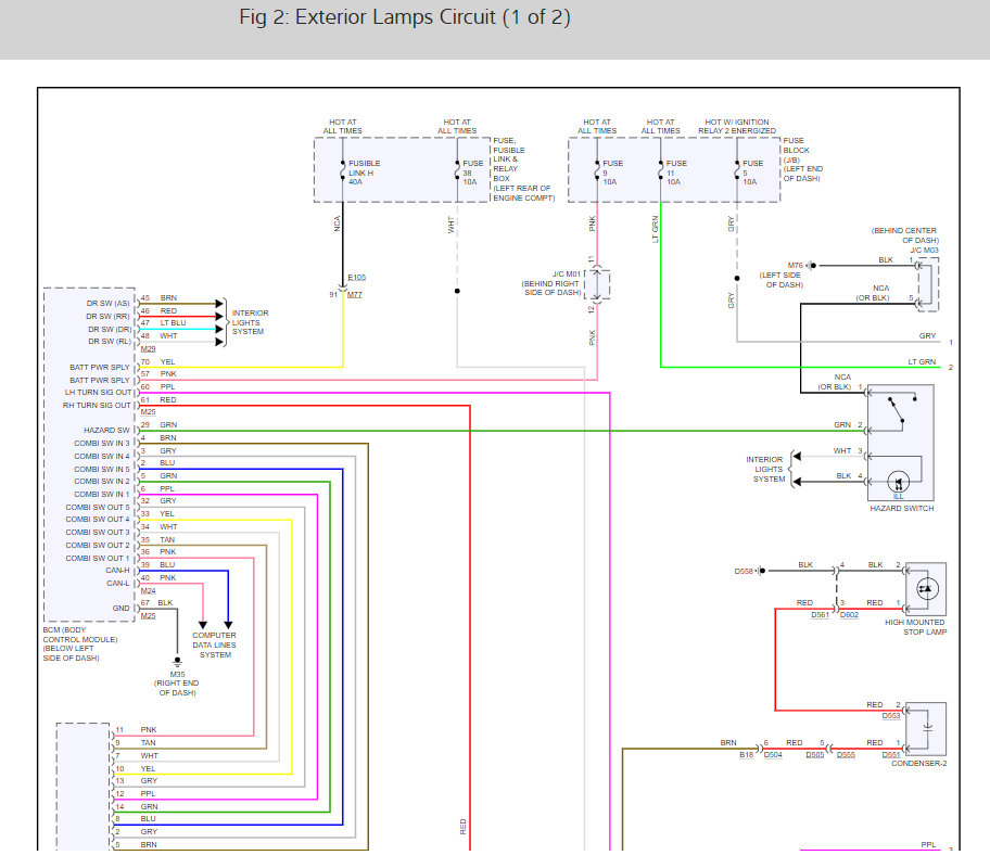
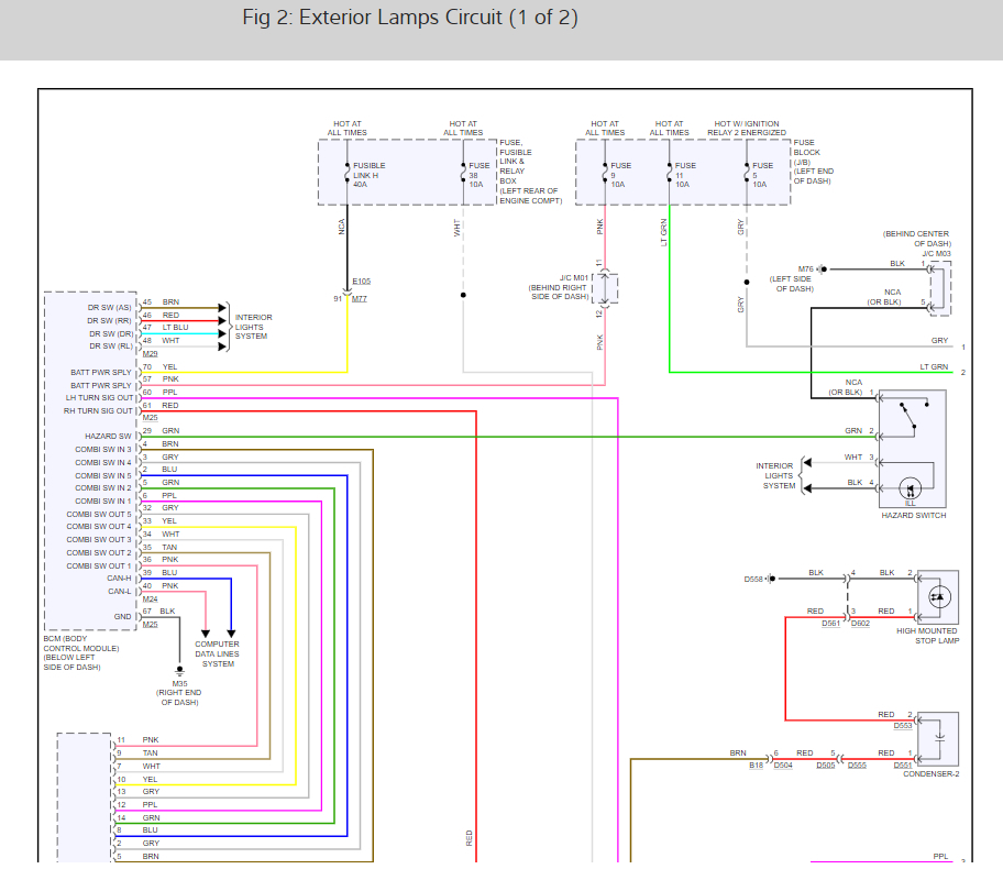
Please do not solider a flasher in you will create more problems. This car does not have a flasher. I looked into the problem a little more and it looks like the BCM control the flashing. Here are the blinker wiring diagrams so you can see how the system works and instructions and diagrams below to show you how to change out the BCM. Check out the diagrams (below). Please let us know what happens. There is no shame here, we all get through it the best we can :)
Was this
answer
helpful?
Yes
No
+1
Monday, August 5th, 2019 AT 9:37 AM

Please login or register to post a reply.