Sunday, April 25th, 2021 AT 10:58 AM
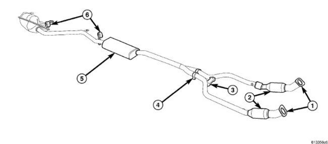
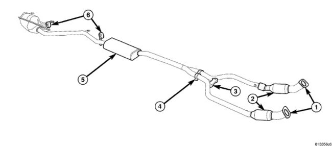
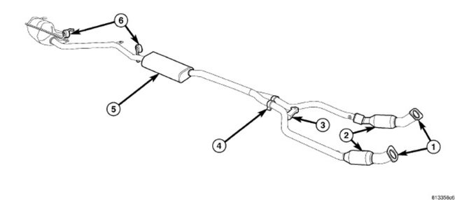
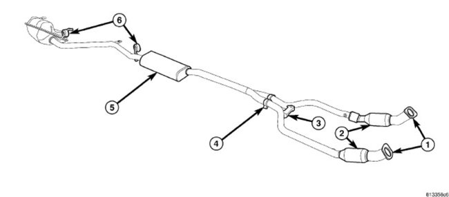
I was wondering if the Flowmaster Outlaw Cat-back exhaust system would fit either bbk off-road mid pipe of highflow cat mid pipe and would this all go good with bank headers also?



