Electrical wiring diagram

Tiny
MUNKIMANN
  • MEMBER
  • 1999 CADILLAC DEVILLE
  • 4.6L
  • V8
  • 2WD
  • AUTOMATIC
  • 123,400 MILES
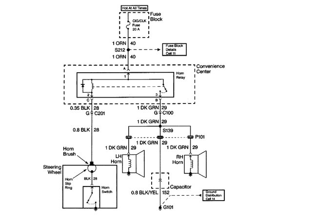
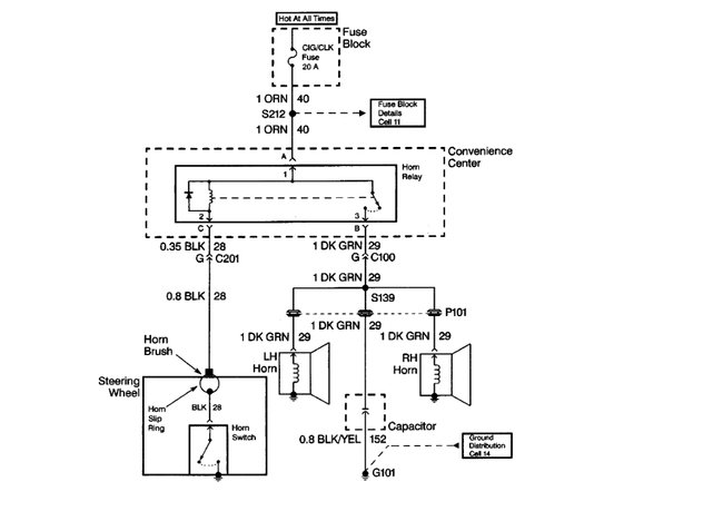
Can anyone explain the "Pxxx" symbols and the "Axxx" symbols in the wiring diagrams?
Wednesday, November 27th, 2019 AT 1:17 PM

1 Reply

Tiny
SCGRANTURISMO
  • MECHANIC
  • 4,897 POSTS
Hello,

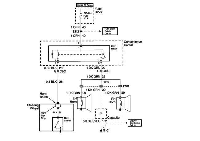
I'm not sure exactly what you mean by this but in the diagrams down below I have included a description of electrical symbols and how to read a wiring diagram for you. Please go through these diagrams and let us know if you have any other questions. I hope that this helps.

Thanks,
Alex
2CarPros
Was this
answer
helpful?
Yes
No
Wednesday, November 27th, 2019 AT 5:55 PM

Please login or register to post a reply.

Related General Content