Radio stays on

Tiny
ANNIEBNUTZ
  • MEMBER
  • 2004 OLDSMOBILE ALERO
  • 2.2L
  • 4 CYL
  • 2WD
  • AUTOMATIC
  • 200,000 MILES
Radio stays on when the key is out of the ignition.
Tuesday, March 3rd, 2020 AT 9:14 AM

3 Replies

Tiny
SCGRANTURISMO
  • MECHANIC
  • 4,897 POSTS
Hello,

This sounds like you have a short to power in the wire that supplies power to the radio. In the diagrams down below I have included the wiring diagram for your radio as well as a guide on how to find a short to power in an automotive electrical circuit. I have highlighted the wire in the wiring diagram that you need to check for you. Please go through these guides and get back to us with what you are able to find out.

Thanks,
Alex
2CarPros
Was this
answer
helpful?
Yes
No
Tuesday, March 3rd, 2020 AT 9:40 AM
Tiny
ANNIEBNUTZ
  • MEMBER
  • 14 POSTS
First of all thank you for your timely response regarding my issues. Before I start working on this, I need to add that when the car is parked, the key with no fob in my hand and 20 ft away from the car, the horn chirps, and car locks. And the radio will be off when i'm out of the car, doors locked and 10 minutes to hours later the radio is blaring. I have exorcised my car many times-"the power of Christ compels you"! Maybe another chant. I have to make myself laugh. Usually at myself. But I live in a very small town. Blah, blah, blah. Sorry to run on. I'll post what I figure out. Again thanks!
Was this
answer
helpful?
Yes
No
Wednesday, March 4th, 2020 AT 6:00 AM
Tiny
SCGRANTURISMO
  • MECHANIC
  • 4,897 POSTS
Hello again,

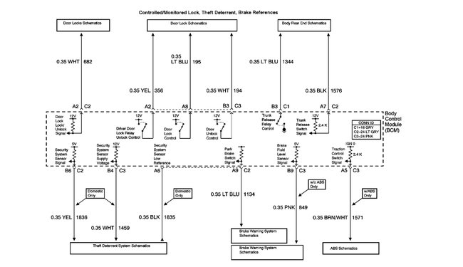
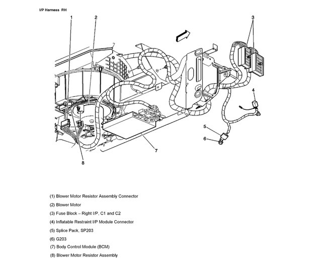
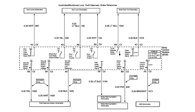
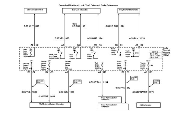
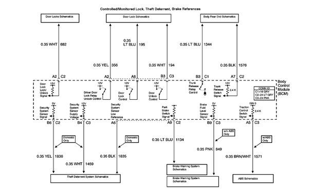
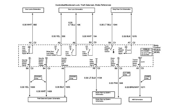
Okay, now that you have told me that, let's go about this differently. This definitely sounds like a problem with your vehicle's Body Control Module[BCM]. Let's start by checking the BCM ground, Ground 202 which is on the left side of the dash by the fuse block. Make sure that it is clean, tight, corrosion free, and making good metal to metal contact. In the diagrams down below I have included a diagram of the location of the BCM, and the BCM wiring diagrams for you for reference. Please start by checking ground 202 and getting back to us with what you find out.

Thanks,
Alex
2CarPros
Was this
answer
helpful?
Yes
No
Wednesday, March 4th, 2020 AT 6:13 AM

Please login or register to post a reply.