All the ground locations needed

Tiny
ROBANTOBE
  • MEMBER
  • 1991 ACURA INTEGRA
  • 2.0L
  • 4 CYL
  • 2WD
  • MANUAL
  • 220,000 MILES
I would like to know we're all the ground locations are?
Sunday, March 22nd, 2020 AT 12:52 AM

5 Replies

Tiny
ASEMASTER6371
  • MECHANIC
  • 52,796 POSTS
Good morning,

There are so many ground connections throughout the car.

What area are you looking specifically?

I attached the grounds and locations for you below.

Roy
Was this
answer
helpful?
Yes
No
Sunday, March 22nd, 2020 AT 5:10 AM
Tiny
ROBANTOBE
  • MEMBER
  • 3 POSTS
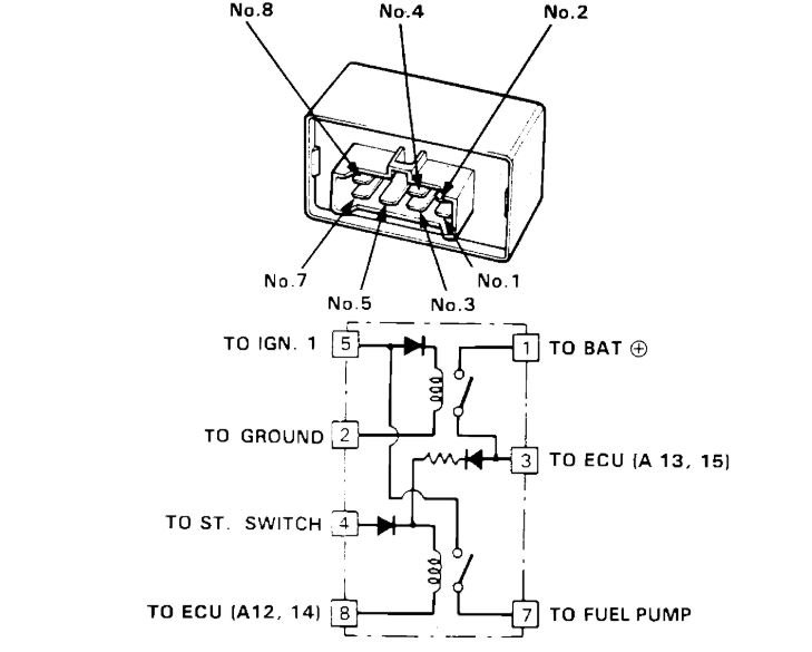
Thank you. Pictures would helped also! I'm just concerned because of a engine swap and I have had issues! Currently I'm not getting fuel pump to cut on when ignition switch is turned to start. I think it's the main relay but worried bout ground locations because I've already had the mph cluster heat an melted the mph needle until it fell off!
Was this
answer
helpful?
Yes
No
Sunday, March 22nd, 2020 AT 5:34 AM
Tiny
ASEMASTER6371
  • MECHANIC
  • 52,796 POSTS
Let me check the locations for the engine related ground. Sorry, they do not show the location of the grounds with a picture due to the age of the car.

Also, the main relay is the main cause for the fuel pump not working.

Roy
Was this
answer
helpful?
Yes
No
+1
Sunday, March 22nd, 2020 AT 5:45 AM
Tiny
ROBANTOBE
  • MEMBER
  • 3 POSTS
Thank you so very much!
Was this
answer
helpful?
Yes
No
Sunday, March 22nd, 2020 AT 6:47 AM
Tiny
ASEMASTER6371
  • MECHANIC
  • 52,796 POSTS
You are welcome.

Always glad to help.

Roy
Was this
answer
helpful?
Yes
No
Sunday, March 22nd, 2020 AT 6:48 AM

Please login or register to post a reply.

Related General Content