Monday, January 13th, 2020 AT 7:24 PM
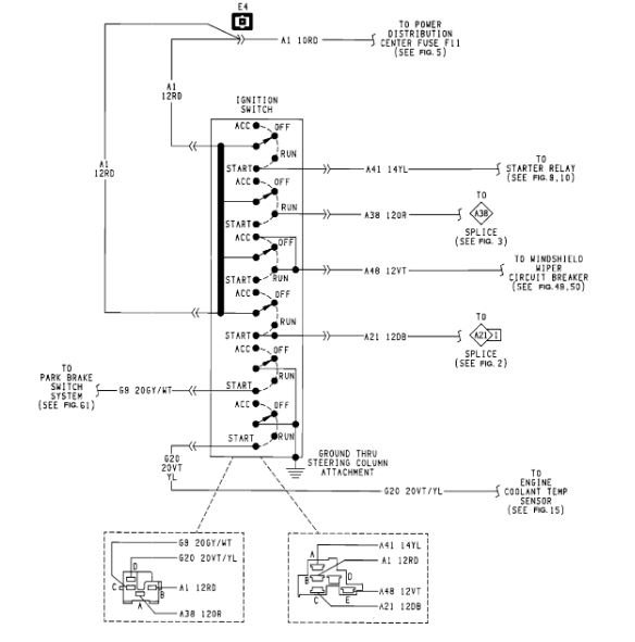
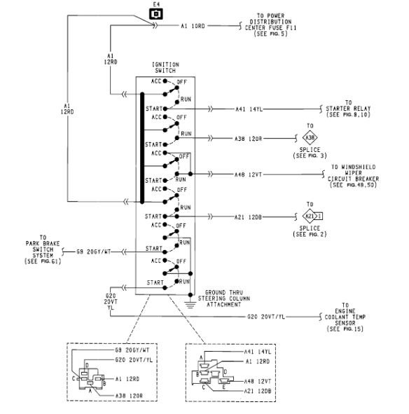
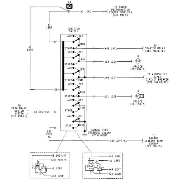
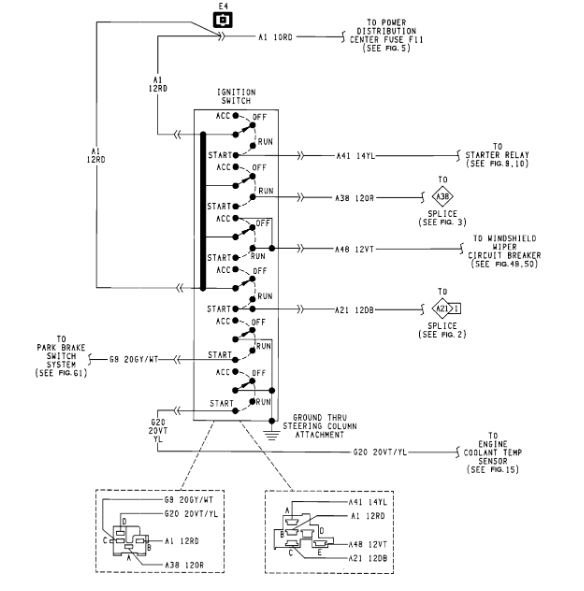
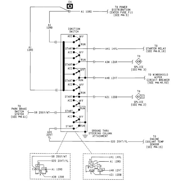
Using a test light I've discovered that I have no power anywhere other than to the ignition fuse in the main box and the starter fuse there are also three different prongs on the ECU that have power. This is with the ignition off and on. Using a test light I've also found that there's a short somewhere in ignition. I put off the test light negative terminal and the other end on the negative cable the light lit up showing there's a short the light went off when I remove the ignition fuse. Where could my short be. I've already replaced the ignition switch and still the same thing. This is driving me crazy could you please help me?




