Door key cylinder removal

Tiny
MONIQUE HOLLANDER
  • MEMBER
  • 2000 LAND ROVER RANGE ROVER
  • 200,000 MILES
I’m replacing the door key cylinder, how do I get it out to replace it?
Saturday, November 16th, 2019 AT 9:06 PM

1 Reply

Tiny
JACOBANDNICKOLAS
  • MECHANIC
  • 110,192 POSTS
Hi:

Here are the directions for replacing the lock cylinder. I will add the exterior door handle removal second and trim removal third. I have no idea why, other than being tired, I put these in the exact opposite order. Start below with panel removal, then move up to handle removal, then lock removal. Sorry.

_____________________________

2000 Land Rover Range Rover (LP) V8-4.0L
Removal and Replacement
Vehicle Body and Frame Locks Door Locks Door Lock Cylinder Service and Repair Removal and Replacement
REMOVAL AND REPLACEMENT
PRIVATE LOCK - FRONT DOOR

Service repair no - 76.37.39

Remove

1. Remove outside handle. See: Front Door Exterior Handle > Removal and Replacement
2. Fit door lock key.
3. Remove screw securing lock.
4. Remove cam and washer from lock.
5. Remove cam lock and stop from lock.
6. Remove cam return spring. Remove lock from outside handle.

Refit

7. Apply grease to lock barrel.
8. Fit lock to outside handle.
9. Fit cam return spring, cam stop, cam lock, washer and cam.
10. Fit screw securing lock to outside handle.
11. Remove door lock key.
12. Refit front door outside handle.

____________________________________________

2000 Land Rover Range Rover (LP) V8-4.0L
Outside Handle - Front Door
Vehicle Body and Frame Doors, Hood and Trunk Doors Front Door Front Door Handle Front Door Exterior Handle Service and Repair Removal and Replacement Outside Handle - Front Door
OUTSIDE HANDLE - FRONT DOOR
OUTSIDE HANDLE - FRONT DOOR

Service repair no - 76.58.07

Remove

1. Remove front door trim casing. See: Front Door Panel > Removal and Replacement > Trim Casing - Front Door
2. Release rear half of plastic sheet.
3. Remove retaining clip, private lock to latch operating rod, at latch end.

Pic 1

4. Remove control rod from latch and private lock.
5. Remove retaining clip, outside handle to latch operating rod, at latch end.
6. Remove control rod from latch and outside handle.
7. Remove bolt securing rear of outside handle.

Pic 2

8. Slide outside handle forwards. Pull handle out, release rear of handle from door.

Pic 3

9. Remove handle from front fixing by pivoting rear end of handle out.
10. Remove gasket from handle.
11. Remove rubber locking plate from door.
12. Remove plastic locking plate from door.
13. Remove screw securing mounting plate to door, remove plate.

Refit

14. Clean handle and door mating faces.
15. Reverse removal procedure.

_______________________________________________________

Here are the directions for door panel removal.

2000 Land Rover Range Rover (LP) V8-4.0L
Trim Casing - Front Door
Vehicle Body and Frame Doors, Hood and Trunk Doors Front Door Front Door Panel Service and Repair Removal and Replacement Trim Casing - Front Door
TRIM CASING - FRONT DOOR
Trim Casing - Front Door

Service repair no - 76.34.01

Remove
1. Release cheater panel.

Pic 4

2. Disconnect 2 tweeter speaker connectors, remove cheater panel.
3. Remove screw securing remote handle escutcheon, remove escutcheon.

Pic 5

4. Remove 3 screws securing trim casing.
5. Release 12 clips retaining trim casing.

Pic 6

6. Disconnect speaker connector.

Pic 7

7. Remove door trim casing.

Disassemble
8. Remove 12 trim casing retaining clips.
9. Remove 4 screws, remove speaker.

Pic 8

10. Remove 4 screws, remove speaker grille.
11. Remove 7 screws, remove trim casing pocket.
12. Remove 3 screws, remove arm rest.
13. Remove retaining clamp and sill button escutcheon.

Pic 9

14. Remove door trim casing waist seal.

Assemble
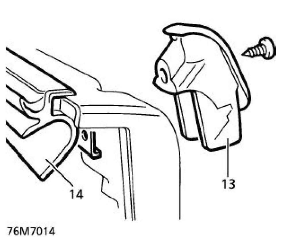
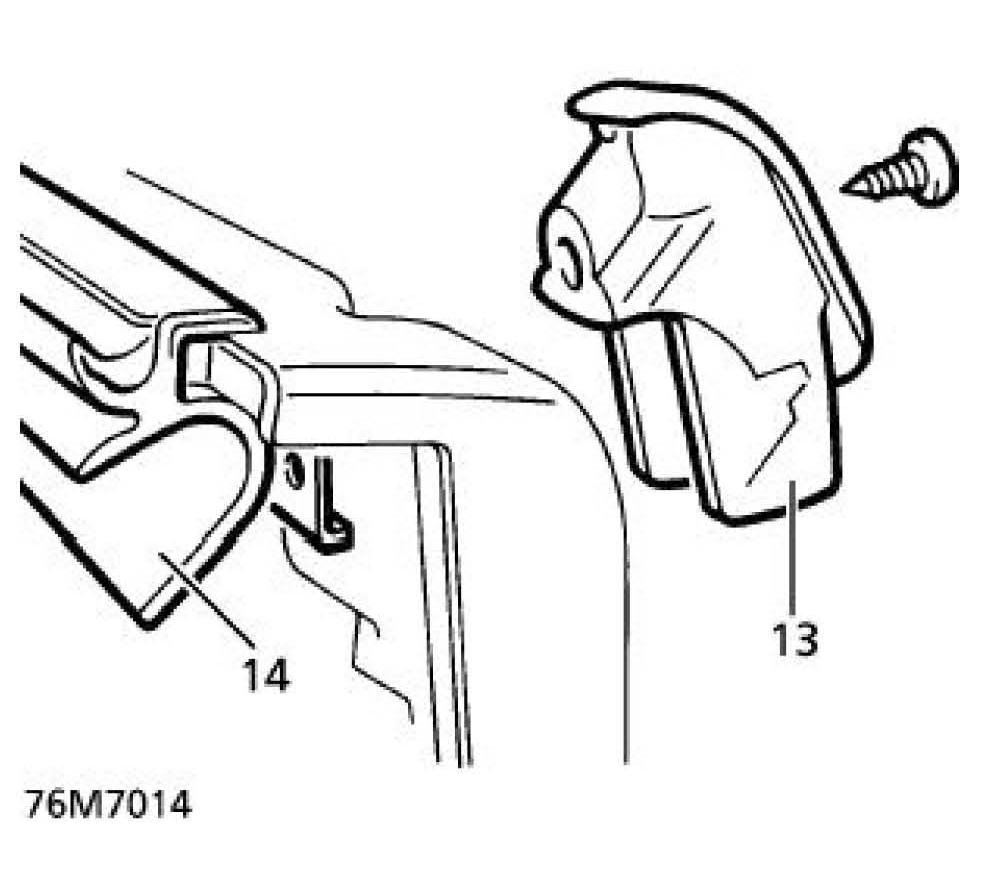
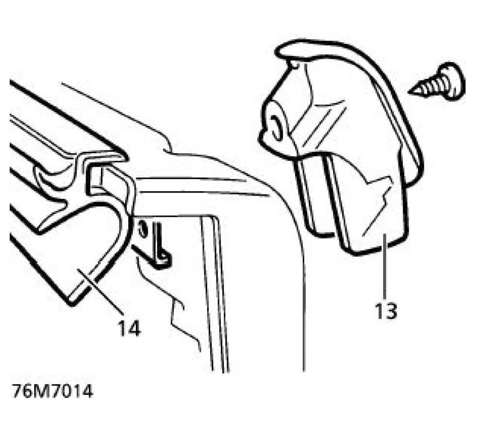
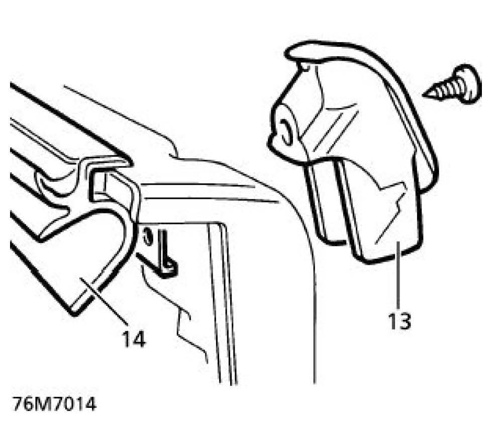
15. Fit door trim casing waist seal.
16. Fit sill button escutcheon, position retaining clamp, tighten screw.
17. Fit arm rest to trim casing, tighten 3 screws.
18. Fit trim casing pocket, tighten 7 screws.
19. Fit speaker grille to trim casing, tighten 4 screws.
20. Fit speaker to trim, tighten 4 screws.
21. Fit 12 retaining clips.

Refit
22. Connect trim casing speaker connector.
23. Fit trim casing, locating 12 retaining clips.
24. Fit 3 screws securing trim casing.
25. Fit remote handle escutcheon, tighten screw.
26. Position cheater panel, connect 2 tweeter speaker connectors.
27. Secure cheater panel.

________________________________________________________

Let me know if this helps.

Take care,

Joe
Was this
answer
helpful?
Yes
No
Sunday, November 17th, 2019 AT 7:40 PM

Please login or register to post a reply.