Tuesday, September 22nd, 2009 AT 5:56 PM
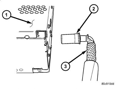
I have a 2005 Dodge Durango and I believe the antenna cable was bad - I ordered a new cable and installed it but still no AM signal and a very weak FM signal - when I looked at the cable connector it appeared that it is a female connector but when I looked at the port at the back of the radio there doesn't appear to be a lead wire or any thing extending out - what do I do from here?


