Gas Gauge Doesn't Work?

Tiny
PERRYCOATS
  • MEMBER
  • 1993 DODGE DAKOTA
  • 6 CYL
  • 4WD
  • AUTOMATIC
  • 198,000 MILES
My fuel light is on, and my gas gauge doesn't work. The gas tank is full. What do you think?
Wednesday, September 8th, 2010 AT 5:47 PM

1 Reply

Tiny
HMAC300
  • MECHANIC
  • 48,601 POSTS
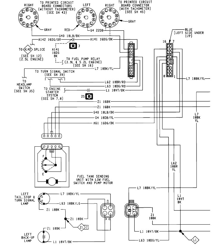
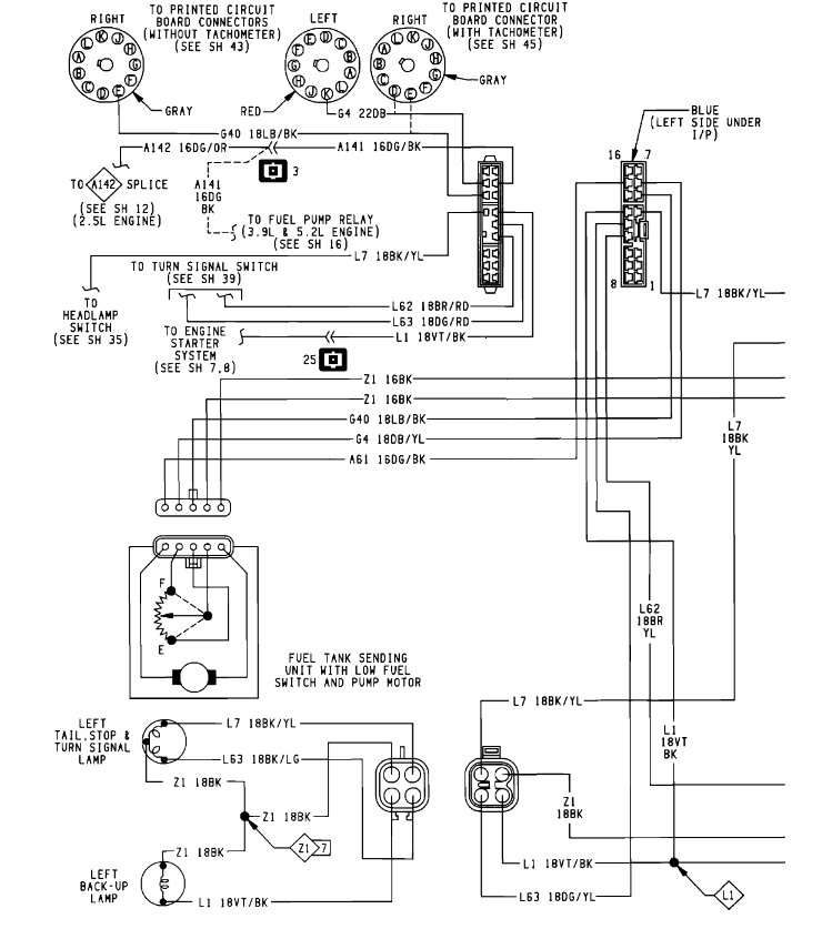
You'll have to check to see if the sender is getting any power or not. Here is the diagram check either the dark blue or light blue wire by the tank to see if it blinks. If you hit the right wire the gauge should go to full if you probe it. If it does then it's your sender which may have to be bought as a unit, meaning the pump/sender assy. Check out the images (Below). Please let us know what happens.
Was this
answer
helpful?
Yes
No
Sunday, September 12th, 2010 AT 6:34 PM

Please login or register to post a reply.