DIC buttons

Tiny
GLORIA FISHER
  • MEMBER
  • 1999 BUICK PARK AVENUE
  • 6 CYL
  • AUTOMATIC
  • 205,500 MILES
The DIC buttons on my car are not working. They worked for awhile but now when I press them nothing happens. It is stuck on change oil soon. Is there a fuse that controls these buttons? I cannot check the mileage on the odometer.
Tuesday, June 5th, 2018 AT 12:50 PM

1 Reply

Tiny
JACOBANDNICKOLAS
  • MECHANIC
  • 110,192 POSTS
Hi and thanks for using 2CarPros. Com To the best of my knowledge, there are no serviceable parts related to this component other than the switch itself. Try this first, turn the key to the run position (engine off) and pump the gas pedal three times to the floor within five seconds. That should turn off the change oil soon light and things may return to normal. If that does not help, disconnect the battery for a full ten minutes to see if it resets. Again, if that does not help, the only other serviceable item is the switch itself. Here are directions for replacement:

__________________________________________

CONVERSION CALCULATOR

1999 Buick Park Avenue V6-3.8L VIN K
Vehicle  Accessories and Optional Equipment  Driver/Vehicle Information Display  Service and Repair
SERVICE AND REPAIR
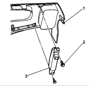
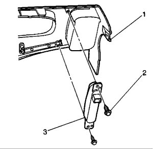
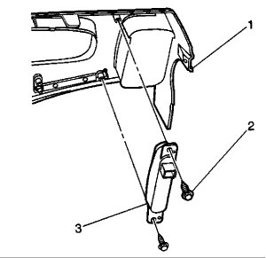
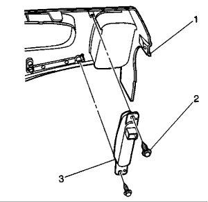
Driver Information Center Switch Replacement
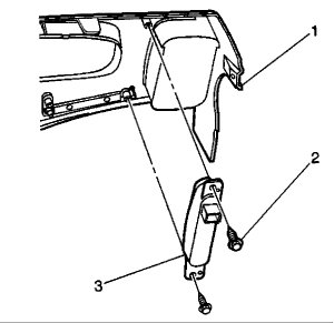
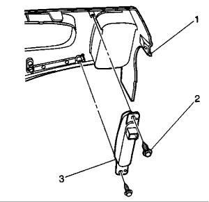
REMOVAL PROCEDURE
Remove the IP cluster trim plate.
Disconnect the electrical connector.
Remove the fasteners (2) from the driver information switch.
Remove the driver information switch.
INSTALLATION PROCEDURE
Install the driver information switch (3) to the IP cluster trim plate (1).
NOTE: Refer to Fastener Notice in Cautions and Notices.
Install the fasteners (2) to the drivers information switch.
Tighten
Tighten the fasteners to 2 N.M (18 lb in).
Connect the electrical connector.
Install the IP cluster trim plate.
__________________________

Let me know if this helps or if you have other questions.

Take care,
Joe
Was this
answer
helpful?
Yes
No
+1
Tuesday, June 5th, 2018 AT 7:13 PM

Please login or register to post a reply.