Engine misfiring, diagram of vacuum hoses needed?

Tiny
TABITHA STUECKLE
  • MEMBER
  • 2000 BUICK LESABRE
  • 3.6L
  • V6
  • 2WD
  • AUTOMATIC
  • 225,000 MILES
Car is misfiring after replacing spark plugs, spark plug wires, coil packs and base plate for coil packs.
Monday, August 21st, 2023 AT 9:24 PM

3 Replies

Tiny
JACOBANDNICKOLAS
  • MECHANIC
  • 110,192 POSTS
Hi,

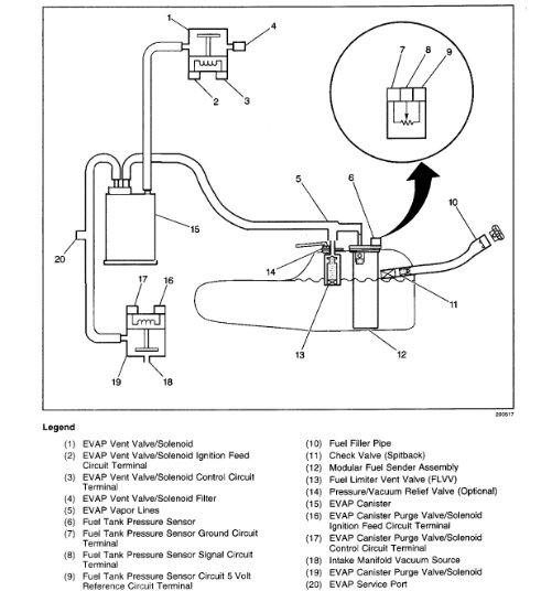
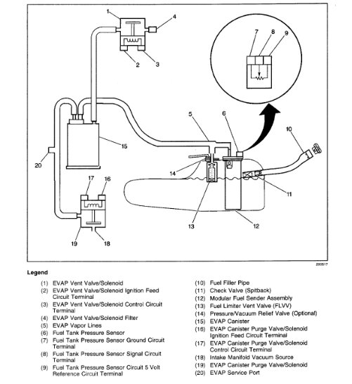
If you look at pics 1 and 2 below, they provide the vacuum information. However, I have a question. If the misfire started after the work, are you sure one of the new spark plug wires wasn't mixed up or damaged?

If you look at pics 3 and 4, they provide the firing order and spark plug wiring. Check to make sure they are in the correct order.

Let me know.

Take care,

Joe

See pics below.
Was this
answer
helpful?
Yes
No
Monday, August 21st, 2023 AT 9:32 PM
Tiny
TABITHA STUECKLE
  • MEMBER
  • 2 POSTS
It started before I changed everything.
Was this
answer
helpful?
Yes
No
Thursday, August 24th, 2023 AT 4:29 PM
Tiny
JACOBANDNICKOLAS
  • MECHANIC
  • 110,192 POSTS
Hi,

Thanks for letting me know. Have the vacuum schematics helped? Did you find any issues with the hoses?

Let me know.

Joe
Was this
answer
helpful?
Yes
No
Thursday, August 24th, 2023 AT 7:58 PM

Please login or register to post a reply.