Air does not blow out of the defrost vents?

Tiny
MARK79763
  • MEMBER
  • 2003 CHEVROLET TRUCK
  • 5.3L
  • V8
  • 2WD
  • 162,000 MILES
Heat will not blow out defrost stays blowing out dash vents.
Thursday, February 11th, 2021 AT 8:44 AM

1 Reply

Tiny
ASEMASTER6371
  • MECHANIC
  • 52,796 POSTS
Good afternoon,

You have a mode door actuator that changes the direction of the air flow when you command different directions.

https://www.2carpros.com/articles/air-vents-stay-in-the-defrost-position

I attached the procedure and some pictures for you.

Roy

REMOVAL PROCEDURE

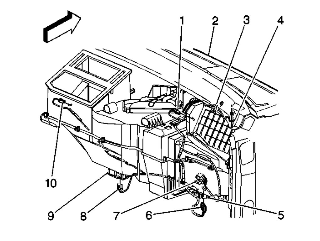
imageOpen In New TabZoom/Print

1. Remove the floor air outlet duct extension (1) from the floor duct (2).

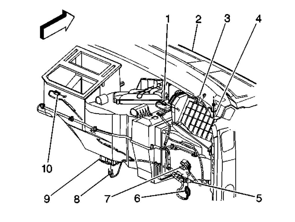
imageOpen In New TabZoom/Print

2. Disconnect the electrical connection at the mode actuator (10).

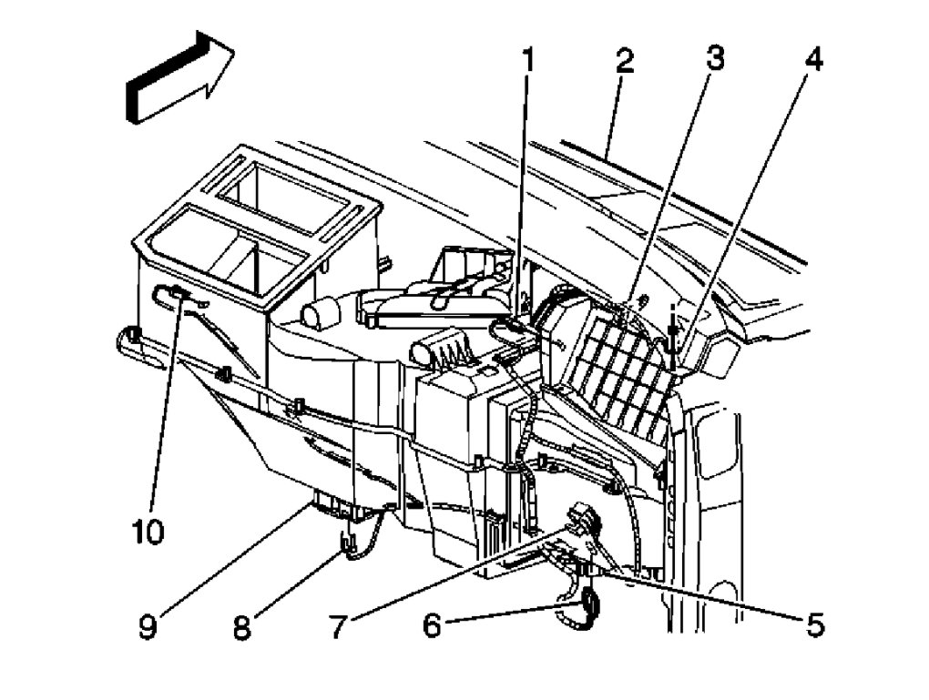
imageOpen In New TabZoom/Print

3. Remove the mode actuator mounting screws from the HVAC module.
4. Remove the mode actuator as an assembly with the actuator cam.
Was this
answer
helpful?
Yes
No
+1
Thursday, February 11th, 2021 AT 11:09 AM

Please login or register to post a reply.