Dashboard lights not working properly

Tiny
RAGINGSOUL
  • MEMBER
  • 2004 CHEVROLET TAHOE
  • 5.3L
  • V8
  • 4WD
  • AUTOMATIC
  • 175,000 MILES
My dashboard lights fade out. If I push on the light switch or push on the dimmer switch and the lights may come on and stay or or they will fade out again. A bump in the road will also make them go on and off.

Is this the that you adjust you headlights with faulty? I greatly appreciate any help you have to offer.
Friday, August 21st, 2020 AT 7:09 AM

6 Replies

Tiny
JACOBANDNICKOLAS
  • MECHANIC
  • 110,194 POSTS
Hi,

Based on your description, it does sound like the switch is bad. What to do is before replacing it, check to make sure there isn't a loose connection at the switch or corrosion causing problems where the switch and wiring connect.

If you find the switch is bad, here are the directions or replacement. The attached pics correlate with the directions.

____________________________________________________

2004 Chevy Truck Tahoe 2WD V8-5.3L VIN Z Flex Fuel
Procedures
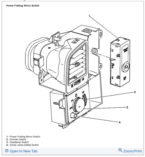
Vehicle Sensors and Switches Sensors and Switches - Lighting and Horns Headlamp Switch Service and Repair Procedures
PROCEDURES
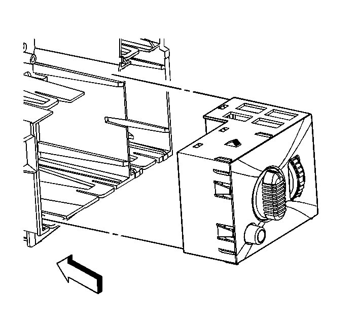
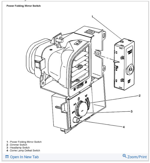
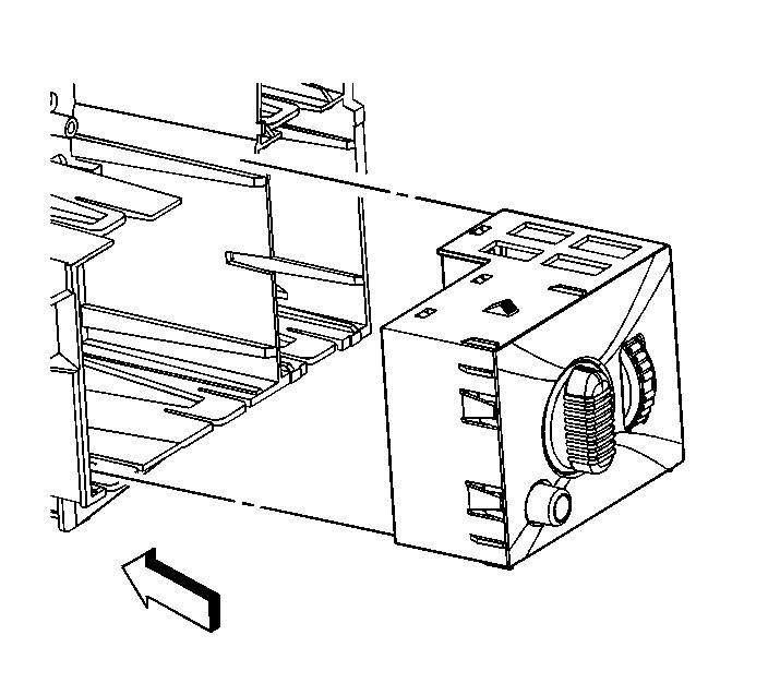
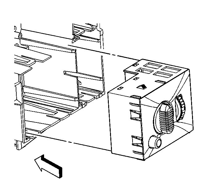
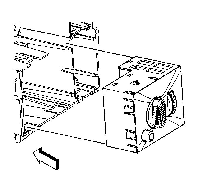
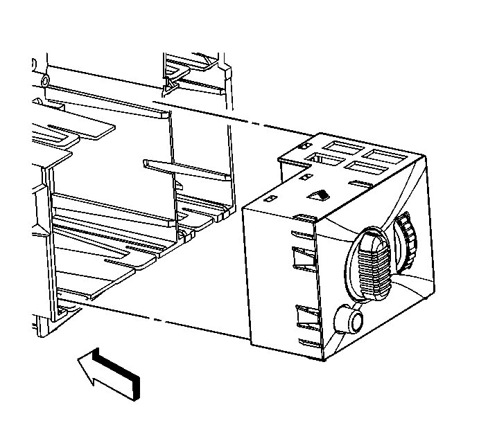
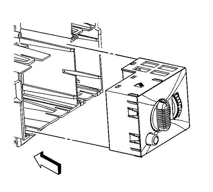
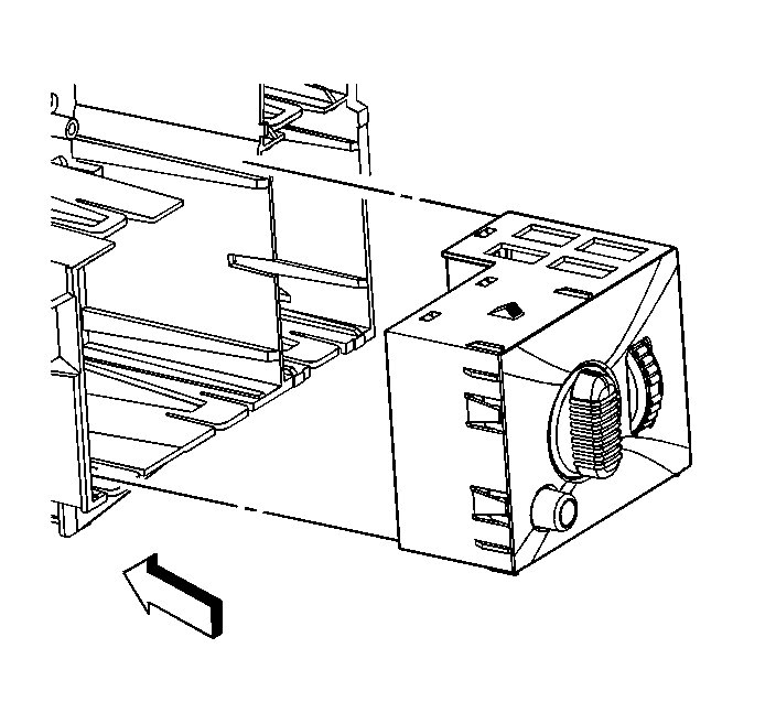
HEADLAMP SWITCH REPLACEMENT

REMOVAL PROCEDURE
1. Remove the instrument cluster bezel.

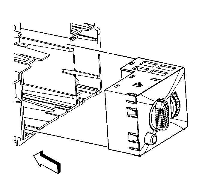
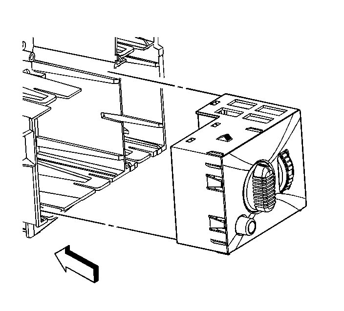
Pic 1

2. Unsnap the switch from the housing.
3. Disconnect the electrical connectors.

Pic 2

4. Remove the switch.

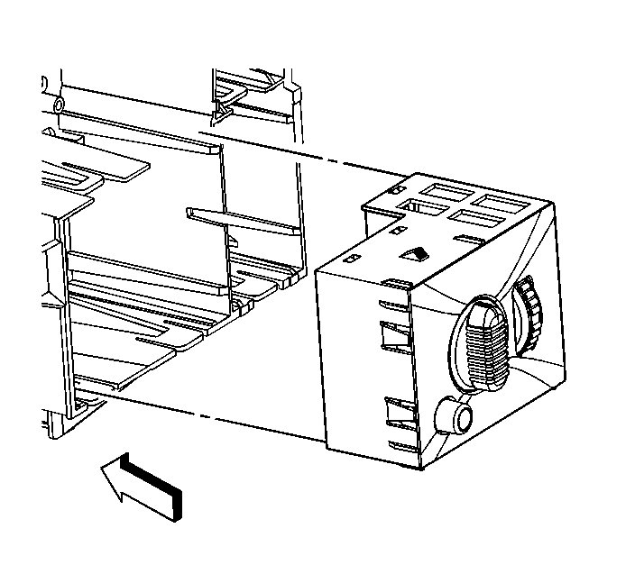
INSTALLATION PROCEDURE

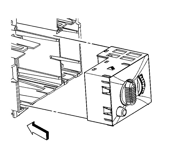
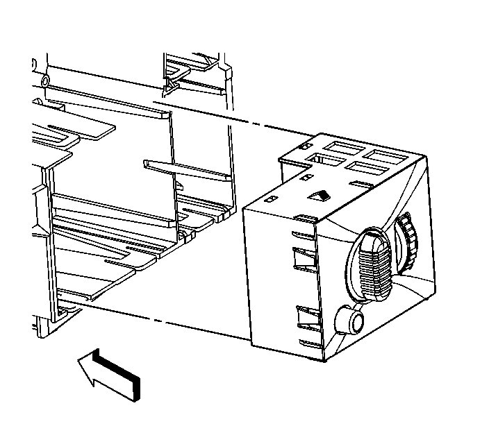
pic 3

1. Connect the electrical connectors.

Pic 4

2. Install the headlamp switch by snapping the headlamps switch into place.
3. Install the bezel to the instrument panel.

_______________________________

Let me know if this helps.

Joe
Was this
answer
helpful?
Yes
No
+1
Friday, August 21st, 2020 AT 9:45 AM
Tiny
FREEMBA
  • MECHANIC
  • 1,152 POSTS
It sounds like the instrument panel dimmer switch (it's part of the headlight switch) is defective. When they go bad the instrument panel will behave in the manner you described.
Test it by wiggling the dimmer rheostat ("wheel")and watching the instrument panel lights. If they flicker, dim or go out during this process the dimmer rheostat (dimmer switch) needs to be replaced.

In order to replace the dimmer switch you'll have to remove the instrument panel trim piece.
Use the video link below in order to remove the instrument panel trim piece (you'll have to watch about 31 seconds of the video).

https://youtu.be/_HEC44xENxw

Once the rim piece is removed, use a "Flathead" screwdriver to carefully pry the headlight switch out of the dash. Unplug the wire connector. Reverse this process to install the switch.

Was this
answer
helpful?
Yes
No
+1
Friday, August 21st, 2020 AT 9:55 AM
Tiny
RAGINGSOUL
  • MEMBER
  • 54 POSTS
Thank you both for your help. I have the part ordered. If I need more help I'll let you know. Thanks again.
Was this
answer
helpful?
Yes
No
Saturday, August 22nd, 2020 AT 11:01 AM
Tiny
JACOBANDNICKOLAS
  • MECHANIC
  • 110,194 POSTS
Hi,

You are very welcome. If you have a chance, please let us know if that takes care of the problem.

Take care,
Joe
Was this
answer
helpful?
Yes
No
Saturday, August 22nd, 2020 AT 9:46 PM
Tiny
RAGINGSOUL
  • MEMBER
  • 54 POSTS
Just wanted to let you know that changing the switch out worked. Thanks for your help.
Was this
answer
helpful?
Yes
No
Monday, August 31st, 2020 AT 4:36 AM
Tiny
JACOBANDNICKOLAS
  • MECHANIC
  • 110,194 POSTS
Hi,

That's good news. I'm glad it took care of the problem for you. Please feel free to come back anytime you have questions in the future.

Take good care of yourself.

Joe
Was this
answer
helpful?
Yes
No
Tuesday, September 1st, 2020 AT 6:09 PM

Please login or register to post a reply.