Cylinder head bolts torque

Tiny
ADAMOVERTON74
  • MEMBER
  • 2002 KIA SPORTAGE
  • 2.0L
  • 4 CYL
  • 4WD
  • AUTOMATIC
  • 123,000 MILES
Need to fined out what torque is on head bolts.
Thursday, December 31st, 2015 AT 5:32 AM

6 Replies

Tiny
HMAC300
  • MECHANIC
  • 48,601 POSTS
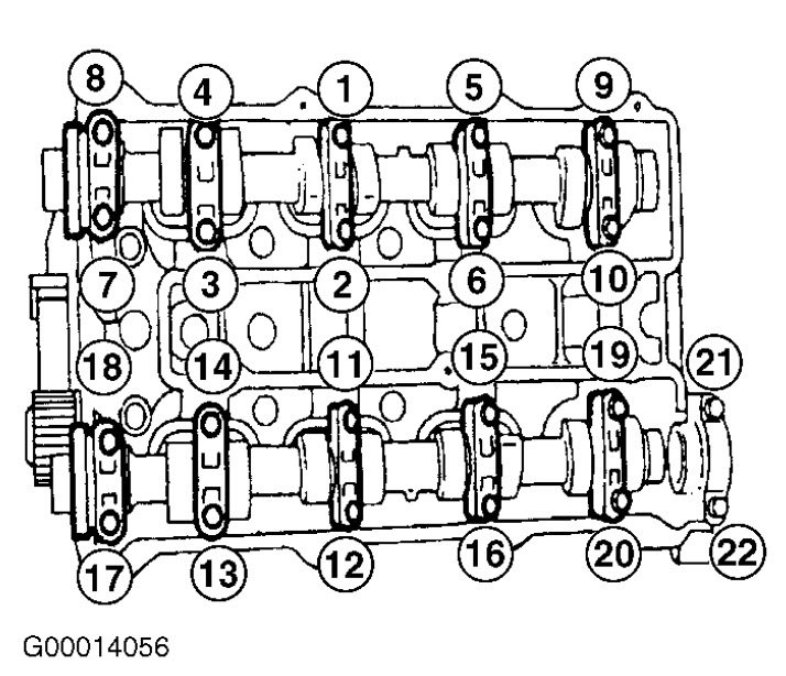
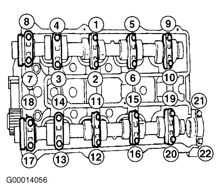
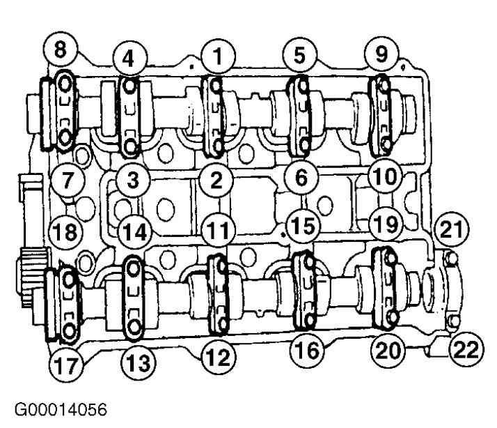
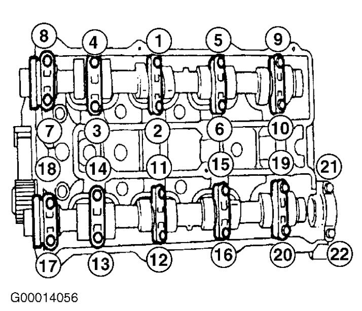
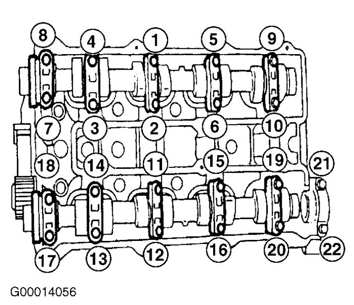
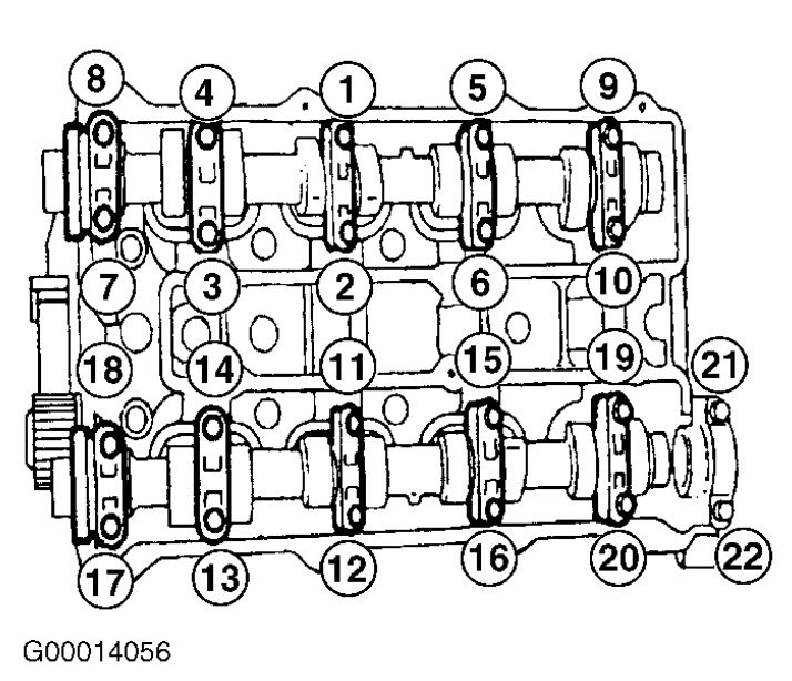
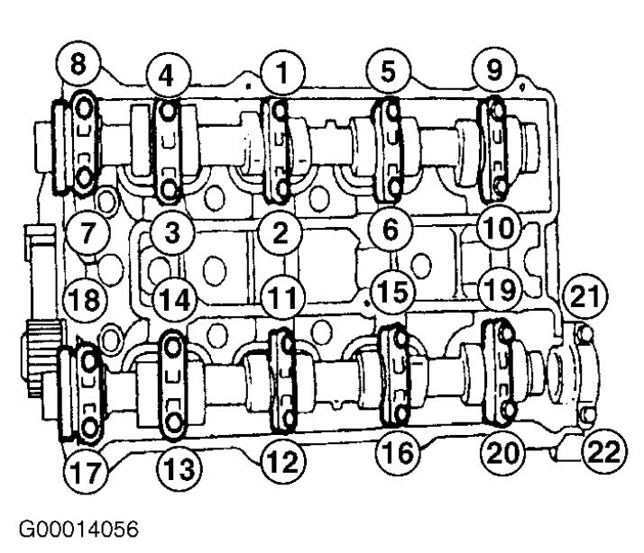
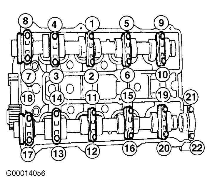
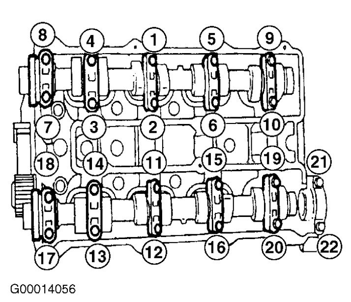
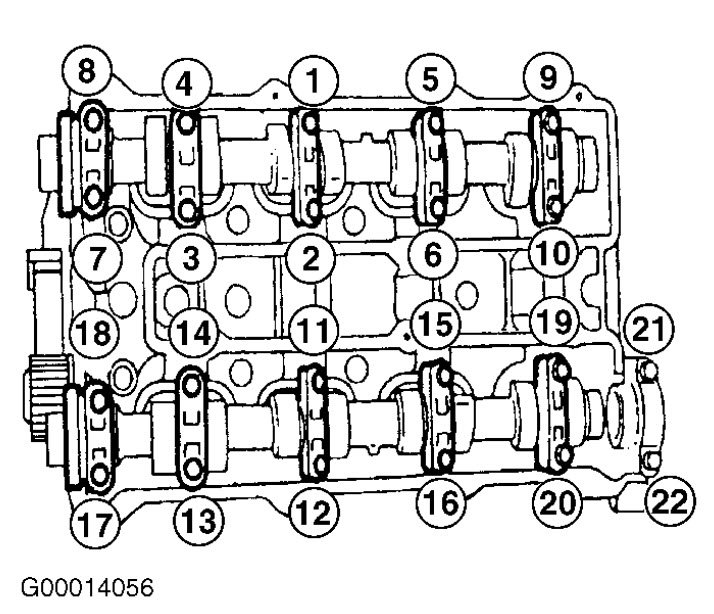
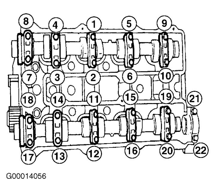
If camshafts were removed 16 ft lbs in sequence cylinder head bolts 62 ft lbs in 3 equal torques in sequence. Check out the images (below). Let us know if you need anything else.
Was this
answer
helpful?
Yes
No
+7
Thursday, December 31st, 2015 AT 6:19 AM
Tiny
SARA OVERLY
  • MEMBER
  • 1 POST
  • 2000 KIA SPORTAGE
  • 4 CYL
  • 4WD
  • AUTOMATIC
  • 154,000 MILES
I need the head bolt torque specifications for a 2000 kia sportage 2.0 liter engine as well as the timing marks for the same vehicle
Was this
answer
helpful?
Yes
No
+15
Saturday, November 16th, 2019 AT 2:45 PM (Merged)
Tiny
BLUELIGHTNIN6
  • MECHANIC
  • 16,542 POSTS


https://www.2carpros.com/forum/automotive_pictures/261618_Noname_1037.jpg



https://www.2carpros.com/forum/automotive_pictures/261618_Noname2_294.jpg



https://www.2carpros.com/forum/automotive_pictures/261618_Noname3_111.jpg



https://www.2carpros.com/forum/automotive_pictures/261618_Noname4_57.jpg



FIG. 4


https://www.2carpros.com/forum/automotive_pictures/261618_4_2.jpg




https://www.2carpros.com/forum/automotive_pictures/261618_Graphic_186.jpg

Was this
answer
helpful?
Yes
No
+23
Saturday, November 16th, 2019 AT 2:45 PM (Merged)
Tiny
ALIKDZIKI
  • MEMBER
  • 1 POST
Is it petrol or disel spec?
Was this
answer
helpful?
Yes
No
+11
Saturday, November 16th, 2019 AT 2:45 PM (Merged)
Tiny
HARLANGIRL4EVER
  • MEMBER
  • 2 POSTS
  • 2002 KIA SPORTAGE
  • 2.0L
  • 4 CYL
  • 2WD
  • AUTOMATIC
  • 123,000 MILES
Putting head back on need torque values intake to head and intake to throttle body.
Was this
answer
helpful?
Yes
No
Saturday, October 10th, 2020 AT 9:40 AM (Merged)
Tiny
ASEMASTER6371
  • MECHANIC
  • 52,796 POSTS
Good morning,

I attached the torques for you below. Let us know if you need any other information. Check out the diagrams (Below). Please let us know if you need anything else to get the problem fixed.

Roy
Was this
answer
helpful?
Yes
No
Saturday, October 10th, 2020 AT 9:40 AM (Merged)

Please login or register to post a reply.