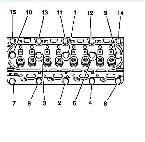
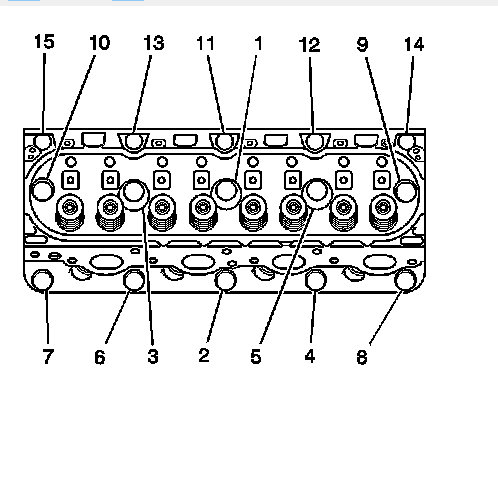
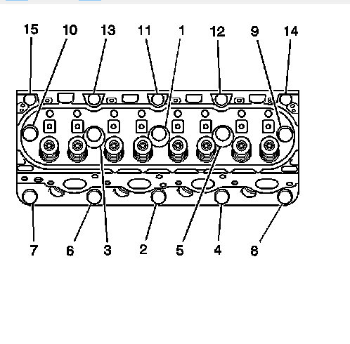
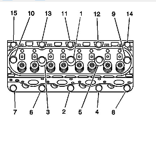
Friday, March 9th, 2018 AT 5:27 PM
I have seen recommendations to put silicone on the head bolts, some say to put some engine oil on them and some say nothing on them before torquing. What do you recommend?







