CV axle will not release from wheel hub

Tiny
SEAN SWANSON
  • MEMBER
  • 2002 HONDA CIVIC
  • 2.0L
  • 4 CYL
  • 2WD
  • MANUAL
  • 102,000 MILES
I have tried everything I could think of, also a couple buddies have tried as well.
I am trying to replace the wheel hub assembly and can not get the cv axle to "release" from the hub. I have tried hammering the axle, heat, pb blaster, and nothing seems to working. I am out of ideas. Any help or tips would be great.
Sunday, March 8th, 2020 AT 6:34 PM

3 Replies

Tiny
JACOBANDNICKOLAS
  • MECHANIC
  • 110,192 POSTS
Hi,

When they get like that, the only thing I have found that works (for me at least) is an air hammer. I think it's the vibration in addition to the hammering that breaks it loose. Try that. I use a center punch type attachment and center it on the axle.

________________

I don't know if you need it, but here are the directions for replacing hub bearing. The attached pictures correlate with the directions. I figured something here may be helpful including torque specs and so on.

_______________

Front
Vehicle Steering and Suspension Wheels and Tires Wheel Hub Service and Repair Procedures Front
FRONT
pic 1

Knuckle/Hub/Wheel Bearing Replacement

Special Tools Required
Hub dis/assembly tool 07GAF-SE00100
Ball joint remover, 28 mm 07MAC-SL00200
Attachment 62 x 68 mm 07746-0010500
Driver 07749-0010000
Support base 07965-SD90100

1. Raise the front of the vehicle, and support it with safety stands in the proper locations.

Pic 2

2. Remove the wheel cap, wheel nuts, and front wheel.

Pic 3

3. Remove the brake hose bracket mounting bolt (A).
4. Remove the caliper bracket mounting bolts (B), and remove the caliper assembly (C) from the knuckle. To prevent damage to the caliper assembly or brake hose, use a short piece of wire to hang the caliper assembly from the undercarriage. Do not twist the brake hose with force.

Pic 4

5. Raise the stake (A), and remove the spindle nut (B), then remove and discard the nut.

Pic 5

6. Remove the brake disc retaining flat screws (A).
7. Screw two 8 x 1.25 mm bolts (B) into the disc to push it away from the hub. Turn each bolt 2 turns at a time to prevent cocking the disc excessively.

Pic 6

8. Remove the flange bolt (A) and wheel sensor (B) from the knuckle. Do not disconnect the wheel sensor connector.

Pic 7

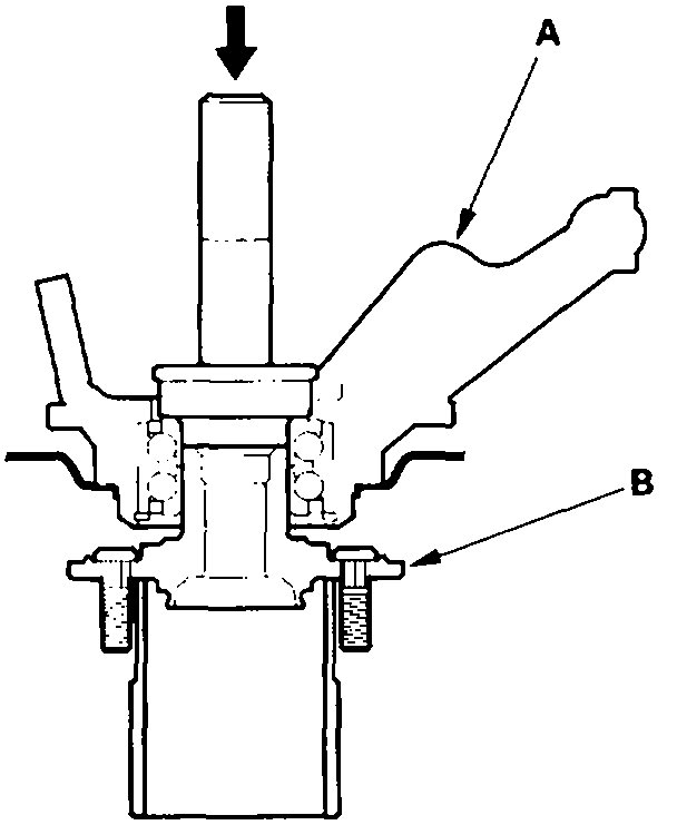
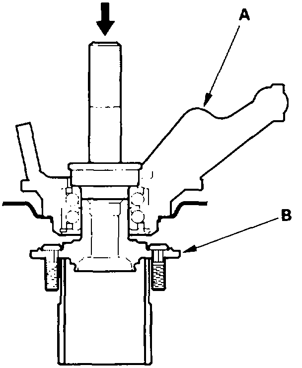
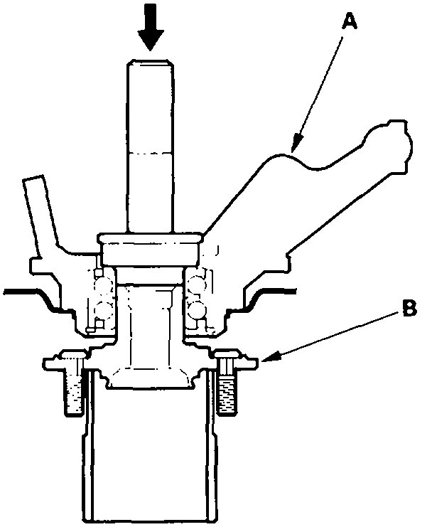
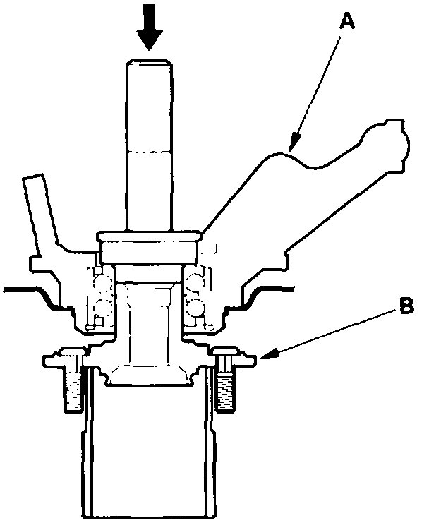
9. Remove the flange nut (A) while holding the joint pin (B) with a hex wrench (C), and disconnect the stabilizer link (D) from the lower arm (E).

Pic 8

10. Remove the lock pin (A) from the lower arm ball joint, and remove the castle nut (B).

NOTE: During installation, insert the lock pin into the ball joint pin in the range of 180 degrees or below from the inside of the vehicle. Insert the lock pin from the inside to the outside of the vehicle.

11. Disconnect the lower arm from the knuckle using the special too.

Pic 9

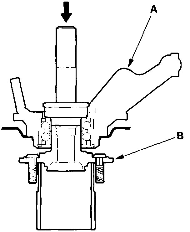
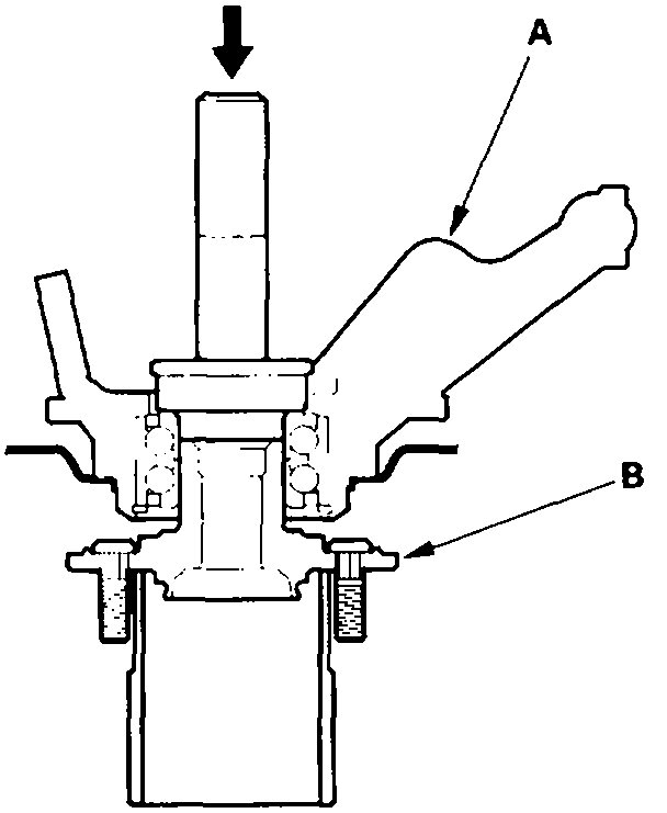
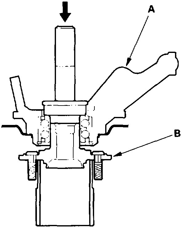
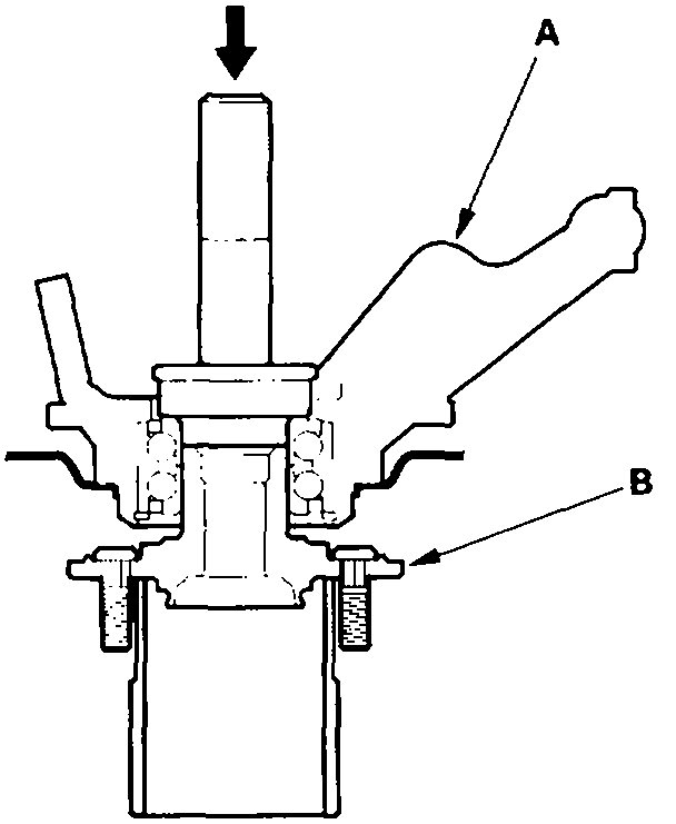
12. Loosen the damper pinch bolts (A) while holding the nuts (B), and remove the bolts and nuts.
13. Remove the driveshaft outboard joint (C) from the knuckle (D) by tapping the driveshaft end (E) with a plastic hammer while pulling the knuckle outward, then remove the knuckle.

NOTE: Do not pull the driveshaft end outward. The driveshaft joint may come off.

Pic 10

14. Separate the hub (A) from the knuckle (B) using the special tool and a hydraulic press. Be careful not to deform the splash guard. Hold onto the hub to keep it from falling when pressed clear.

Pic 11

15. Press the wheel bearing inner race (A) out of the hub (B) using the special tool, a commercially available bearing separator (C), and a press.

Pic 12

16. Remove the snap ring (A) and the splash guard (B) from the knuckle (C).

Pic 13

17. Press the wheel bearing (A) out of the knuckle (B) using the special tool and a press.
18. Wash the knuckle and hub thoroughly in high flash point solvent before reassembly.

Pic 14

19. Press a new wheel bearing (A) into the knuckle (B) using the old bearing (C), a steel plate (D), the special tool, and a press. Place the wheel bearing on the knuckle with the pack seal side facing (metal color) toward the inside. Be careful not to damage the sleeve of the pack seal.

Pic 15

20. Install the snap ring (A) securely in the knuckle (B).
21. Install the splash guard (C), and tighten the screws (D) to the specified torque.

Pic 16

22. Press a new hub bearing unit (A) into the hub (B) using the special tools and a press.
23. Install the knuckle/hub/hub bearing unit in the reverse order of removal, and note these items:
Be careful not to damage the ball joint boot when installing the knuckle.
Tighten all mounting hardware to the specified torque values.
Torque the castle nut to the lower torque specification, then tighten it only far enough to align the slot with the ball joint pin hole. Do not align the castle nut by loosening it.
Install a new lock pin on the castle nut after torquing.
Use a new spindle nut on reassembly.
Before installing the new spindle nut, apply a small amount of engine oil to the seating surface of the nut. After tightening, use a drift to stake the spindle nut shoulder against the driveshaft.
Before installing the brake disc, clean the mating surface of the front hub and the inside of the brake disc.
Before installing the wheel, clean the mating surface of the brake disc and the inside of the wheel.
Check the front wheel alignment, and adjust it if necessary.

__________________________

I hope something here helps. Let me know if the air hammer works for you.

Take care,
Joe
Was this
answer
helpful?
Yes
No
+1
Sunday, March 8th, 2020 AT 6:57 PM
Tiny
SEAN SWANSON
  • MEMBER
  • 2 POSTS
Thanks for the reply. I just went out and bought an air compressor, air hammer and some bits. So I'll give it a shot.
I looked up videos and some guys take a flat head bit and just go at the seam. Would I be better off doing what you mentioned and get a punch like bit and place it in the hole on the axle?
Was this
answer
helpful?
Yes
No
Monday, March 9th, 2020 AT 3:13 PM
Tiny
JACOBANDNICKOLAS
  • MECHANIC
  • 110,192 POSTS
Hi,

I would put a center punch type bit in the center (hole) on the axle. You are aware that nut needs removed, correct? Is it the nut you are having trouble with or the axle won't release from the hub assembly once the nut is removed?

Let me know.
Joe
Was this
answer
helpful?
Yes
No
Tuesday, March 10th, 2020 AT 8:14 PM

Please login or register to post a reply.