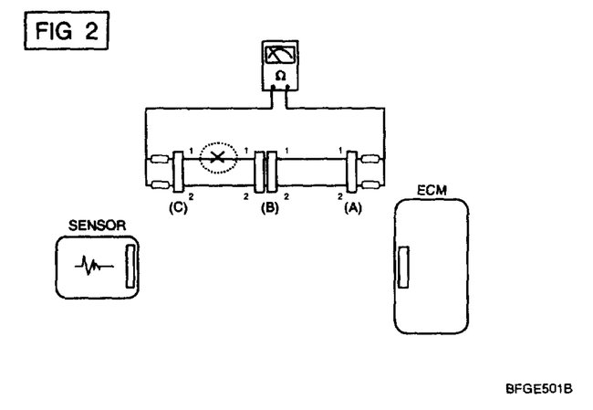
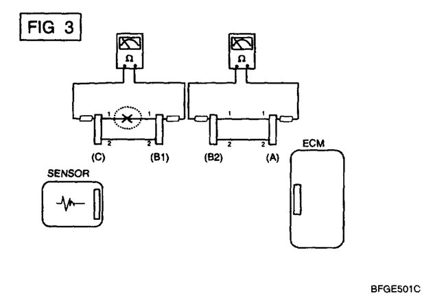
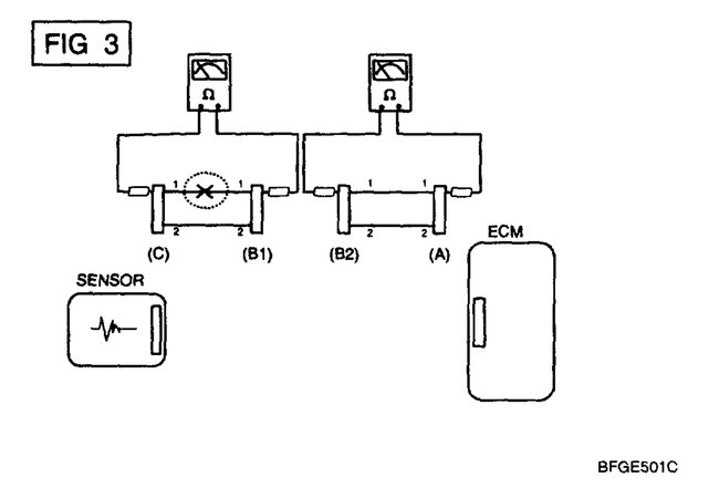
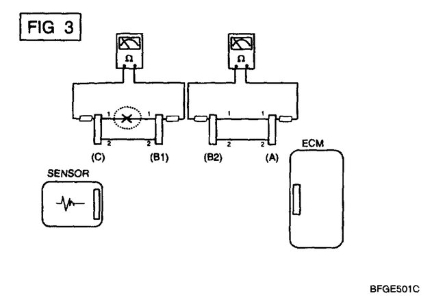
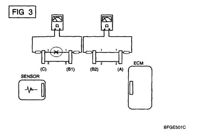
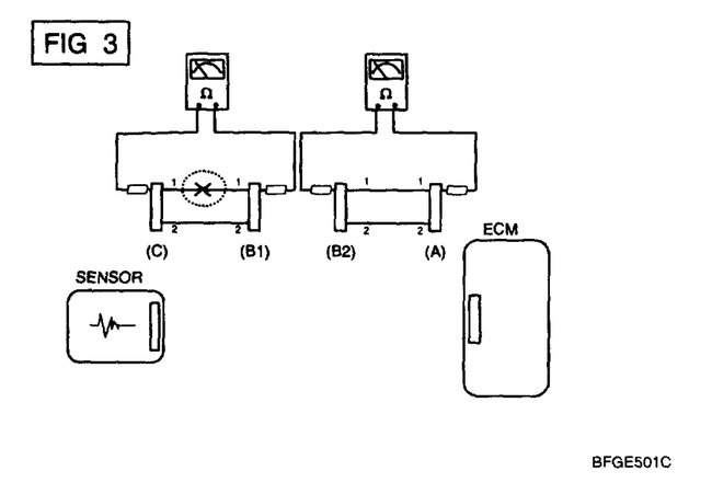
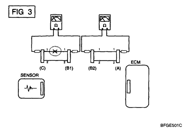
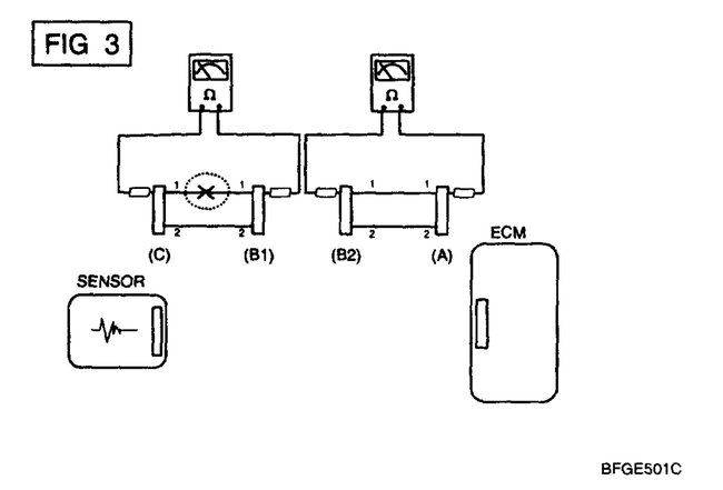
Monday, July 1st, 2019 AT 9:56 AM
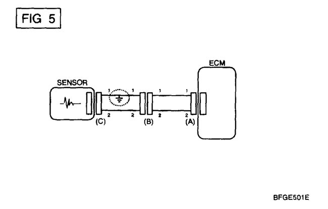
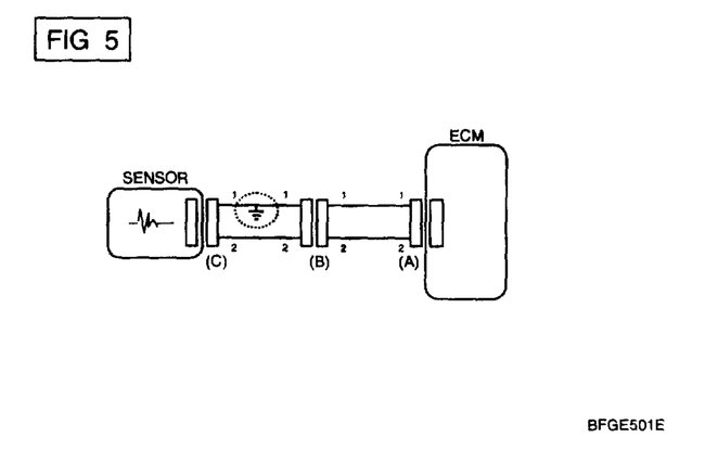
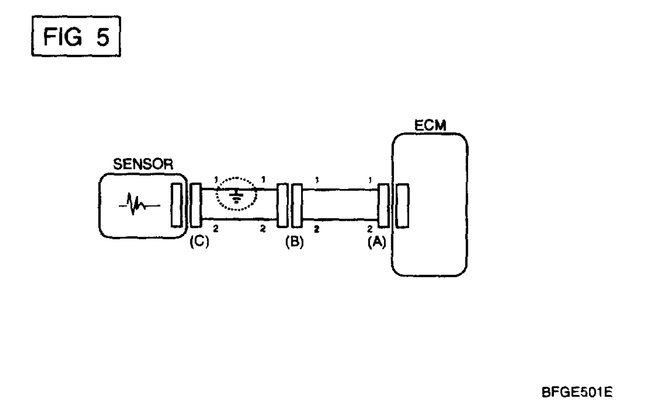
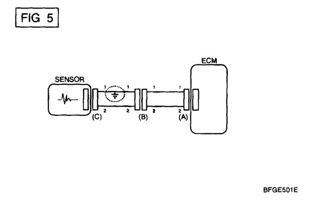
I the car listed above with a 1.O 1Kr engine that I replace because it overheated. Then we replaced with another 1kR engine which was not new which looked like everything is the same. When trying to start the engine it cranks but wont start. Then we diagnosed the engine, results were crank sensor failure. We change it installed another sensor it showed same results of crank sensor failure. If you will be able to assist me I will be happy.


























