Cranks but does not start

Tiny
BILLIDEAL
  • MEMBER
  • 2001 NISSAN SENTRA
  • 1.8L
  • 4 CYL
  • 2WD
  • MANUAL
  • 120,000 MILES
Has spark at plugs, but no fuel going to fuel rail. I pulled fuel pump, pump spin on bench?
Friday, September 21st, 2018 AT 10:43 AM

2 Replies

Tiny
JACOBANDNICKOLAS
  • MECHANIC
  • 110,194 POSTS
Hi and thanks for using 2CarPros. Com.

If the pump runs, it still may not be producing enough pressure to run the engine. Since you already have the pump out, you will need to check the electrical connections on the car to see if there is power to the pump. It runs on a bench when you supply power, but it may not be getting power in the vehicle.

If there is no power, check the fuel pump relay located in relay box in the vehicle Here are the directions for testing the relay. The pictures attached correlate with these directions. The directions are straight forward.
__________________________
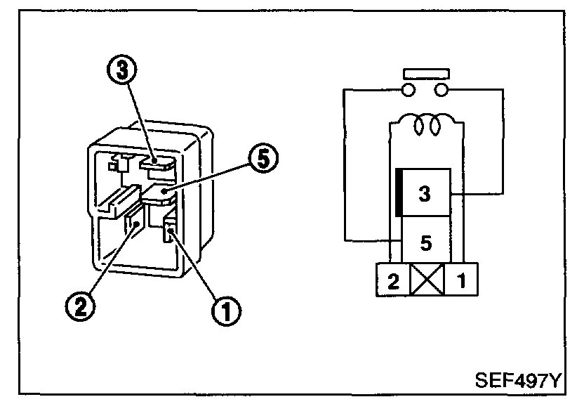
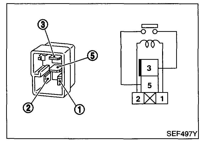
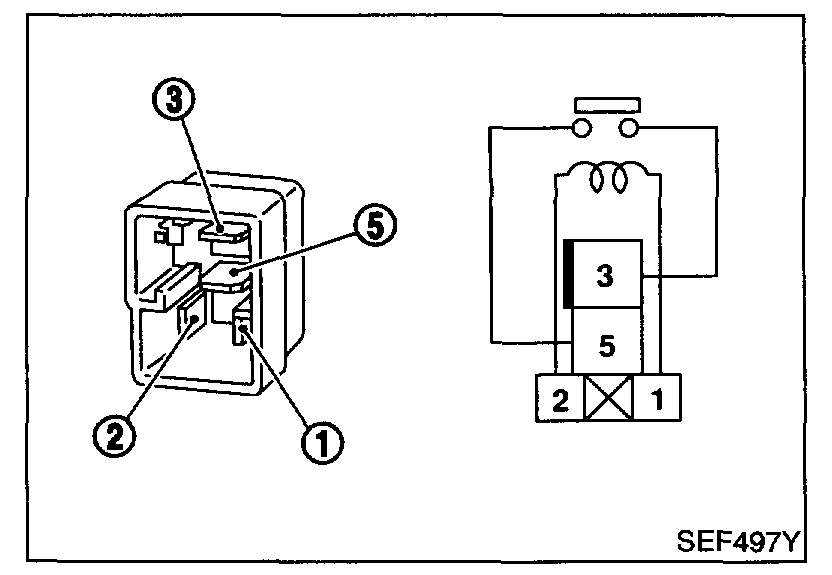
FUEL PUMP RELAY
Check continuity between terminals 3 and 5.
If NG, replace relay.

_________________________

Next, the oil pressure switch can shut down power to the relay. I've attached a picture of its location. Make sure the connection is good, clean, and tight. I also attached a picture of the fuel pump relay's location (pic 4).

_______________________

The last picture correlates with these directions. It's to check the pump. Make sure it meets the specs listed.

FUEL PUMP
1. Disconnect fuel pump harness connector.
2. Check resistance between terminals 1 and 3.
Resistance: 0.2 - 5.0 Ohms [at 25 °C (77 °F)]
If NG, replace fuel pump.
_______________________

Let me know what you find or if you have other questions. I hope this helps.

Take care,
Joe
Was this
answer
helpful?
Yes
No
Friday, September 21st, 2018 AT 7:26 PM
Tiny
BILLIDEAL
  • MEMBER
  • 2 POSTS
  • 2001 NISSAN SENTRA
  • 1.8L
  • 4 CYL
  • 2WD
  • MANUAL
  • 150,000 MILES
Car does not start but cranks turns over. Fuel pump pulled and benched tested and does spin.

I got the following scan codes:

P1320

P0110

P0180

P0420

P0430

P0464
Was this
answer
helpful?
Yes
No
Tuesday, October 9th, 2018 AT 5:10 PM (Merged)

Please login or register to post a reply.