Heater core replacement instructions?

Tiny
RICKM1954
  • MEMBER
  • 2003 GMC ENVOY
  • V6
  • 4WD
  • AUTOMATIC
  • 200,000 MILES
I have a leak running down the firewall on the passenger side of the vehicle. It is in the location of where the heater hoses go through the firewall. I do not see any leaks at the hoses.
Monday, April 23rd, 2018 AT 10:22 AM

12 Replies

Tiny
ASEMASTER6371
  • MECHANIC
  • 52,796 POSTS
I attached the procedure for you for the replacement of the heater core.

https://www.2carpros.com/articles/replace-heater-core

Roy

HVAC MODULE ASSEMBLY REPLACEMENT

TOOLS REQUIRED
- J 43181 Heater Line Quick Connect Release Tool
- J 39400-A Halogen Leak Detector

REMOVAL PROCEDURE
1. Drain the engine coolant. Refer to Draining and Filling Cooling System (Body Vin Code 6) Draining and Filling Cooling System (Body Vin Code 3) in Cooling System.
2. Recover the refrigerant.
3. Remove the I/P carrier. See: Dashboard / Instrument Panel > Removal and Replacement > Instrument Panel (IP) - Carrier Replacement
4. Reposition the heater hose clamps using J 43181.
5. Disconnect the heater hoses from the heater core.

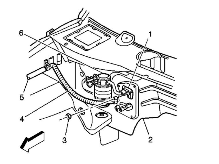
imageOpen In New TabZoom/Print

6. Remove the retaining nut (3) from the accumulator (6) at the evaporator (1).
7. Disconnect the accumulator (6) from the evaporator (1).
8. Disconnect the evaporator tube (4) from the evaporator (1).
9. Disconnect all of the electrical connectors to the HVAC module assembly.
10. Remove the HVAC module assembly.

INSTALLATION PROCEDURE

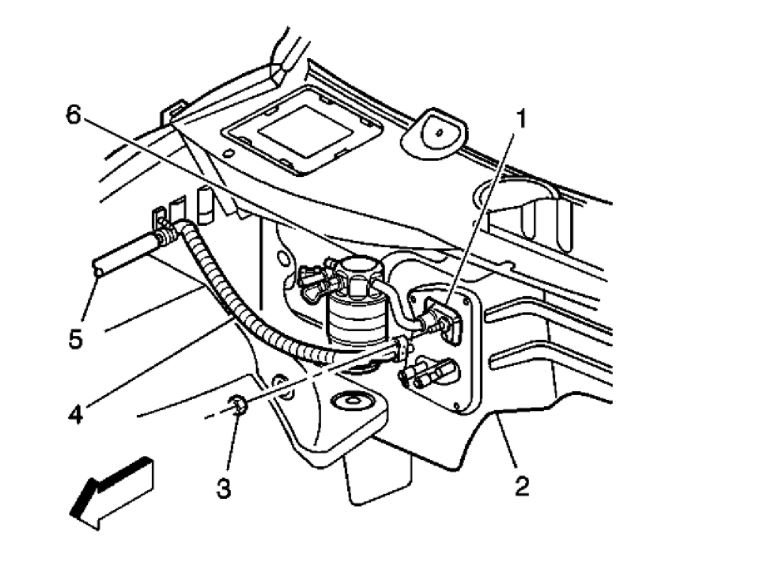
imageOpen In New TabZoom/Print

1. If replacing the HVAC module assembly (8), transfer the components from the old HVAC module assembly as necessary.
2. Install the HVAC module assembly (8).
3. Connect all of the electrical connectors to the HVAC module assembly.

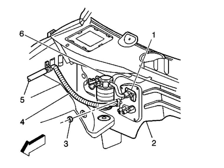
imageOpen In New TabZoom/Print

4. Connect the heater hoses to the heater core.
5. Connect the evaporator tube (4) to the evaporator (1).
6. Install the accumulator (6) to the evaporator (1).
7. Tighten the accumulator retaining nut.

NOTE: Refer to Fastener Notice in Service Precautions.
See: Heating and Air Conditioning > Vehicle Damage Warnings > Fastener Notice

Tighten
Tighten the nut to 4.5 N.m (40 lb in).

8. Install the I/P carrier.
9. Evacuate and recharge the A/C system.
10. Leak test the fittings of the components using the J 39400.
11. Refill the engine coolant. Refer to Draining and Filling Cooling System (Body Vin Code 6) Draining and Filling Cooling System (Body Vin Code 3) in Cooling System.

HEATER CORE REPLACEMENT

REMOVAL PROCEDURE
1. Remove the HVAC module assembly. See: Housing Assembly HVAC > Service and Repair
2. Remove the heater core access cover screws.
3. Remove the heater core access cover.

imageOpen In New TabZoom/Print

4. Remove the heater core (2) from the HVAC module assembly (1).

INSTALLATION PROCEDURE

imageOpen In New TabZoom/Print

1. Install the heater core (2) to the HVAC module assembly (1).
2. Install the heater core access cover.
3. Install the heater core access cover screws.

Tighten the screws to 1.9 N.m (17 lb in).

NOTE: Refer to Fastener Notice in Service Precautions.

4. Install the HVAC module assembly.
Was this
answer
helpful?
Yes
No
Friday, February 19th, 2021 AT 11:33 AM
Tiny
DAX9595
  • MEMBER
  • 1 POST
  • 2000 GMC ENVOY
  • 6 CYL
  • 4WD
  • AUTOMATIC
  • 83,000 MILES
I just got through changing my heater core and now that everything is back together the heat does work, but when I turn the car off the radio will not stop when I open the door. Also I do have head lights but I can not control the high beam or my driving lights. When I pull the fuse on the radio igntion it does stay off when I put it back in. There was one wire that was green and brown on the steering that had a yellow plug on the end of it. I could not find where it plugged into is this my whole problem?
Was this
answer
helpful?
Yes
No
Sunday, February 21st, 2021 AT 5:30 PM (Merged)
Tiny
IMPALASS
  • MECHANIC
  • 3,112 POSTS
Hello - sorry you are having problem with your car. It appears by your post you are pretty frustrated... If so..... That's understanding. Let's take a look at this.

Heater Core and no heat.
First, you must make sure there is no air in the system. If there is air in the system the temp guage will go up but cool air from the heater since it is not circulating past the thermostat.
Is the temp gage in the car getting hotter than normal or not hot at all or lower than normal? If the temp guage is not getting hot at all the thermostat is stuck open and needs to be changed.
Are the radiator hoses hot after the car is warmed up?
Are the heater hoses going into the core by the firewall hot?
The system needs to be flushed really well. Are you running DEX-COOL? There is a TSB discussing engines running hot but cold air from the heater due to being plugged with rust like material.

Change our radiator cap also.

Next the radio.

Have you checked the codes on the car and are there any? You could go to Auto Zone or O'Reilly's and for free they can pull the codes to the car. Most important. Once they check your codes, if they find something and you don't get it fixed and need to get back with us, please make sure you tell us exactly what the code was, number and all. Example, if the code was E0568 O2 Sensor bad. Then make sure you give us all of that. While there for free also they can bring their tester out and check your battery, alternator and starter.

I will have to get back with you on the radio etc..... Check the other items on heating. I do believe the item unplug is causing you a problem. You have an Accessory delay module that keeps the radio on etc until the doors are opened. That is not functioning properly. We will have to look at that but for now, see if you can find where that plug goes, check the heating items above and get the codes.
Was this
answer
helpful?
Yes
No
Sunday, February 21st, 2021 AT 5:30 PM (Merged)
Tiny
JBAG
  • MEMBER
  • 12 POSTS
Hi Dax9595,
My wife has the identical truck. The heater core is on it's way out.115k mi. (Anti-freeze coming from defroster).
How difficult was the heater core swap?
Could you give a breif description of the procedure?
I have been a side mechanic for 31 years so I know I can tackle this job. I was just wondering the difficulty of this swap and any info. You could share before I "rip into" it?
Thanks for your time,
jonny

P.S. I flushed the DEX-COOL CRAP out of the car @ 77k when I noticed an orange clay-like build up in the rad. I replaced the DEX-COOL with the good 'ol GREEN stuff. Then I heard all sorts of horrors stories regarding prolonged use of DEX-COOL. Thank God I did that when I did!
Was this
answer
helpful?
Yes
No
Sunday, February 21st, 2021 AT 5:30 PM (Merged)
Tiny
IMPALASS
  • MECHANIC
  • 3,112 POSTS
Hello - dax9595

I am very sorry so long to get back with you. I misread your original post. I thought you had a problem with your heater core..... You had changed it. I am sorry for that and not getting back with you.

As for the plug - I do think that is your problem and this is why. The brown wire goes from the ignition switch to the body relay box. That controls your RAP Relay which keeps your radio on and other components until the doors are opened. It also controls your high beam relay and a few other things and goes to your radio.

I have looked in two manuals and can not see where the plug goes but the plug to it must be near it.

I am sorry again for the delay.
Was this
answer
helpful?
Yes
No
Sunday, February 21st, 2021 AT 5:30 PM (Merged)
Tiny
JBAG
  • MEMBER
  • 12 POSTS
FWIW,
HAYNES is absolutely USELESS for this particular repair.
If anyone has any questions regarding this heater core repair, you can email me:
j.foster62@juno.com
10 hours to CAREFULLY remove dash.
6 hours to reassemble.
Get a new heater core ($185) from the Stealership using your VIN! Otherwise, an aftermarket ($77)will probably not fit in the heater core saddle.


https://www.2carpros.com/forum/automotive_pictures/38677_Envoyheatercore_replcmnt_017_2.jpg




https://www.2carpros.com/forum/automotive_pictures/38677_heatercore_2.jpg

Was this
answer
helpful?
Yes
No
Sunday, February 21st, 2021 AT 5:30 PM (Merged)
Tiny
IMPALASS
  • MECHANIC
  • 3,112 POSTS
Thats great you got it back together and thanks for putting your email there for others to give you a call when they have to.

Did you find where that plug went?

Looks like you did a great job!
Was this
answer
helpful?
Yes
No
Sunday, February 21st, 2021 AT 5:30 PM (Merged)
Tiny
JBAG
  • MEMBER
  • 12 POSTS
That was the 1st guys problem, not mine.
Was this
answer
helpful?
Yes
No
Sunday, February 21st, 2021 AT 5:30 PM (Merged)
Tiny
IMPALASS
  • MECHANIC
  • 3,112 POSTS
Oh - sorry, I didn't read the name

If you do remember where yours was you may consider emailing him and let him know.

Thanks again for posting the info to assit others.
Was this
answer
helpful?
Yes
No
Sunday, February 21st, 2021 AT 5:30 PM (Merged)
Tiny
JBAG
  • MEMBER
  • 12 POSTS
Hopefully he's getting email notices re: this post. I'm sure he's fixed it by now.

There were THREE vacuun lines that i recall. One of mine did cbecome undone, however I caught it before reassy.
All 3 are accessable with dash board in place.
The 1st which I "caught', is located next to the gas pedal. It pulls off a balck tube coming from the firewall as soon as you pull the dash out(probably the same one he missed)


https://www.2carpros.com/forum/automotive_pictures/38677_Envoyheatercore_replcmnt_009_1.jpg

.

The other 2 are behind the glove box. One to the left (next to the blend door actuator) and the other to the right.


https://www.2carpros.com/forum/automotive_pictures/38677_Envoyheatercore_replcmnt_015_1.jpg

Was this
answer
helpful?
Yes
No
Sunday, February 21st, 2021 AT 5:30 PM (Merged)
Tiny
IMPALASS
  • MECHANIC
  • 3,112 POSTS
Thanks jbag,

I really appreciate you posting that - this will help others in this process.

Thanks again!
Was this
answer
helpful?
Yes
No
Sunday, February 21st, 2021 AT 5:30 PM (Merged)
Tiny
ASEMASTER6371
  • MECHANIC
  • 52,796 POSTS
That is all good information.

I attached a flow chart for vacuum issues.

Thank you for using 2CarPros.

Roy
Was this
answer
helpful?
Yes
No
Thursday, February 25th, 2021 AT 3:45 AM

Please login or register to post a reply.