Convertible top

2001 FORD MUSTANG
160,000 MILES • 4 CYL • 2WD • AUTOMATIC
Avatar
MAKAYLA94
  • MEMBER
  • 1 POST
Someone was purchasing my 2001 Mustang Convertible from me. I told him the top shouldn't be put down until the hydraulic fluid is replaced. He did it anyway and in the process of forcing it down he bent the top frame. We got it back up but there are gaps and it is bent too far that there is a huge gap in between the door and the top. Is there a way to fix this or do I need to replace the whole thing? If I do need to replace it, where would I be able to purchase what I need?
Apr 13, 2019 at 7:39 PM
Repair Safety Notice: This information is for general instructional purposes only. Vehicle repair can be dangerous. Verify all information, follow manufacturer service procedures, use proper tools and safety equipment, and consult a qualified repair shop when needed.
Advertisement
Avatar
KENW1
  • CAR REPAIR CONTRIBUTOR
  • 213 POSTS
Thanks for visiting 2CarPros.

You can attempt to bend it back but depending on how many spots it got bent in it can be an exercise in futility. My suggestion would be a replacement frame. There are some available on eBay (see link below) and at car-part.com you can search for them at local salvage yards.

https://www.ebay.com/bhp/mustang-convertible-frame
Apr 13, 2019 at 7:57 PM
Advertisement
Avatar
JACOBANDNICKOLAS
  • CAR REPAIR CONTRIBUTOR
  • 110,190 POSTS
Welcome to 2CarPros.

It sounds like the side rails are bent. Not being there to actually has happened, I'm going to suggest two things. First, remove the rails (which is a nightmare), determine what is bent and try to straighten them. Or have the framing replaced, which won't be cheap. Honestly, I'm not sure where you are located, so I have no idea who can fix it for you.

______________________________

Here are the directions for frame rail removal and replacement. They include adjustments and how it works. Basically, total removal procedure. The attached pictures correlate with these directions.

Convertible Top Assembly-Side Rail, Folding Top
Vehicle Body and Frame Roof and Associated Components Convertible Top Service and Repair Procedures Removal and Installation Convertible Top Assembly-Side Rail, Folding Top
CONVERTIBLE TOP ASSEMBLY-SIDE RAIL, FOLDING TOP
REMOVAL
1. Remove the side quarter trim panel.



picture 1



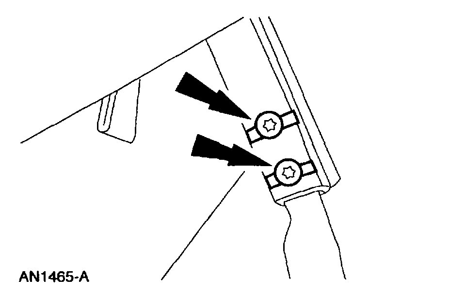
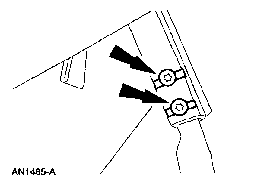
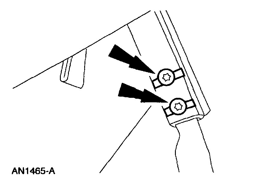
2. If necessary, remove the bolts.



picture 2



3. Remove the nut and bolts and position the front safety belt retractor aside.



picture 3



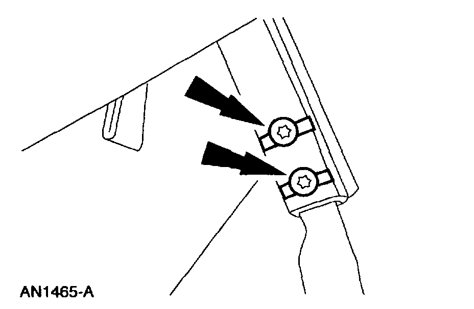
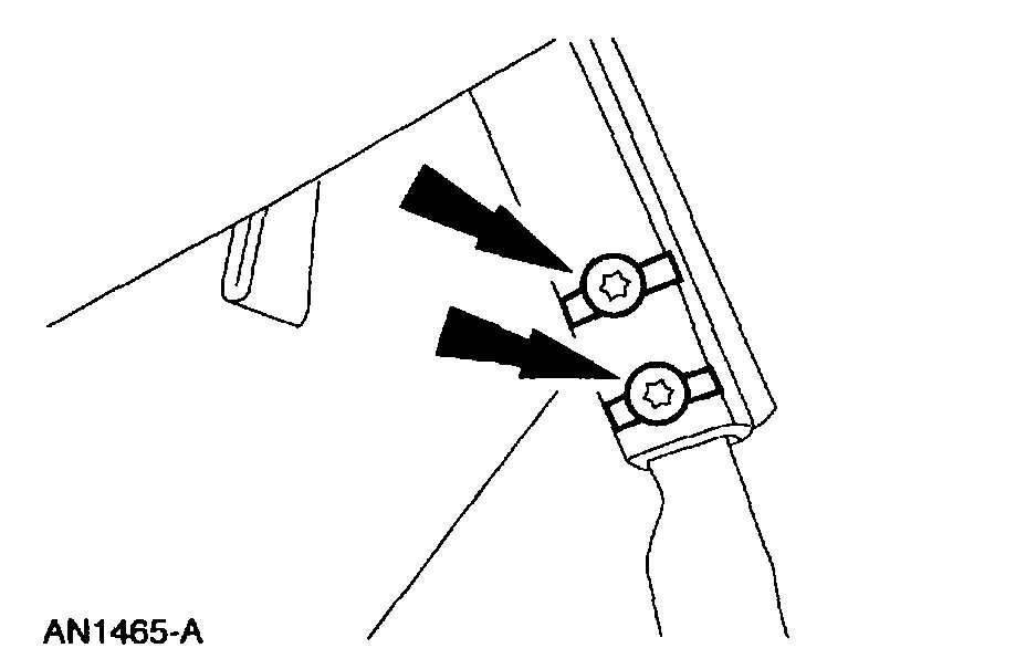
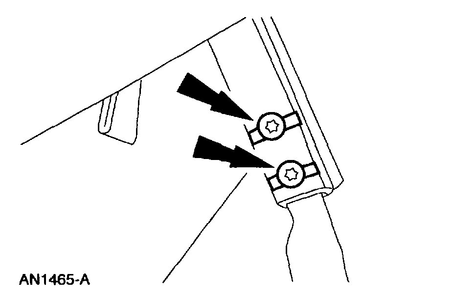
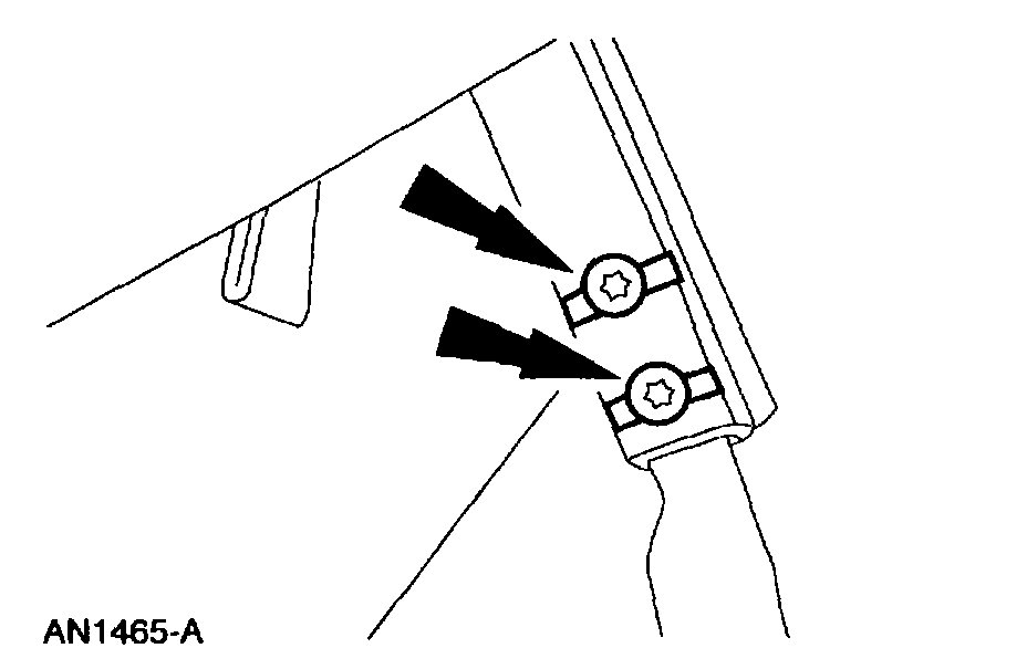
4. Remove the two cylinder rod mounting bolts.



picture 4



5. Remove the cylinder rod mounting nut.



picture 5



6. Remove the screw and disconnect the two electrical connectors.



picture 6



7. Remove the screw.
8. Remove the speaker.



picture 7



9. Remove the screws and the front seal.



picture 8



10. Remove the rail seals.



picture 9



11. Remove the rail seal retainers.



picture 10



12. Remove the headliner pin-type retainers.



picture 11



13. Remove the headliner screws.



picture 12



14. Remove the speed nut.



picture 13



15. Measure the gap between the front of the side rail and the header. Record the figure and the position of the folding top.



picture 14



16. Separate the vinyl top cover flap from the rear rail.



picture 15



17. Disconnect the side tension cable from the rear rail.



picture 16



18. Remove the two bolts.



picture 17



19. Loosen the bolt, but do not remove it.
20. Position the folding top in the full up position.

NOTE: Do not latch the folding top after re-positioning.



picture 18



21. Disconnect the number two and number three bows from the side rail assembly.


picture 19



22. Remove the screws.

NOTE: Mark the centerline locations for the number four bow screws.



picture 20



23. Disconnect the mounting bracket.
1 Loosen the bottom bolt.
2 Remove the upper bolt.



picture 21



24. Remove the side rail.
1 Remove the two bolts.
2 Loosen the bolt.

INSTALLATION



picture 22



1. Position the side rail and install the bolts.



picture 23



2. Connect the mounting bracket and install the bolts.

NOTE: Tighten the bottom bolt first.


picture 24


3. Tighten the bolt.

NOTE: Line up the marks in the number four bow.



picture 25



4. Connect the number two and number three bows to the side rail assembly.



picture 26



5. Tighten the bolt.



picture 27



6. Hand-tighten the two bolts.



picture 28



7. Adjust the gap between the front of the side rail and the header to the previously recorded dimensions.



picture 29



8. Tighten the bolts.



picture 30



9. Connect the cable to the rear rail.



picture 31



10. Attach the vinyl top cover flap to the rear rail.



picture 32



11. Install the speed nut.



picture 33



12. Install the headliner screws.



picture 34



13. Attach the headliner pin-type retainers.



picture 35



14. Install the rail seal screws.



picture 36



15. Install the rail seals.



picture 37



16. Install the screws and the front seal.
17. Install the speaker.



picture 38



18. Install the screw.



picture 39



19. Install the screw and connect the electrical connectors.



picture 40



20. Position the cylinders and install the nuts.



picture 41



21. install the two cylinder rod mounting bolts.



picture 42



22. Install the front safety belt retractor.



picture 43



23. Install the bolts.
24. Install the side quarter trim panel.

______________________

Let me know if I can help.

Take care,
Joe
Apr 13, 2019 at 8:16 PM